آیفون‌های آینده احتمالا توانایی عکاسی پلنوپتیک را خواهند داشت

یک‌شنبه 17 فروردین 1399 - 18:15
مطالعه 5 دقیقه
پتنت جدید اپل نشان می‌دهد احتمالا این شرکت قصد دارد در آیفون‌ها و آیپدهای آینده به استفاده از عکاسی لایت‌فیلد یا پلنوپتیک روی آورد. عکاسی لایت‌فیلد چیست و چه تفاوتی با عکاسی معمولی دارد؟
تبلیغات

فناوری لایت‌فیلد (Light-Field) که از آن با نام پلِنوپتیک (Plenoptic) هم یاد می‌شود، فناوری تازه‌ای به‌شمار نمی‌آید؛ اما هنوز به‌صورت گسترده از آن بهره گرفته نشده است. در این نوع فناوری، با اتکا به دوربین‌هایی خاص با نام دوربین لایت‌فیلد یا دوربین پلنوپتیک، اطلاعاتی درباره‌ی میدان نوری هر صحنه جمع‌آوری می‌شود. اطلاعات یادشده شاملِ ثبت شدت نور در یک صحنه و همچنین مسیری است که پرتوهای نور در فضا طی می‌کنند. این موضوع باعث می‌شود دوربین‌های پلنوپتیک قدرتمند از دوربین‌های معمولی امروزی نظیر DSLR‌ها باشند؛ زیرا دوربین‌های معمولی فقط می‌توانند شدت نور را ثبت کنند. 

نوعی از دوربین‌های پلنوپتیک به مجموعه‌ای از میکرولنز مجهز می‌شود که به‌شکلی متفاوت در روبه‌روی حسگر تصویر جای گرفته‌اند. این میکرولنزها می‌توانند شدت و رنگ و جهت حرکت پرتوهای نور را به‌خوبی تشخیص دهند. ناگفته نماند هولوگرام نوعی تصویر لایت‌فیلد مبتنی‌بر فیلم محسوب می‌شود. 

لایترو یکی از شرکت‌هایی است که توانسته دوربین‌هایی لایت‌فیلد تولید کند. یکی از دوربین‌های معروف این شرکت، یعنی Lytro Illum، با هدف ارائه‌ی تجربه‌ای جدید در حوزه‌ی عکاسی تولید شده است. لایترو از تصاویر ثبت‌شده‌ی دوربین ایلیوم به‌عنوان «تصاویر زنده» یاد می‌کند؛ تصاویری که به‌دلیل همکاری حسگر و لنز دوربین با نرم‌افزار‌های گرافیکی ویژه ثبت می‌شود. ناگفته نماند گوگل در سال ۲۰۱۸ از تصاحب لایترو خبر داده بود. مهم‌ترین نکته درباره‌ی تصاویر زنده این است که می‌توان با آن‌ها تعامل برقرار کرد. ازآنجاکه دوربین می‌تواند تصاویر هر صحنه را با اطلاعاتی نظیر شدت و رنگ پرتوهای نور ثبت کند، کاربر می‌تواند تنظیماتی نظیر فوکوس روی جاهای مختلف را پس از ذخیره‌شدن تصاویر، روی آن‌ها اعمال کند. 

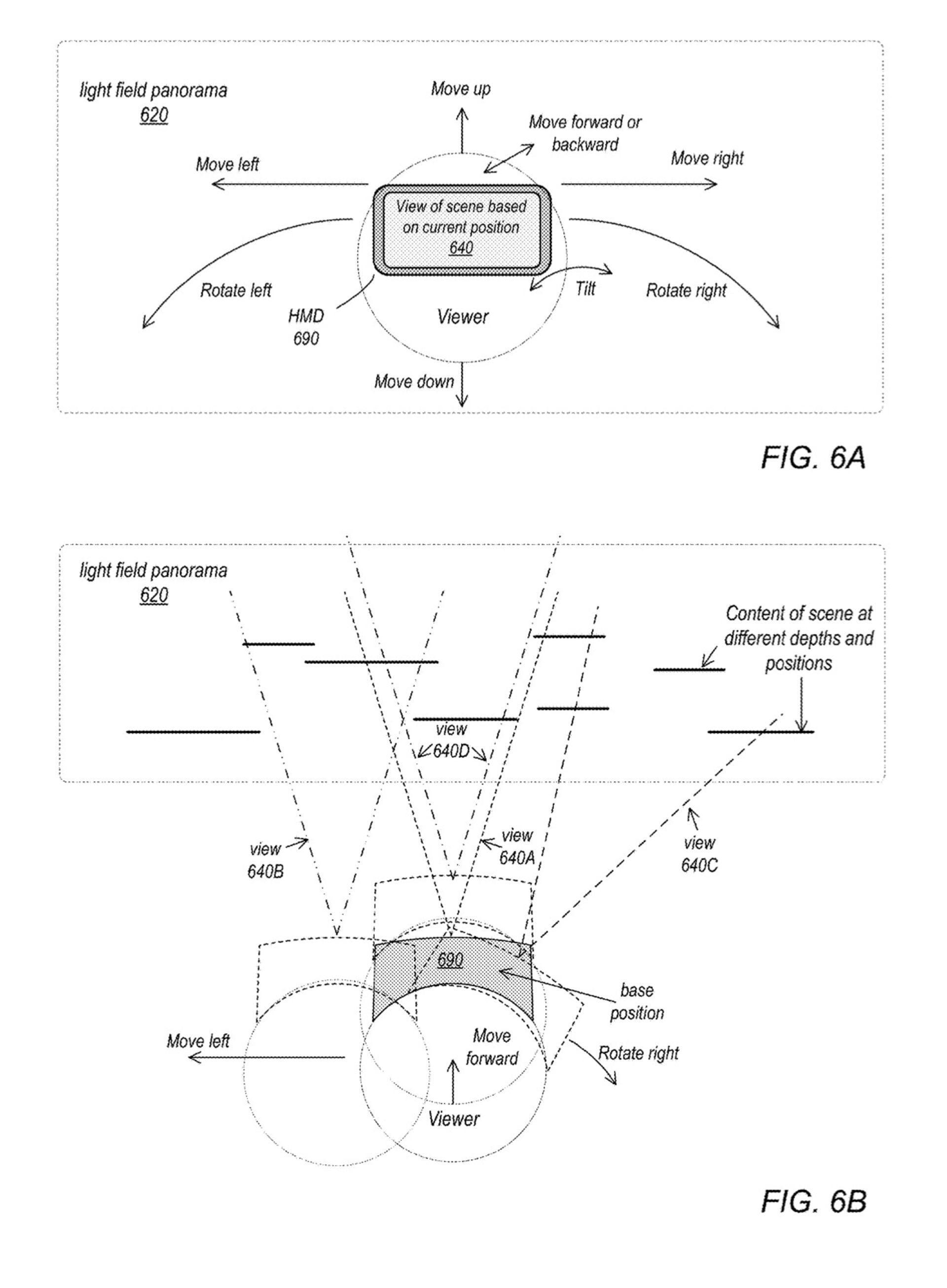
به‌تازگی، پتنت جدیدی از اپل پیدا شده است که تاریخ ثبتش به سپتامبر ۲۰۱۹ برمی‌گردد. در این پتنت، سیستم دوربینی می‌بینیم که می‌تواند تصاویر پانورامای لایت‌فیلد را ثبت کند. این دوربین احتمالا اکنون مراحل آغازین تولید را می‌گذارند و در سال‌های آتی، استفاده از آن در آیفون‌ها و آیپدها را شاهد خواهیم بود. فناوری لایت‌فیلد به کاربران امکان خواهد داد با حرکت‌دادن دستگاهشان به‌شیوه‌ای خاص، تصاویر پانورامای لایت‌فیلد دلخواهشان را از صحنه‌ها ثبت کنند. تصویری که درنتیجه‌ی عملکرد دوربین ثبت می‌شود، می‌توان روی خود دستگاه یا نمایشگرهای سربند (موسوم‌ به HMD مخفف Head-Mounted Display) نظیر هدست‌های واقعیت مجازی (VR) مشاهده کرد. 

براساس گزارش Patently Apple، فناوری جدیدی که اپل روی آن کار می‌کند، در راستای تلاش‌های این شرکت برای بهره‌برداریِ حداکثری از واقعیت افزوده استفاده خواهد شد. به‌لطف فناوری یادشده، کاربران آیفون‌های اپل خواهند توانست از صحنه‌های مختلف تصاویری سه‌بعدی و به‌اصطلاح زنده ثبت کنند. به‌منظور ثبت این نوع تصاویر، کاربر ملزم خواهد شد دستگاهش را به‌شکلی خاص در فضا حرکت دهد؛ مثلا مسیری مانند نماد بی‌نهایت (∞). حرکت‌دادن دستگاه در جهت‌های مختلف باعث می‌شود دوربین بتواند از زوایای مختلف تصاویر لایت‌فیلد از صحنه را ثبت کند.

پتنت اپل / Apple Patent

در پتنت فاش‌شده از اپل، فلوچارت بالا به‌نمایش درآمده است. در این فلوچارت، می‌توانید به‌وضوح فرایند ثبت و پردازش عکس و نتیجه‌ی نهایی را ببینید.

در دستگاه‌های مجهز به دوربین پلنوپتیک از نوعی موتور رندرسازی خاص استفاده خواهد شد. این موتور رندرسازی با اتکا بر فناوری لایت‌فیلد خواهد توانست تصاویر متعددی که دوربین ثبت می‌کند، به‌نوعی پانورامای سه‌بعدی با ۶ درجه آزادی (6DOF) تبدیل کند. درنتیجه‌ی، این امکان برای بیننده فراهم خواهد شد که قسمت بالا یا حتی پشت اشیای مختلف را ببیند و بخش‌هایی از صحنه را برای دیدن جزئیات آن‌ها بزرگ‌نمایی کند و صحنه را از زاویه‌های مختلف ببینید. دقیقا به‌همین‌دلیل، از تصاویر ثبت‌شده‌ی فناوری پلنوپتیک به‌عنوان تصویر زنده یاد می‌شود؛ چون همان‌طورکه اشاره کردیم، امکان برقراری تعامل با این تصاویر وجود دارد. امکان انجام این کارها به‌دلیل ثبت داده‌های دقیق از نورپردازی صحنه ازطریق دوربین فراهم می‌شود. 

پتنت منتشرشده ادعا می‌کند سیستم جدید اپل ممکن است از حسگر به‌کاررفته در آیفون‌ها و آیپدها برای ثبت موقعیت و جنبش و دیگر کلان‌داده‌های مشابه درکنار خود تصویر اصلی بهره ببرد. ترکیب عکس اصلی با کلان‌داده‌های یادشده درنهایت به خلق تصویری پلنوپتیک به‌صورت پانوراما ختم خواهد شد. همچنین، بعدا می‌توان از ترکیب تصاویر و کلان‌داده‌های ثبت‌شده برای آن‌ها به‌منظور رندرکردن همان تصاویر از زاویه‌هایی دیگر به‌شکل سه‌بعدی استفاده کرد؛ موضوعی که باعث می‌شود ۶ درجه آزادی دراختیار کاربر قرار گیرد تا او بتواند با استفاده از دستگاه‌هایی نظیر هدست‌های VR به‌راحتی صحنه‌های سه‌بعدی مختلف را مشاهده کند.

پتنت اپل / Apple Patent

تصاویر پانورامای لایت‌فیلد تفاوت‌های بسیار عمده‌ای با تصاویر پانورامای ۳۶۰ درجه‌ی سنتی خواهند داشت. تصاویر پانورامای معمولی از یک نقطه ثبت می‌شوند؛ یعنی کاربر در تصویر سه‌بعدیِ رندرشده، تنها خواهد توانست سرش را در یک نوع محیط رندرشده به‌ اطرف تکان دهد و همه‌چیز را در یک نقطه و از یک زاویه مشاهده کند. با‌این‌حال، پانوراماهای لایت‌فیلد واقع‌گرایانه‌تر و جذاب‌تر هستند. در این نوع تصاویر، حتی اگر کاربر سرش را تکان دهد، اشیای مختلف در جای درست خود باقی خواهند ماند؛ بنابراین، امکان مشاهده‌ی اشیاء از زوایای مختلف فراهم خواهد شد. 

در چند سال اخیر، اپل نشان داده است اهمیت زیادی برای فناوری واقعیت افزوده قائل است و قصد دارد ازطریق آن، تجربه‌ی کاربری محصولاتش را بهبود بخشد. جدیدترین نسل از تبلت‌های پرچم‌دار این شرکت، یعنی آیپد پرو ۲۰۲۰، به اسکنر لیزر سه‌بعدی موسوم به LiDAR مجهز شده است که مزیت‌های متعددی درزمینه‌ی واقعیت افزوده به‌ارمغان می‌آورد. 

پتنت اپل / Apple Patent

تصویر بالا، نمونه‌هایی از ژست‌های حرکتی را نشان می‌دهد. کاربر برای ثبت تصاویر لایت‌فیلد احتمالا مجبور خواهد شد دستگاهش را در مسیرهای ترسیم‌شده‌ی بالا به‌حرکت درآورد.

اپل هنگام معرفی رسمی تبلت آیپد پرو ۲۰۲۰ در اواخر اسفند سال گذشته، مدعی شد حسگر LiDAR قابلیت‌هایی انقلابی درزمینه‌ی تشخیص عمق صحنه‌ها به آیپد پرو می‌آورد. این حسگر به‌صورت ویژه روی فناوری واقعیت افزوده متمرکز است و می‌تواند با دقت بسیار زیاد محیط را اسکن کند. از حسگر LiDAR همچنین برای ثبت بهتر جلوه‌ی بوکه روی تصاویر استفاده می‌شود. این حسگر  با اندازه‌گیری فاصله‌ی اشیائی کار می‌کند که حداکثر ۵ متر دور هستند.

با درنظرگرفتن تمایل زیاد اپل به فناوری واقعیت افزوده و تمرکز همیشگی روی ارائه‌ی قابلیت‌های متنوع عکاسی، تعجب نخواهیم کرد اگر این شرکت در محصولات آینده به‌سراغ بهره‌گیری از فناوری لایت‌فیلد به‌منظور ثبت تصاویر زنده برود. پتنت جدید اپل در حالی منتشر می‌شود که از مدت‌ها پیش شاهد انتشار شایعاتی درباره‌ی کارکردن این شرکت روی تجهیزات واقعیت مجازی و واقعیت افزوده بوده‌ایم. فراموش نکنید ثبت پتنت به این معنی نیست که اپل به‌طورقطعی سراغ چنین فناوری می‌رود؛ زیرا پتنت‌های بسیاری بوده‌اند که هیچ‌گاه به دنیای واقعی راه پیدا نکرده‌اند. بنابراین، تا زمانی‌که اپل رسما واکنش نشان ندهد، اطلاعات یادشده ه در حد شایعه باقی می‌مانند.

دیدگاه شما کاربران زومیت درباره‌ی احتمال بهره‌گرفتن اپل از فناوری لایت‌فیلد چیست؟

نظرات