اپل واچ دوربین‌دار یک قدم به واقعیت نزدیک‌تر شد!

یک‌شنبه 23 بهمن 1401 - 17:30
مطالعه 4 دقیقه
نمایش تقویم فارسی در واچ اولترا
اپل پتنت‌های مختلفی برای افزودن دوربین به اپل واچ ثبت کرده است که هنوز هیچ‌کدام از آن‌ها در مرحله اجرایی قرار ندارند.
تبلیغات

پتنت‌ها با اینکه تضمین محکمی برای نشان‌دادن محصولات در حال تولید به‌شمار نمی‌روند، همچنان سرنخ‌هایی برای یافتن مسیر فکری یک شرکت به‌حساب می‌آیند. طبق خبرهای منتشر‌شده، به‌تازگی پتنت جدید دیگری برای دوربین در اپل واچ ثبت شده است. شاید اپل هنوز دوربین را به اپل واچ اضافه نکرده باشد؛ اما این موضوع بدان‌معنی نیست که به این ایده فکر نمی‌کند.

ثبت پتنت به‌دست شرکت‌ها تضمینی برای تولید آن نیست و فقط می‌تواند به‌عنوان صدای بلند افکار آن در نظر گرفته شود. ورج گزارش می‌کند که در هفته‌ی گذشته اپل پتنتی با شماره ثبت US-11571048-B1 برای مکانیزم بازکردن بند اپل واچ ثبت کرد که می‌تواند به دوربین داخلی مجهز شود.

این ایده به‌نوبه‌ی خود عالی به‌نظر می‌رسد؛ اما پتنت جدید سومین ایده درباره‌ی پتنت‌های مرتبط با دوربین در اپل واچ است که در سال‌های اخیر ثبت شده است. ظاهراً نسخه‌ی اولیه‌ای از این پتنت در سال ۲۰۱۹ ثبت شده بود و این نشان می‌دهد که در چند سال اخیر، مهندسان اپل دغدغه‌ی گنجاندن دوربین در اپل واچ را در سر می‌پرورانند و طرح های مختلفی از آن را در ذهن پرورش می‌دهند.

اولین‌بار وب‌سایت Patently Apple بخش خلاصه و توضیحات پتنت بند جدیدی برای اپل واچ را مشاهده کرد که ایده‌ی آن ایجاد راه سریع و ارگونومیکی برای جداکردن واچ از بند بود و در جزئیات آن یک بند با دو مقطع و بخش قرارگیری واچ را نشان می‌داد.

این طراحی می‌تواند راه‌های جدیدی برای استفاده از اپل واچ ایجاد کند که کاربری آن دیگر به مچ دست محدود نباشد و بتوان از آن برای عکاسی کمک گرفت. در تصویر ۳، پتنت نشان می‌دهد که شخصی واچ را در حالت بدون بند برای عکس‌برداری در دست نگه داشته است.

طرح پتنت دوربین اپل واچ در دست
تصویر ۳. پتنت دوربین اپل واچ: عکس‌برداری با اپل واچ خارج‌ از بند

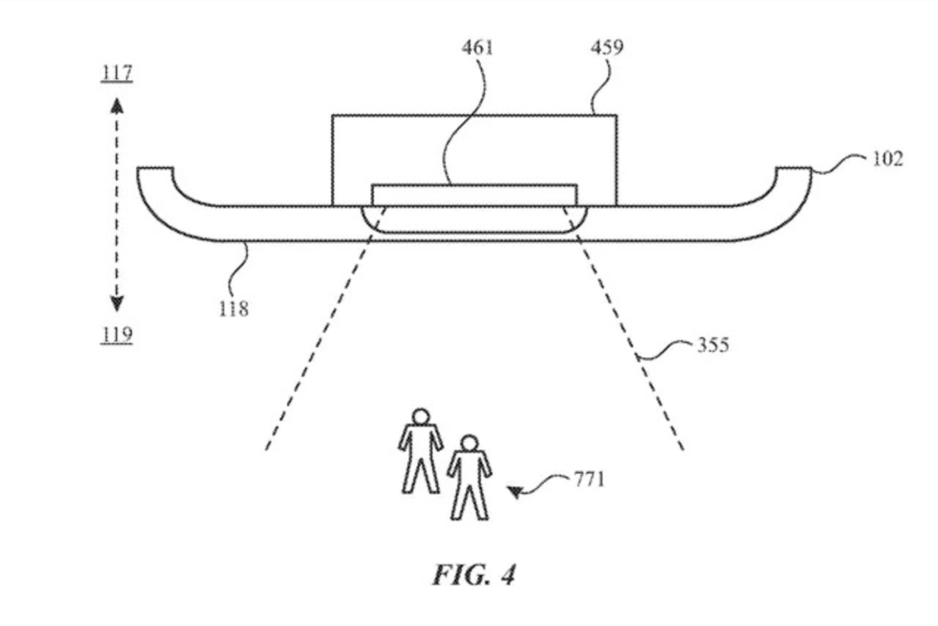
سپس، در تصویر ۴ می‌توان برش سطح مقطع اپل واچ با دوربین داخلی در پشت بدنه و زاویه‌ی دید آن را مشاهده کرد.

برش سطح مقطع محل قرارگیری اپل واچ در بند و دوربین
تصویر ۴. سطح مقطع اپل واچ که دوربین روبه‌پایین در پشت بدنه و میدان دید آن را نشان می‌دهد.

البته همان‌طور‌که اشاره کردیم، این اولین پتنت اپل برای دوربین اپل واچ نبوده است؛ زیرا سال گذشته نیز اپل پتنتی با عنوان «ساعت دوربین‌دار» ثبت کرد. در این پتنت، سناریویی مطرح می‌شود که دوربین در Digital Crown (دکمه‌ی فیزیکی چرخان روی اپل واچ) قرار می‌گیرد و یکی از طرح‌های آن دقیقاً مشابه تصویر شماره ۳ در بالا است.

دکمه دیجیتال کرون اپل واچ اولترا / Apple Watch Ultra Digital Crown

در سال ۲۰۱۹، اپل برنده‌ی پتنتی برای دوربینی با قابلیت چرخش شد که درون بند قرار می‌گرفت. بد نیست بدانید که در‌حال‌حاضر لوازم جانبی با نام Wristcam وجود دارد که شرکت دیگری غیر از اپل آن‌ها را تولید می‌کند و کاربردی مشابه با پتنت اپل دارد.

مشخص است که این ایده‌ای بود که شخصی در اپل حسابی به آن فکر کرده است و دلایل موجهی وجود دارد که چرا مشتری دوربین ساعت هوشمند بخواهد. یکی از جذابیت‌های بزرگ اپل واچ این است که باعث می‌شود کاربران گوشی آیفون زمان کمتری را با گوشی سپری کنند؛ حتی گاهی اوقات گوشی خود را در زمان رفتن به پیاده‌روی و دویدن و ورزش‌کردن همراه خود نبرند. بااین‌حال، امکان ندارد بیرون باشید و سوژه‌ای نظر شما را جلب نکند که بخواهید از آن عکس بیندازید و بدون گوشی نمی‌توانید عکس‌برداری کنید.

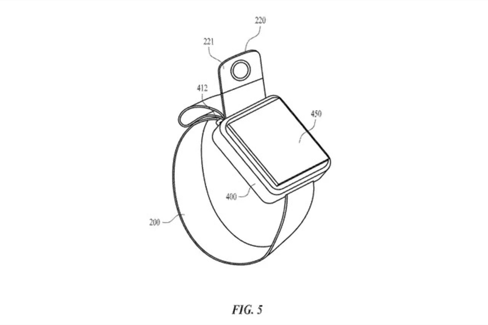
طرح پتنت دوربین اپل واچ روی بند
تصویر ۵. این پتنت دوربین قابل‌چرخش روی بند اپل واچ را نشان می‌دهد.

جدا از میزان خطری که عکس‌برداری با اپل واچ خارج‌ از بند دارد، محدودیت‌های فناورانه ازجمله اندازه و باتری و شارژدهی آن نیز سد راه افزودن دوربین به اپل واچ هستند. همچنین، همان‌طور‌که گوگل گلس ثابت کرد، تصور اینکه فردی بدون هماهنگی با شما می‌تواند عکس‌برداری کند، شرایط نامناسبی را ایجاد می‌کند و کسی با این موضوع نمی‌تواند راحت باشد. پیش‌ازاین، شایعه شده بود که شرکت متا قبلاً ایده‌ای داشته است تا روی ساعت هوشمند نه یک دوربین، بلکه دو دوربین تعبیه کند.

درهر‌صورت، همچنان شرکت‌های بزرگ فناوری با جدیت پتنت ثبت می‌کنند که تضمینی برای تولید نیست. شاید اپل نیز برای مدت طولانی روی ایده‌ی دوربین اپل واچ کار کرده باشد و درنهایت، تصمیم گرفته است که ایده‌ی کارآمدی نیست؛ اما همچنان این احتمال وجود دارد که راه‌حلی برای گنجاندن دوربین در اپل واچ پیدا شود. شاید حتی افزایش اندازه‌ی بدنه‌ی اپل واچ اولترا شروعی برای استفاده از فضای بیشتر برای نصب دوربین در آینده باشد؛ بنابراین، باید منتظر ماند و دید که طراحی‌های نوآورانه در‌ این‌ زمینه در آینده چگونه ظاهر می‌شوند.

دیدگاه شما کاربران زومیت درباره‌ی افزودن دوربین به اپل واچ چیست؟

تبلیغات
تبلیغات

نظرات