پتنت جدید اپل: اپل واچ شما را در مقابل اشعه‌ مضر خورشید محافظت می‌کند

چهارشنبه 30 آبان 1397 - 09:11
مطالعه 4 دقیقه
پتنت جدید اپل حاکی از آن است که اپل‌واچ می‌تواند با پایش اشعه‌ی UV، کاربران را دربرابر خطرها ناشی از آفتاب‌سوختگی محافظت کند.
تبلیغات

اپل‌واچ ‌می‌تواند به کاربران کمک کند تا از خطر آفتاب‌سوختگی، پیری زودرس پوست و حتی سرطان پوست در امان باشند. در صورتی که کاربران بیش از حد درمعرض اشعه‌‌ی مضر خورشید از جمله ماوراء بنفش قرار گرفته باشند، پتنت جدید اپل به آن‌ها هشدار می‌دهد.

قرار گرفتن بیش از حد درمعرض اشعه‌ی ماوراء بنفش، می‌تواند تأثیرات جدی بر سلامت کاربر داشته باشد. برخی تأثیرات اشعه‌ی ماورا بنفش از بقیه‌ی اثرات آن جدی‌تر است. کاربرانی که حمام آفتاب می‌گیرند ولی به‌اندازه‌ی کافی از پوست خود محافظت نمی‌کنند، یا مدت زمان طولانی درمعرض نور خورشید قرار دارند؛ بیش از بقیه‌ی افراد درمعرض خطرها ناشی از آفتاب سوختگی از جمله سرطان پوست قرار دارند. تأثیر اشعه‌ی UV می‌تواند منجر به بروز آسیب‌‌های مختلفی به پوست از جمله تخریب خاصیت الاستیکی پوست و از بین رفتن بافت کلاژن و تغییر رنگ در آن شود.

پتنت اپل

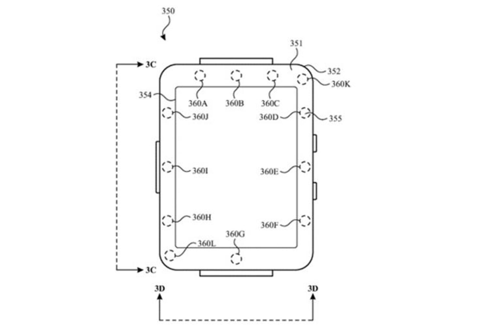
با توجه به خطرها ذکرشده ناشی از ماندن بیش از حد درمعرض اشعه‌ی خورشید، اپل معتقد است تشخیص اینکه آیا کاربر خارج از منزل است و همچنین اینکه کاربر چه مدت زمانی در بیرون منزل درمعرض اشعه‌ی UV قرار دارد، حائز اهمیت است. روز سه‌شنبه، پتنت جدیدی در اداره ثبت اختراع و علائم تجاری ایالات متحده، با عنوان دوزیمتری اشعه‌ی UV و هشدار قرار گرفتن درمعرض آن ثبت شد. این پتنت سیستمی را توصیف می‌کند که در آن حسگرهایی تعبیه شده است که می‌توانند اشعه‌ی UV را تشخیص دهند و مدت زمانی را که کاربر درمعرض آن قرار می‌گیرد مشخص می‌کند. درنهایت سیستم می‌تواند به کاربر هشدار دهد که بیش از حد درمعرض اشعه‌ی مضر خورشید قرار گرفته است. علاوه‌براین، چنین سیستمی می‌تواند راهکارها و اقدامات پیشگیرانه‌ای به کاربری که بیش از حد درمعرض نور خورشید قرار گرفته است، پیشنهاد بدهد.

درحالی‌که اپل، به استفاده از یک دستگاه اشاره می‌کند؛ تصاویر ارائه‌شده برای پتنت حاکی از آن است که این سیستم بخشی از اپل‌واچ خواهد بود. البته منطقی است که اپل بخواهد این سیستم را در اپل‌واچ پیاده‌سازی کند که دستگاهی همراه کاربر است و معمولاً درمعرض نور قرار می‌گیرد و درنتیجه برای پایش اشعه‌ی مضر خورشید مناسب است.

براساس اطلاعات ثبت‌شده در پتنت اپل، دستگاه مورد نظر شامل تعدادی سنسور UV است که می‌تواند بیرون بودن کاربر را تشخیص دهد و درنتیجه، مدت زمانی که کاربر درمعرض اشعه‌ی خورشید قرار گرفته است را پایش کند. داده‌های سنسورها تجزیه‌وتحلیل می‌شوند و کل زمان قرارگرفتن کاربر درمعرض نور خورشید مشخص می‌شود و با توجه به میزان اشعه‌ی ماوراء بنفش که کاربر را درمعرض آن قرار دارد، توصیه‌هایی به وی ارائه خواهد شد.

پتنت اپل

همچنین، این سیستم می‌تواند توسط حسگرهای دیگری از جمله حسگر نور محیطی و حسگر مادون قرمز تقویت شود. در چنین وضعیتی، سیستم قادر است اطلاعات دقیق‌تری در مورد میزان اشعه‌ی خورشید که کاربر درمعرض آن قرار دارد یا مدت زمانی که کاربر در خارج از منزل یا در محیط‌های داخلی، و در اصل درمعرض منابع متفاوت نور قرار دارد، ارائه دهد که بر نتیجه‌ی کلی گزارش تأثیرگذار است.

به‌منظور افزایش کیفیت نتایج، اپل‌واچ می‌تواند از شاخص اطلاعات مربوط به اشعه‌ی UV برای ساعات مختلف روز، به‌استناد گزارش‌های هواشناسی و بدون درنظر گرفتن موقعیت مکانی استفاده کند. با توجه به اینکه این شاخص‌ها در ساعات مختلف روز تغییر می‌کند، ساعت‌هایی که اشعه‌ی UV بیشترین تأثیر مخرب را بر پوست ایجاد می‌کنند، به کاربر در قالب هشدار، اطلاع‌رسانی می‌شود. خصوصا اگر کاربر مدت زمان زیادی درمعرض نور خورشید قرار گرفته باشد، مجددا سیستم به وی هشدار می‌دهد.

اپل واچ سری 4

ازآنجاکه اپل، پتنت‌های مختلفی را به ثبت می‌‌رساند، ثبت پتنتی جدید به‌معنی اجرای آن نیست و تضمین نمی‌کند که قطعاً قصد دارد پتنت مربوطه را توسعه دهد و مشخص نیست آیا در محصول بعدی اپل شاهد چنین ویژگی‌هایی باشیم یا خیر. توانایی پایش میزان قرارگیری کاربر دربرابر اشعه‌ی UV در اپل‌واچ‌، توسعه‌ی قابل‌ملاحظه‌ای است. در حال حاضر اپل‌واچ سری ۴، ویژگی‌های خوبی در حوزه‌ی سلامت از جمله ردیابی تناسب اندام و ‌پایش ECG دراختیار کاربران قرار می‌دهند. پیش‌تر گفته شده بود که اپل واچ سری ۴ توانایی ثبت نوار قلب کاربر را دارد.

البته این اولین بار نیست که اپل راهکارهایی برای حفاظت کاربران دربرابر اشعه‌های مضر خورشید به ثبت می‌رساند؛ در ماه ژوئیه، پتنت دیگری تحت عنوان «تشخیص محافظتی مبتنی بر نور» به ثبت رسانده بود. این پتنت نشان می‌داد که چگونه دستگاه‌های اپل می‌توانند تشخیص دهند که استفاده از کرم‌های ضد آفتاب تا چه حد از کاربر محافظت می‌کند. این پتنت به کاربر توصیه ‌می‌کند که چه قسمت‌هایی از بدن نیاز به محافظت بیشتری دارند و بیشتر درمعرض نور خورشید قرار می‌گیرند و همچنین به کاربر توصیه می‌کند که در چه زمان‌هایی بیشتر نیاز به محافظت دربرابر اشعه‌ی مضر خورشید خواهد داشت.

نظرات