پتنت جدید اپل برای اپل پنسل شامل دوربین، میکروفون، حسگر بیومتریک و ژستهای کنترلی است
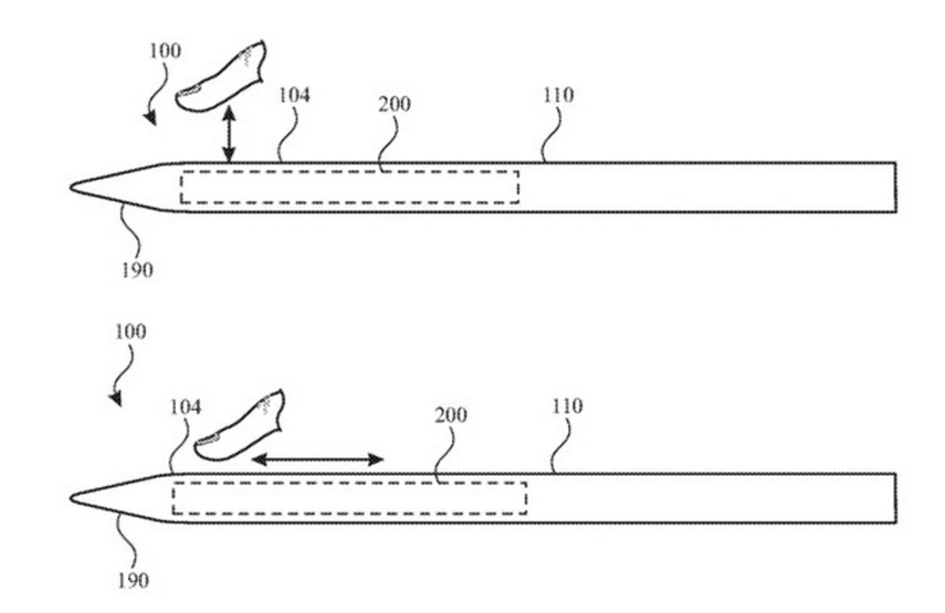
پتنتی که اپل در سازمان ثبت اختراع و علائم تجاری ایالات متحده تقاضای ثبت آن را دارد، شاید تصویر روشنتری دررابطهبا انتظار کاربران از قلم اپل (Apple Pencil) در آیندهی نزدیک فراهم کند. نام پتنت درخواستی، «ورودی مبتنیبر لمس برای قلم استایلوس» است و توضیح میدهد که چگونه میتوان حسگر لمسی نهچندان پیشرفتهای را در داخل قلم استایلوس با قابلیت دریافت ورودی لمسی تعبیه کرد. این حسگر قرار است در بخشی از قلم تعبیه شود که کاربر بهصورتعادی آن را لمس میکند.
در سند مربوطبه این پتنت، اپل میگوید کاربر میتواند حسگر لمسی را برای تشخیص ضربه، دو ضربه پشت سرهم، سه ضربه پشت سرهم یا ژستهای دیگر ضربهای بهکار گیرد. بهعنوان مثال هنگامیکه کاربر انگشتش را روی بدنهی قلم استایلوس میگذارد، این دستگاه میتواند ظرفیت خازنی القاشده در حسگر لمسی را تشخیص دهد. در مرحلهی بعد، کاربر متعاقبا میتواند انگشتش را بردارد و قلم استایلوس این توان را خواهد داشت تغییر در ظرفیت خازنی القاشده در حسگر لمسی را دوباره تشخیص دهد.
این روند تا چند لمس دیگر میتواند ادامه یابد. درواقع، قلم استایلوس توالی ورودیها را در بازهی زمانی معین بهعنوان ژست مربوطبه ضربات کاربر تعبیر میکند. یک یا چند ضربه روی قلم بهعنوان ورودیهای کاربر برای تغییر یک ویژگی خاص مانند رنگ، اندازه، ضخامت، عرض قلم در خروجی روی دستگاه خارجی (تبلت یا لپتاپ لمسی) تعبیر میشود یا درمثالیدیگر، یک یا چند ضربه روی قلم میتواند بهعنوان ورودیهای کاربر برای ایجاد اعمالی روی دستگاه خارجی، همچون عمل کپی، جایگذاری، لغو تغییرات (undo) و بازگرداندن تغییرات (redo) محسوب شود.
قلم استایلوس موردبحث میتواند از یک حسگر خازنی برای محافظت در مقابل ضربات ناخواسته استفاده کند و همچنین ژستهای متحرک را تشخیص دهد. این ژستهای متحرک به حرکت انگشت کاربر در گرداگرد قلم یا حرکت محفظهی قلم اشاره دارد. همچنین اپل خواسته در این پتنت تمامی موارد ممکنی را پوشش دهد که در یک قلم استایلوس قابل استفاده هستند. ازاینرو هرچه را که به فکرش رسیده، در درخواست مربوطه درج کرده است. از جملهی موارد ذکرشده در پتنت کوپرتینونشینها، دارا بودن یک یا چند پردازنده، یک حافظه، یک منبع تغذیه، یک یا چند حسگر، یک یا چند واسطهی ارتباطی، یک یا چند رابط داده، یک یا چند رابط برق، یک یا چند دستگاه ورودی و خروجی، اسپیکر، دستگاه ورودی دوّار، میکروفون، دکمهی خاموشوروشن، دکمهی حالت بیصدا، حسگر بیومتریک، دوربین ترکپد حساس به لمس یا فشار و مواردی اینچنینی است.
ممکن است اپل پنسل آینده، برای تأیید اطلاعات مربوطبه سرویس اپلپی (Apple Pay)، خرید داخل اپلکیشن اپاستور یا بهجهت بازکردن نرمافزارهای بانکی یا مالی خاصی در حین استفادهاز لوازمجانبی، مجهز به نوعی حسگر اثرانگشت شود. سوالی که مطرح میشود این است که آیا پس از شایعات نادرست منتشرشده، درخواست یادشده برای پتنت اپل در نهایت منجربه تعبیهی قلم اپل در گوشی آیفون خواهد شد؟ اکنون زمان آن فرا رسیده است تا اپل در نسخههایی از گوشی آیفون که انتظار میرود در سال ۲۰۲۰ میلادی معرفی شوند، پشتیبانی از قلم اپل پنسل را اضافه کند. لازم است تا یادآوری شود در ماه اوت سال گذشته، شرکت تولیدکنندهی کیس، Olixar، تصاویری را از قاب آیفون ۱۱ منتشر کرد که دارای محل مخصوص قرارگیری قلم اپل بودند. با این حال، اپل قلمی را برای مدلهای آیفون ۱۱ و آیفون ۱۱ پرو معرفی نکرد.
در طول سالها اپل پتنتهای مختلفی برای ویژگیهای اپل پنسل ثبت کرده است. موردی که اپل در سال ۲۰۱۸ بهثبت رسانده، استفاده از امواج فراصوت برای بهبود دقت قلم است. پتنت دیگری که پیشتر در سال ۲۰۱۵ میلادی بهثبت رسیده، بهرهگیری از فناوری بازخورد هپتیک برای شبیهسازی حس نوشتن روی کاغذ است. در همان بازهی زمانی، اپل پتنت دیگری را برای ثبت تصاویر و ویدئوها با استفادهاز حسگر تصویر تعبیهشده در نوک قلم اپل ثبت کرده است.
اگر اپل سرانجام تغییر عقیده دهد و اپل پنسل را برای آیفون نیز تولید کند، تصور غالب بر این است محصول یادشده تنها سازگار با مدلهای پرو بوده و احتمالا تنها به صورت لوازم جانبی جداگانه و با هزینهای مجزا در دسترس خواهد بود.