مایکروسافت سرفیس پرو را به صفحات خورشیدی مجهز می‌کند

سه‌شنبه 24 دی 1398 - 09:25
مطالعه 4 دقیقه
یافتن جایی برای شارژکردن لپ‌تاپ و تبلت و گوشی هوشمند همواره از مشکلات همه‌ی افراد است. مایکروسافت اختراعی ثبت کرده که این مشکل را برطرف می‌کند.
تبلیغات

مایکروسافت در اکتبر ۲۰۱۹ لپ‌تاپ سرفیس پرو ۷ را به خط‌تولید سرفیس پرو اضافه کرد. این نسخه از سرفیس پرو درمقایسه‌با نسخه‌‌ی قبلی تغییرات کوچکی کرده بود؛ در‌حالی‌که بسیاری گمان می‌بردند لپ‌تاپ مایکروسافت سرفیس پرو ۷ با تغییرات شگفت‌انگیزی روانه‌ی بازار می‌شود. در آن زمان، گزارش‌هایی وجود داشت که نشان می‌داد مایکروسافت در سال ۲۰۲۰ نسخه‌ی جدید سرفیس پرو را با طراحی جدید معرفی خواهد کرد. همچنین، ثبت اختراع جدید مایکروسافت این ایده را در ذهن تقویت می‌کرد که تیم سرفیس مایکروسافت تلاش می‌کند انقلابی در خط‌تولید سرفیس پرو ایجاد کند.

مایکروسافت پایه‌ی نگه‌دارنده‌ی مناسبی برای سرفیس پرو طراحی کرده و این پایه یکی از ویژگی‌های جالب این لپ‌تاپ است؛ اما مایکروسافت قصد دارد با قدم‌برداشتن در مسیر انرژی سبز، این ویژگی را به‌مرور تکمیل و تقویت کنند. مایکروسافت در سال ۲۰۱۸، اختراعی به‌نام «پوشش دارای چند پنل خورشیدی برای دستگاه‌های حمل‌‌شدنی» را ثبت و در سال ۲۰۲۰، آن را رسما اعلام کرد.

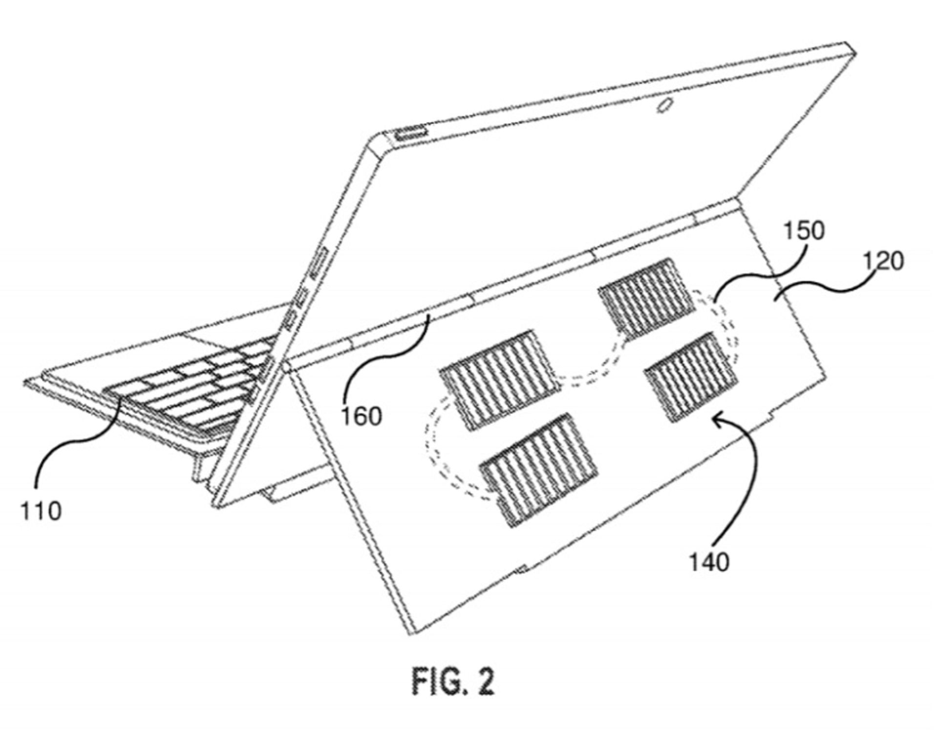
این اختراع درباره‌ی ایده‌ی قراردادن پنل‌های خورشیدی در پایه‌ی نگه‌دارنده‌ی سرفیس پرو ۸ است تا بتواند تضمین کند زمانی‌که دستگاه در حال جابه‌جایی است، انرژی موردنیاز آن به‌صورت ثابت تأمین خواهد شد.

در تصویر نمایش داده‌شده در توضیحات این اختراع، دستگاهی از خانواده‌ی سرفیس پرو نشان داده شده‌ که پوشش آن از پنل‌های خورشیدی پوشیده است و صفحه‌کلیدی نیز همراه آن وجود دارد. در این تصویر حداقل چهار پنل‌ خورشیدی در قسمت پشت پوشش قرار گرفته تا بتواند دستگاه را با استفاده از منابع نور مانند خورشید شارژ کند.

مایکروسافت گفته‌ است این پنل‌ خورشیدی می‌تواند علاوه‌بر خورشید با استفاده از هر منبع نور مصنوعی که در نزدیکی صفحه قرار می‌گیرد، دستگاه را شارژ کند. نکته‌ی جالب این است که پنل‌های خورشیدی روی دستگاه به‌گونه‌ای طراحی شده‌اند که حتی وقتی دستگاه در حال استفاده باشد، بازهم می‌تواند آن را شارژ کند. این در حالی است که به‌گفته‌ی مایکروسافت، در‌حال‌حاضر شارژرهایی در بازار وجود دارند که با پنل‌های خورشیدی کار می‌کنند؛ اما تنها درصورتی قابلیت شارژ دستگاه را دارند که دستگاه در حال استفاده نباشد. مایکروسافت در این اختراع تلاش کرده‌ است این محدویت را از بین ببرد.

1

براساس آنچه در متن این اختراع آمده‌ است، می‌توان به‌جای چهار پنل‌ خورشیدی، از تعداد بیشتری پنل‌ خورشیدی استفاده کرد. درضمن، پنل‌های خورشیدی استفاده‌شده در این دستگاه می‌تواند از بین انواع مختلف پنل‌های خورشیدی مانند پنل‌ خورشیدی مونوکریستالین و مولتی‌کریستالین انتخاب شود.

نکته‌ی مهم درباره‌ی اختراع جدید مایکروسافت این است که لولای پایه‌ی نگه‌دارنده به کاربر اجازه می‌دهد زاویه‌ی ایستادن آن را طوری تنظیم کند که بیشترین میزان نور ممکن به آن بتابد. بدین‌ترتیب نورخورشید یا نور مصنوعی ایجادشده می‌تواند به‌واسطه‌ی پنل‌های خورشیدی به انرژی لازم برای شارژ باتری دستگاه تبدیل شود. هنوز مشخص نیست ردموندی‌ها سرفیس پرو دارای پنل‌های خورشیدی را در سال ۲۰۲۰ به بازار ارائه خواهند کرد یا خیر.

مایکروسافت درباره‌ی این اختراع چنین گفته‌ است:

این اختراع پوششی برای دستگاه‌های حمل‌شدنی است که چند پنل خورشیدی و یک صفحه‌کلید متصل به آن دارد. این پنل‌های خورشیدی روی پایه‌ی نگه‌دارنده قرار گرفته‌اند و زاویه‌ی صفحه‌ای که پنل‌ها روی آن قرار دارند، قابل‌کردنی است تا حداکثر نور ایجادشده‌ی منبع نور به پنل‌ برسد.

این اختراع ایده‌ای را مطرح کرده‌ است که پیش‌از‌این مطرح نشده‌ بود. البته با اینکه ایده‌ی قراردهی پنل‌های خورشیدی در پایه‌ی نگه‌دارنده‌ بسیار جالب است، مایکروسافت برای اینکه بتواند این ایده را به واقعیت تبدیل کند، باید با مشکلات بسیاری دست‌وپنجه نرم کند.

نکته‌ی مهم دیگر درباره‌ی این اختراع استفاده از عبارت «دستگاه‌های حمل‌شدنی» در عنوان آن است.در طرح معرفی این اختراع از تصویر سرفیس پرو استفاده شده است؛ اما به‌نظر می‌رسد اگر مایکروسافت آن را تولید کند، احتمالا در دستگاه‌هایی غیر از سرفیس پرو هم از آن استفاده خواهد کرد. این شرکت در حال بازگشت به گردونه‌ی رقابت گوشی‌های هوشمند است و امسال با رونمایی سرفیس دوئو این موضوع را به‌صورت عمومی اعلام کرد؛ درنتیجه ممکن است مایکروسافت پنل‌های خورشیدی را علاوه‌بر سرفیس پرو در سرفیس دوئو یا حتی گوشی‌های هوشمند تولید شرکت‌های دیگر به‌کار برد. باید منتظر بود و دید مایکروسافت چگونه این اختراع را به‌عنوان عاملی برای بهبود بازار فروشش به‌کار می‌برد.

نظرات