تاچ بار در آیفون؟ اپل اختراعی بسیار عجیب ثبت کرد

پنج‌شنبه 24 اسفند 1402 - 14:30
مطالعه 2 دقیقه
اکشن باتن آیفون ۱۵ پرو و آیفون ۱۵ پرو مکس
اختراع جدید اپل خبر از قراردادن نمایشگر لمسی در لبه‌ی کناری گوشی یا تبلت نسل بعدی می‌دهد.
تبلیغات

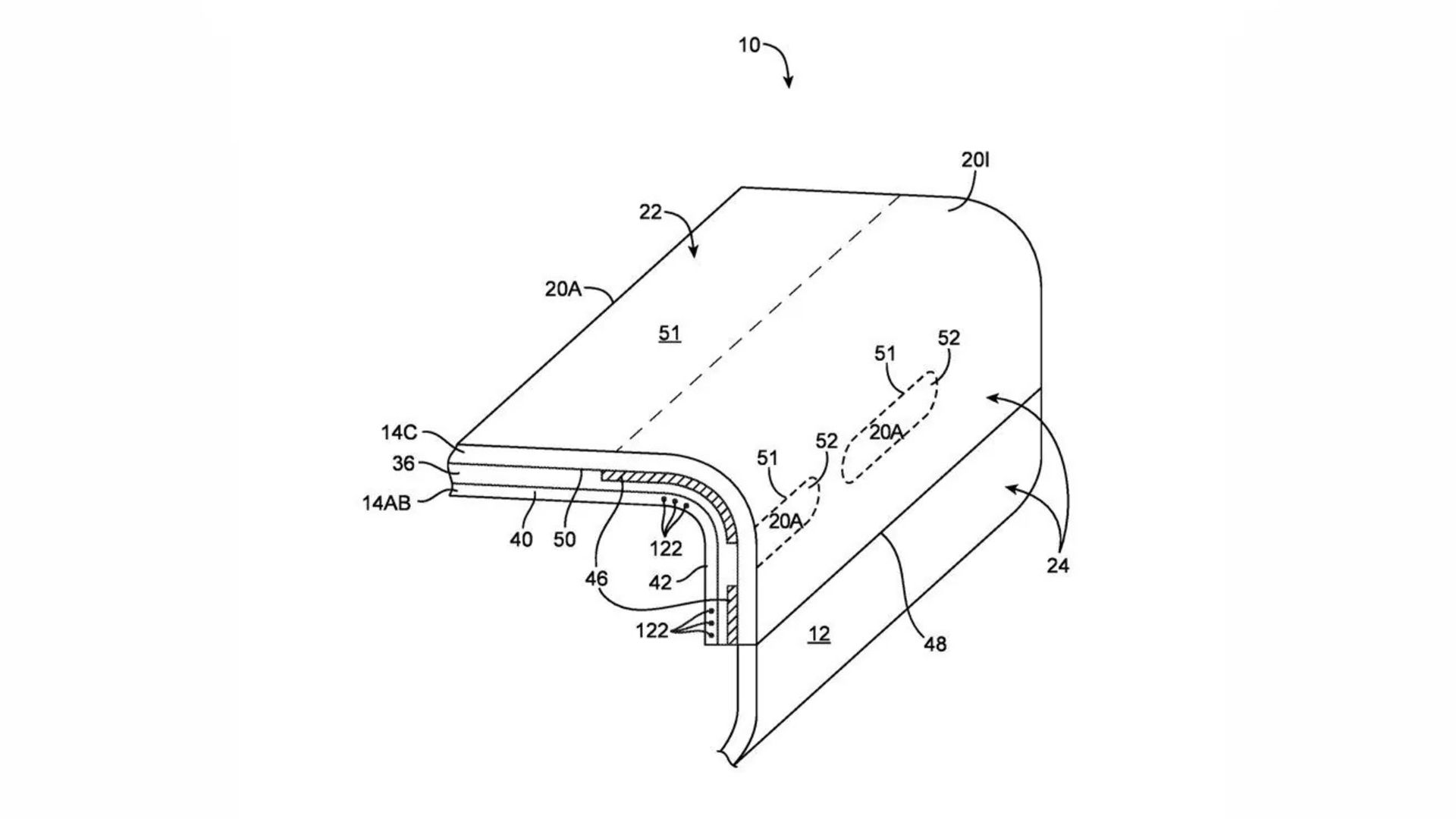
اپل پتنت جدیدی را برای طراحی نسبتاً عجیب آیفون و آیپد ثبت کرده که یک نمایشگر لمسی را در کنار دستگاه‌ نشان می‌دهد. این نمایشگر لمسی یادآور تاچ‌‌بار است که قبلاً در برخی مدل‌های مک بوک وجود داشت؛ اما احتمالاً در آیفون کاربردهای بیشتری برای آن درنظر گرفته می‌شود.

تصویر نمایشگر لمسی کناری یک دستگاه در پتنت اپل

طبق اطلاعات منتشرشده، نمایشگر لمسی کناری می‌تواند برای اهداف مختلفی مانند نمایش دکمه‌های کنترلی، رابط‌های کاربری، میزان شارژ باتری و وضعیت آب و هوا استفاده شود و حتی گزینه‌های کنترل اضافی را فراهم کند.

تصویر پتنت اپل برای نمایشگر لمسی کناری
تصویر پتنت اپل برای نمایشگر لمسی کناری

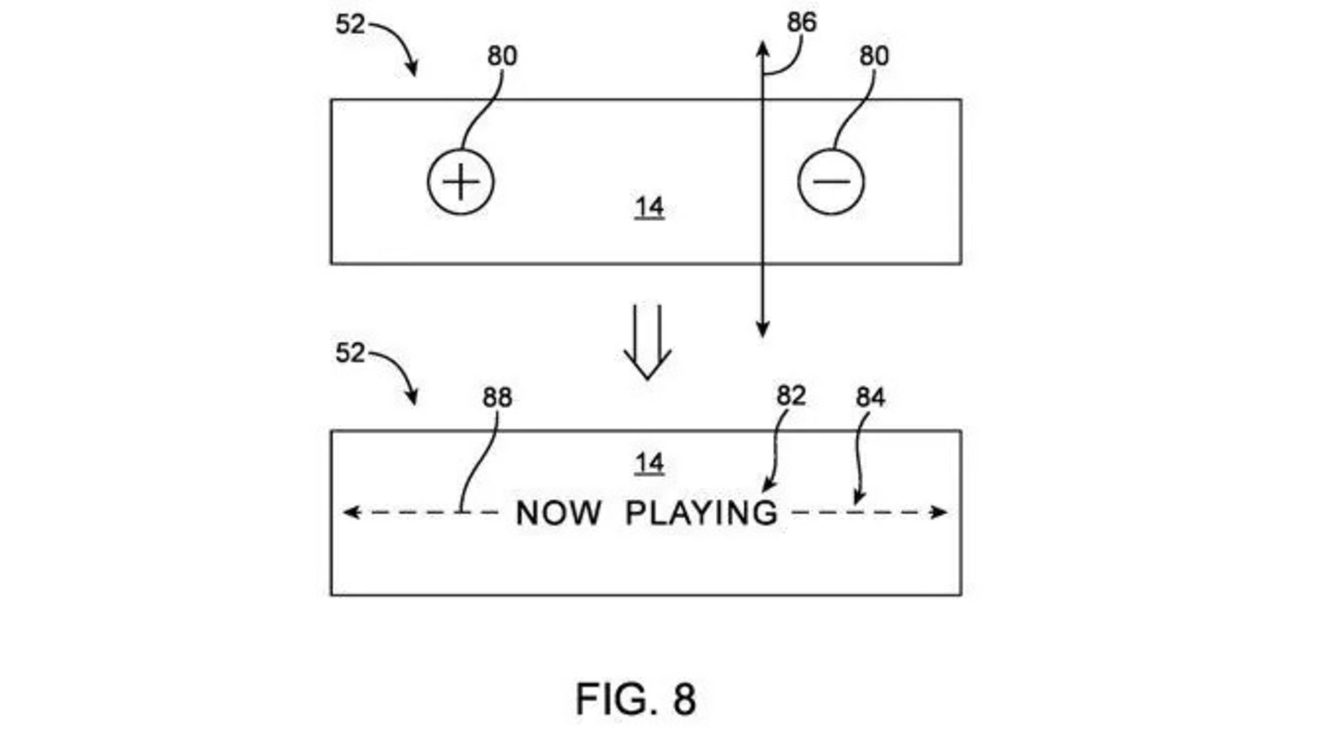
تصور کنید که با استفاده از نمایشگر کناری بتوانید حجم صدا را تنظیم یا آهنگ‌ها و موارد دیگر را انتخاب کنید؛ این روش، نیاز به فشردن دکمه‌های فیزیکی یا کار با صفحه‌نمایش اصلی گوشی را از بین می‌برد. بنابراین اپل احتمالاً به‌دنبال طراحی مینیمالیستی و ظریف‌تری است تا آن را در گوشی تاشدنی آینده‌‌اش به‌کار بگیرد.

تصویر نمایشگر لمسی کناری یک دستگاه خمیده در پتنت اپل

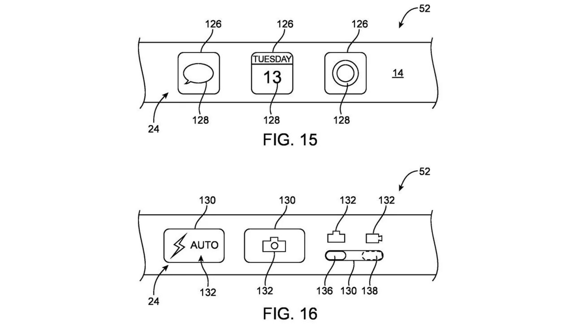
نمایشگر کناری مورد نظر اپل فقط به‌عنوان جایگزینی برای دکمه‌های فیزیکی معرفی نشده است، بلکه قابلیت شخصی‌سازی دارد و می‌تواند براساس هر کاری که درحال انجام است، تنظیم شود و دکمه‌های کنترلی مرتبط را نمایش دهد.

چنانچه اختراع جدید به گوشی‌ها یا تبلت‌های آینده‌ی کوپرتینویی‌ها وارد شود، نگرانی تازه‌ای برای کاربر ایجاد خواهد کرد؛ نگرانی از اینکه با سقوط دستگاه ممکن است نمایشگر کناری از کار بیفتد.

نظرات