آیفون‌ اپل شاید در آینده دکمه و اسلایدر نامرئی داشته باشد

یک‌شنبه 29 فروردین 1400 - 09:30
مطالعه 5 دقیقه
کلید پاور و کنترل صدای آیفون ۱۲ پرو مکس
اپل در پتنتی جدید به راهکاری برای نامرئی کردن کلیدهای کنترل‌کننده‌ی دستگاه اشاره می‌کند. احتمال دارد شرکت کوپرتینویی در آینده دکمه‌های صدا و پاور آیفون‌ را نامرئی کند.
تبلیغات

اپل در هر نسل جدید تلاش می‌کند دستگاه‌هایی بسازد که طراحی یکپارچه دارند و جذاب‌تر به نظر می‌رسند. آن‌طور که اپل اینسایدر می‌نویسد، شرکت کوپرتینویی قصد دارد اقداماتی در این زمینه انجام بدهد و آیفون را به کلیدهایی مجهز کند که در حالت عادی غیر قابل‌ رؤیت هستند؛ اما می‌توانید در هر زمان که خواستید از آن‌ها استفاده کنید.

اپل در حال حاضر به‌ شکل غیر منطقی تلاش می‌کند با پنهان کردن المان‌های دستگاه‌‌ها طراحی آن‌ها را بسیار یکپارچه‌تر کند؛ برای نمونه نگاهی به چراغ نشانگر وضعیت خاموش و روشن مک مینی بیندازید. اگر مک مینی روشن نباشد، هیچ چراغی در کار نیست. منظور این نیست که چراغ خاموش شده و رنگ تاریک به خود گرفته، بلکه منظور این است که چراغ به‌کلی ناپدید می‌شود.

ممکن است چراغ نشانگر مک مینی را مهندسی اضافه و اقدامی غیر ضروری به حساب بیاورید؛ اما در هر صورت نمی‌توانید این حقیقت را کتمان کنید که اپل توجه ویژه‌ای به جزئیات نشان می‌دهد و همواره در تلاش است محصولات جدیدش را با جزئیات دقیق‌تری تولید کند. 

«کلید یا اسلایدر ناپدیدشونده» جدیدترین پتنت اپل است که نشان می‌دهد این شرکت کوپرتینویی می‌خواهد کلیدهای ثابت و کلید لغزنده‌ی دستگاه‌هایش را مثل چراغ نشانگر مک مینی ناپدید کند. اپل در بخش توضیحات پتنت می‌گوید:‌ «در دنیای دستگاه‌های مصرفی و به‌طور مشخص دستگاه‌های الکترونیکی مصرفی، همواره تقاضایی برای ظاهرِ بهبودیافته، عملکرد بهبودیافته و جلوه‌های زیبایی‌شناسی بهبودیافته وجود داشته است. طراحی صنعتی به شغلی بسیار ماهرانه تبدیل شده که در تلاش برای تأمین این نیاز به‌منظور بهبود ظاهر، عملکرد و جلوه‌ی زیبایی‌شناسی محصولات مصرفی است. ... بخشی که برای بهبود یافتن توجه جلب می‌کند، به‌خصوص در دستگاه‌های الکترونیکی مصرفی، ورودی کاربر و رابط کاربری است.» شرکت کوپرتینویی در ادامه مشخصه‌های معمول نظیر کلید، صفحه‌نمایش لمسی و ترک‌پد را فهرست می‌کند. 

در بخشی از توضیحات پتنت می‌خوانیم: «چالشی که متوجه دستگاه‌های ورودیِ شناخته‌شده می‌شود، این است که دستگاه‌های این‌چنینی ممکن است با قطع کردن یکپارچگی بدنه‌، زیبایی ظاهری دستگاه را کاهش بدهند. برای تصور این موضوع، یک گوشی موبایل مجهز به صفحه‌کلید سنتی را با آیفون مقایسه کنید.» 

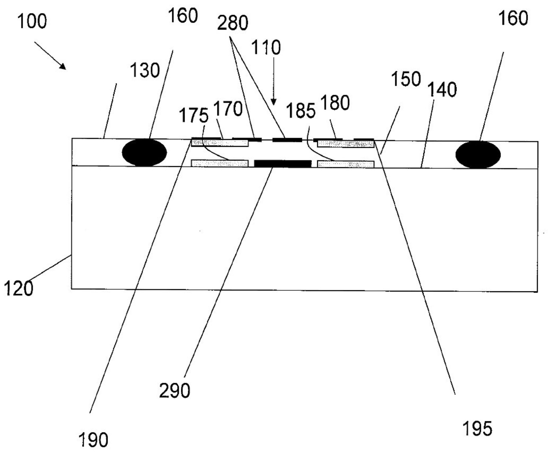
راهکار نامرئی کردن دکمه در پتنت اپل تصویر اول

آنچه در بالا می‌بینید، قرار نیست در آینده تبدیل به محصولی تجاری شود. اپل در تلاش است با طرح بالا، کلیدهای کنترل‌کننده‌ی نامرئی را در بخش بالایی نشان دهد

اپل ادامه می‌دهد: «آیفون دارای صفحه‌نمایش تخت حساس به لمس است که به طراحی یکپارچه‌ی چشم‌گیری منتهی شده. این در حالی است که گوشی موبایل سنتی از آرایه‌ی به‌هم‌ریخته‌ای از کلیدها و دکمه‌ها میزبانی می‌کند.» پتنت جدید اپل به‌وضوح به طراحی ظاهری دستگاه‌های این شرکت ارتباط دارد و به‌ جزئیات کامل نحوه‌ی عملکرد سیستم جدید اشاره نمی‌کند؛ اما به‌ نظر می‌رسد طراحی جدید در آیفون‌ به کار بیاید.

اپل در ادامه توضیحات بیشتری مطرح می‌کند: «طراحی یکپارچه غیر از مزایای آشکاری که در زمینه‌ی زیبایی‌شناسی دارد، ممکن است عملکرد یا دوام بهبودیافته داشته باشد. برای مثال، یک صفحه‌کلید مکانیکی سنتی ممکن است در گذر زمان فرسوده شود و خاک و رطوبت در بخش‌هایی از بدنه‌ی دستگاه که باز هستند وارد شوند. این روزنه‌ها به‌ منظور استفاده از کلیدها و دکمه‌های سنتی ضروری‌اند.» 

اپل می‌خواهد مکانیزم ناپدیدشونده‌ی چراغ مک مینی را در کلیدهای فیزیکی اعمال کند

بدین ترتیب به‌ نظر می‌رسد هدف پتنت اپل دستیابی به راهکاری برای پیاده‌سازی مکانیزم ناپدیدشونده‌ی چراغ مک مینی روی دکمه‌های کنترل‌کننده و ورود‌ی‌های دستگاه است. اپل در بخشی از پتنت می‌گوید شماری از دستگاه‌های ورودی ممکن است از «سیستم شناساییِ خازنیِ مبتنی‌ بر انکسار» استفاده کنند.

اپل توضیح می‌دهد:‌ «ضریب انکسار فریم فلزی دستگاه ورودی باعث تغییری در ظرفیت خازنی می‌شود که برای کنترل کردن یک قابلیت در دستگاه الکتریکی مورد استفاده قرار می‌گیرد. دستگاه ورودی نامرئی به نظر می‌رسد؛ چون از جنس همان بدنه‌ای ساخته شده که در آن قرار گرفته است. حفره‌های نامرئی دارای نور پس‌زمینه ممکن است باعث شوند ورودی به‌ شکل انتخابی برای کاربر قابل‌ رؤیت یا غیر قابل‌ رؤیت باشد.»

صرف‌ نظر از اینکه سیستم اپل در چه دستگاهی استفاده می‌شود، قاعده‌ی کلی این است که یک «مرجع خازنی» روی یک «سطح داخلی» قرار بگیرد و این سطح داخلی دارای حفره‌های کوچک غیر قابل‌ رؤیت باشد.

اپل در ادامه می‌گوید: «وقتی یک شیء روی بخشی از فریم که شامل حفره‌های نامرئی است قرار می‌گیرد و فشار روی آن اعمال می‌شود، فریم تغییر شکل می‌دهد. تغییر شکل فریم باعث تغییر ظرفیت خازنی در بین مرجع خازنی و صفحه‌ی خازن می‌شود. حسگر خازن این تغییر را شناسایی و آن را به سیگنال الکتریکی تبدیل می‌کند.» زمانی‌ که بتوانید سیگنال الکتریکی ایجاد کنید،‌ سخت‌افزار و نرم‌افزار دستگاه می‌توانند از آن برای اجرای هر اقدامی استفاده کنند.

به احتمال زیاد سیستمی که اپل شرح می‌دهد با یک‌ سری محدودیت عملی مواجه می‌شود؛ چون بعید است تصور کند که می‌تواند یک صفحه‌کلید کامل را با استفاده از کلیدهای نامرئی بسازد.

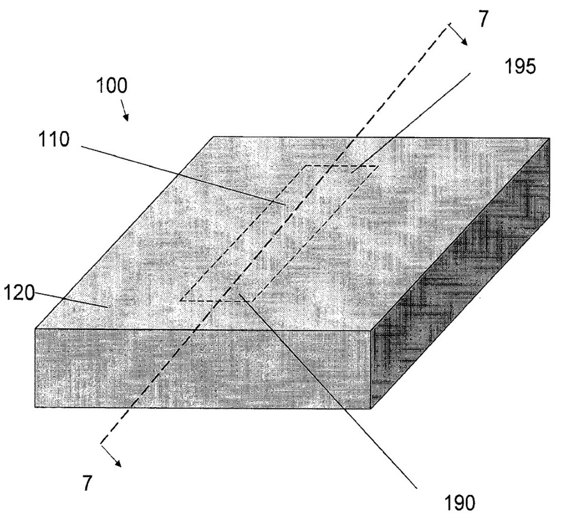
راهکار نامرئی کردن دکمه در پتنت اپل تصویر دوم

جزئیات پتنت شامل توضیح یک یا چند راه برای تشخیص فشرده شدن کلیدهای نامرئی می‌شود

اما اپل شاید مثلا بتواند از طریق راهکار جدیدش کلید روشن/خاموش جدیدی طراحی کند که سازگار با چراغ روشن/خاموش مک مینی باشد. همچنین احتمال دارد شرکت کوپرتینویی با همین راهکار، دکمه‌ی اسلایدر به هوم پاد مینی اضافه کند.

از لحاظ تئوری اپل می‌تواند دکمه‌‌های کنترل‌کننده‌ی نامرئی را به هر دستگاهی اضافه کند؛ البته تا زمانی‌ که کاربر بداند این دکمه‌ها کجا هستند. داشتن کلید کنترلی که اختلالی در عملکرد دستگاه ایجاد نکند، ترفند بسیار خوبی است؛ اما اگر شدت صدا آزاردهنده باشد و نتوانید در زمانی کوتاه کلیدهای کنترل شدت صدا را پیدا کنید، کلیدهای نامرئی اپل کارایی‌شان را تا حد زیادی از دست می‌دهند.

اپل در بخش پایانی توضیحات می‌گوید: «... بدین ترتیب، سیستم‌های نمایشگر با طراحی ظاهری بهبودیافته که می‌توانند اطلاعات را به شکل مناسب ارائه بدهند و باعث حواس‌پرتی کاربر یا ضعیف کردن عملکرد دستگاه نمی‌شوند، به چنین راهکاری نیاز پیدا می‌کنند ... در حالت ایده‌آل،‌ المان‌های منتخب چنین نمایشگری نیز در حالت خاموش بودن نامرئی می‌شوند.» 

پتنت جدید اپل توسط عمر اس. لیانگ و دیوید تی. آم ثبت شده است. این دو فرد پیش‌تر پتنت مرتبطی ثبت کرده‌اند که سیستم شناسایی خازنی را تشریح می‌کند. 

نظرات