پتنت سامسونگ، سنسور اثر انگشت نوری گلکسی اس 10 را نشان می‌دهد

جمعه 27 مهر 1397 - 10:51
مطالعه 2 دقیقه
براساس مستندات مربوط به پتنت جدید سامسونگ، احتمالا گلکسی اس ۱۰ با حسگر اثر انگشت نوری معرفی خواهد شد.
تبلیغات

مستندات مربوط به ثبت درخواست پتنت جدید سامسونگ نشان می‌دهد که احتمالا گوشی هوشمند گلکسی اس ۱۰ با سنسور اثر انگشت زیر نمایشگر نوری معرفی خواهد شد؛ البته نخستین بار نیست که چنین پتنتی از سوی غول بزرگ فناوری کره‌ای ثبت می‌شود، اما ظاهرا از بین پتنت‌های ثبت‌شده، این مورد پیشرفته‌ترین راهکاری محسوب می‌شود که تاکنون در مورد سنسور اثر انگشت نوری زیر نمایشگر به ثبت رسیده است.

پتنت حسگر اثر انگشت نوری سامسونگ

شایعه‌های مربوط به حسگر اثر انگشت زیر نمایشگر FOD به چند سال قبل باز می‌گردد. با معرفی گلکسی اس ۹ بدون چنین حسگری، توجه‌ها به گلکسی نوت ۹ معطوف شد؛ اما از آنجا که گلکسی نوت ۹ نیز چنین قابلیتی نداشت، گمانه‌زنی‌ها به یک محصول میان‌رده اشاره می‌کردند و در نهایت اکنون نوبت به گلکسی اس ۱۰ سامسونگ رسیده است. در حالی که سامسونگ می‌تواند به‌راحتی از تولید‌کننده‌ی دیگری برای تولید سنسور مورد نظر خود کمک بگیرد، اما ظاهرا واحد تحقیق و توسعه‌ی این شرکت، قصد دارد تا به‌صورت داخلی چنین ماژولی را تولید کند.

سنسور اثر انگشت زیر نمایشگر نوری

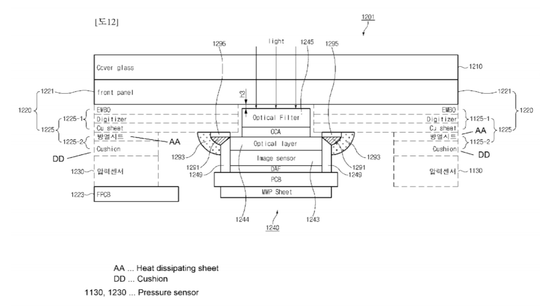
سازمان مالکیت معنوی (WIPO)، مستندات مربوط به پتنت جدید سامسونگ را منتشر کرد، عنوان این پتنت «دستگاه الکترونیکی به‌همراه سنسور بیومتریک» است که اوایل سال جاری میلادی به‌ثبت رسیده؛ البته درخواست اولیه برای ثبت آن به ماه آوریل ۲۰۱۷ بازمی‌گردد. پتنت Samsung به یک سنسور نوری مربوط می‌شود که زیر نمایشگر گوشی قرار دارد. قسمت اصلی مربوط به سنسور، حساس به فشار بوده و درست شبیه به کلی هوم در مدل‌های گلکسی و نوت است. پیشتر گفته شده بود که سامسونگ در گلکسی اس۱۰ از بهترین سنسور اثر انگشت کوالکام بهره می‌گیرد.

درنظر داشته باشید که تاریخ ثبت اولیه‌ی پتنت به سال گذشته‌ی میلادی بازمی‌گردد؛ از این رو احتمال آنکه تصویر فوق مربوط به گلکسی اس ۱۰ باشد،د بسیار دور از ذهن است. هرچند آنچه در این پتنت نشان داده می‌شود، احتمالا مربوط به گوشی‌های آینده‌ی سامسونگ می‌شود و در نتیجه گمانه‌زنی را به‌سمت این می‌برد که گلکسی اس ۱۰ سامسونگ با اسکنر اثر انگشت نوری زیر نمایشگر به بازار معرفی خواهد شد. در نهایت باید منتظر بمانیم تا ببینیم سامسونگ برای گلکسی اس ۱۰ و سنسور اثر انگشت زیر نمایشگر آن چه تصمیمی می‌گیرد. 

نظرات