آیفون 8 و هر آنچه در مورد آن می‌دانیم (قسمت پایانی)

سه‌شنبه 3 مرداد 1396 - 12:00
مطالعه 10 دقیقه
آیفون ۸ یکی از مورد انتظارترین دستگاه‌های سال ۲۰۱۷ محسوب می‌شود. در بخش پایانی این مقاله همراه ما باشید تا آخرین شایعات مربوط به آن را به‌تفصیل بررسی کنیم.
تبلیغات

کمتر از چند هفته‌ی دیگر به سپتامبر سنتی اپل باقی مانده است. اما تاریخ عرضه‌ی دقیق آیفون ۸ هنوز در هاله‌ای از ابهام قرار دارد. این گوشی منحصربه‌فرد، بدون شک برگ برنده‌ی بزرگی برای اپل محسوب می‌شود و انتظارات از آن به شدت بالا رفته است. در بخش پایانی این مقاله همراه ما باشید تا آخرین شایعات آیفون ۸ را با یکدیگر مرور کنیم.

شایعه: تمام گزارش‌های جدید درباره‌ی ویژگی‌های آیفون ۸، تنها بر همان موارد قبلی تأکید دارند؛ اما آخرین شایعه‌ای که از جانب وال استریت ژورنال منتشر شده است، به قابلیت جدیدی اشاره دارد که تاکنون چیزی در مورد آن نشنیده بودیم. وال استریت ژورنال می‌گوید اپل پورت لایتینگ آیفون را با پورت USB-C جایگزین خواهد کرد.

این خبر مهمی است. اپل به تازگی جک هدفون را از طراحی آیفون‌ها حذف کرده و ایرپاد لایتنینگ را به جای ایرفون‌ ۳.۵ میلیمتری که پیش از این به‌همراه نسل‌های پیشین آیفون عرضه می‌شد، درون جعبه‌‌‌ی آیفون‌ قرار داده است. اکنون به نظر می‌رسد که زمان خداحافظی با این ایرپاد جدید نیز فرا رسیده است.

احتمال آن چقدر است؟ بسیار بالا است. اپل هیچ‌گاه تردیدی در کنار گذاشتن فناوری‌های قدیمی نمی‌کند؛ حتی اگر صاحب آن‌ها باشد. رابط 30pin را به یاد بیاورید که در راه پورت اختصاصی لایتنینگ قربانی شد. حرکت به سمت USB-C بدون شک یک اقدام مثبت، حداقل از منظر سازگاری با ابزارهای دیگر محسوب می‌شود. USB-C استانداردی است که شرکت‌های فناوری به‌سرعت در حال استفاده از آن هستند؛ در نتیجه آیفون نیز به‌زودی سازگاری خوبی با لوازم جانبی ساخت شرکت‌های دیگر پیدا خواهد کرد. در حال حاضر مک‌بوک‌های جدید مجهز به پورت USB-C هستند،؛ بنابراین دور از انتظار نیست که آیفون‌های جدید نیز از آن‌ها استفاده کنند.

آیا اپل پورت لایتنینگ را حفظ می‌کند؟

شایعه: تنها چند روز پس از انتشار گزارش وال استریت ژورنال درباره‌ی قرارگیری پورت USB-C در آیفون ۸، یکی از تحلیلگران اپل درباره‌ی شایعه‌ی مذکور اظهار تردید کرد. مینگ‌چی‌ کو از موسسه‌ی KGI، خبر جایگزینی پورت لایتنینگ با رابط USB-C را تکذیب کرد. بنا به گزارش‌ها، اپل در حال افزودن قابلیت‌های شارژ سریع به پورت لایتنینگ اختصاصی خود و افزایش توانایی آن در ارسال جریان برق همانند USB-C است تا بدین وسیله‌، به تغییر پورت و کابل نیازی وجود نداشته باشد.

بنا به گزارش مینگ‌چی‌ کو، اپل برای استفاده از پورت USB-C، انگیزه‌ی لازم را ندارد. اول از همه، USB-C فضای بیشتری در آیفون اشغال می‌کند که این مسئله به تغییر فرم فکتور آیفون منجر می‌شود. علاوه بر این، از آنجایی که USB-C یک پورت فراگیر محسوب می‌شود، استفاده از آن منجر به حذف مجوزهای MFi می‌شود. این مجوزها برای تولید تجهیزات جانبی مناسب برای فناوری لایتنینگ، از سوی اپل به تولیدکنندگان شخص ثالث اعطا شده است.

احتمال آن چقدر است؟ بسیار بالا است. جایگزینی رابط‌های اتصال، اقدامی نیست که اپل به‌سادگی تصمیم به انجام آن بگیرد؛ در نتیجه، مزایای حفظ فناوری فعلی بسیار زیاد است. همچنین پورت لایتنینگ با وجود اینکه با مک‌بوک‌های جدید ناسازگار است، هم در آیفون‌ها و هم آیپد‌های فعلی به کار رفته است. علاوه بر این در مورد اپل، اخبار مینگ‌چی‌ کو معمولا معتبر هستند.

با این حال، ما نمی‌توانیم گزارش وال استریت ژورنال را به‌کلی نادیده بگیریم. شاید اپل تصمیم به استفاده از USB-C گرفته باشد. این اقدام منجر به سازگاری بیشتر محصولات iOS با دستگاه‌ها و تجهیزات جانبی شخص ثالث می‌شود. از آنجایی که در تبلیغات اپل، از آیپد پرو به ‌عنوان جایگزینی برای کامپیوترهای شخصی یاد می‌شود، این مسئله می‌تواند یک مزیت خوب برای اپل محسوب شود. استفاده از USB-C بدون شک یک اقدام کاربرپسند خواهد بود؛ اما از طرف دیگر امکان دارد تصمیمی برخلاف استراتژی اکوسیستم بسته‌ی اپل به حساب آید؛ تصمیمی که احتمال دارد در فروش آیفون‌ و آیپد تاثیرگذار باشد.

Lightening vs USB-C

نمایشگر خمیده یا مسطح؟

شایعه: گزارش‌های اولیه در مورد نمایشگر اولد آیفون ۸، به تصمیم اپل مبنی بر ساخت یک نمایشگر خمیده اشاره داشتند. گزارش‌های وال استریت ژورنال نیز تأکید دارند که این اقدام هنوز در دست انجام است. با این وجود، بنا به گزارش وب‌سایت بیزینس‌وایر که چند وقت پیش در ماه فوریه منتشر شد، نمونه‌های اولیه‌ی این نمایشگر، در حد استانداردهای اپل نبوده است. اما بعدا بر اساس گزارش دیگری اعلام شد که این مسئله برطرف شده و اپل اجزای لازم را برای راه‌اندازی تولید در مقیاس بالا سفارش داده است.

 اپل در حال دریافت نمایشگرهای خمیده‌ی اولد خود از سامسونگ است. سامسونگ از سال ۲۰۱۴، این نمایشگرها را برای محصولات خود می‌کند و تنها تولیدکننده‌ای است که توانایی ساخت پنل اولد به میزان درخواستی اپل دارد.

همچنین بنا به گزارش‌ها، اپل در حال حذف دکمه‌ی فیزیکی هوم است؛ اما هنوز مشخص نیست که آیا این شرکت آمادگی استفاده از اسکنرعنبیه‌ی برای باز کردن قفل آیفون‌ دارد یا همچنان به دنبال یافتن راهی برای قرار دادن سنسور تاچ آیدی روی نمایشگر آیفون خواهد بود.

احتمال آن چقدر است؟ نمایشگر خمیده‌ی اولد ، یکی از اجزای بسیار مهم در طراحی آیفون محسوب می‌شود و از آنجایی که بر اساس شایعات، آیفون ۸ با قیمتی بالای ۱۰۰۰ دلار عرضه خواهد شد، استفاده از طراحی خمیده، یک بهبود منطقی نسبت به آیفون‌های فعلی و ترغیب کاربران برای خرید آن به‌حساب می‌آید. برطبق شایعات، اپل در یافتن تأمین‌کننده‌ای که قادر به تولید میزان کافی از نمایشگرهای اولد باشد، به مشکل برخورده است. اما وال استریت ژورنال در زمینه‌ی شایعات اپل، یک منبع معتبر به حساب می‌آید. در نتیجه منتظر آیفون ۸ با یک نمایشگر خمیده‌ی اولد باشید.

تشخیص چهره؟

شایعه: آیفون ۷ و آیفون ۷ پلاس مجهز به دوربین پشتی بدون رقیب هستند. اما اپل اکنون توجه خود را به دوربین جلوی آیفون ۸ و افزودن قابلیت تشخیص چهره، سنسور سه‌بعدی و فرستنده‌ و گیرنده‌ی مادون قرمز معطوف کرده است. این شایعه به نقل از مینگ‌چی‌ کو و منبع دیگری در وب‌سایت بیزینس‌اینسایدر منتشر شده است. اپل در ماه فوریه، RealFace، یک استارتاپ فعال در فناوری تشخیص چهره را تصاحب کرد و شایعه‌ی استفاده‌ی این شرکت از دیگر ابزارهای بیومتریک، نظیر تشخیص عنبیه‌ را تقویت کرد. این ابزارها احتمالا در باز کردن قفل آیفون، جایگزین تاچ آیدی شوند.

قابلیت‌های جدید دوربین جلو، کاربرد زیادی در بازی‌ها خواهد داشت. برای مثال، بازیکنان دیگر نیازی به آواتار ندارند و در عوض، سیستم جدید دوربین، یک سلفی سه‌بعدی از چهره‌‌ی آن‌ها ثبت خواهد کرد.

مینگ‌چی‌ کو افزود که اپل، سنسور سه‌بعدی را سال آینده به دوربین پشتی آیفون اضافه خواهد کرد. در این صورت، نیازی به قرار داشتن سیستم لنز دوگانه وجود نخواهد داشت.

احتمال آن چقدر است؟ این اولین بار است که ما در مورد استفاده‌ی اپل از فناوری جدید لیزر و تشخیص چهره می‌شنویم؛ اما ظهور آن‌ها اتفاقی نخواهد بود. اپل در سال ۲۰۱۳، کمپانی Primesense و فناوری سنسور مادون قرمز آن‌ را به تصاحب خود درآورد. این شرکت همچنین اخیرا، نرم‌افزار تشخیص چهره را به اپلیکیشن عکس خود در آی‌او‌اس ۱۰ و مک‌اواس سیرا افزوده است. بنابراین منطقی است که انتظار داشته باشیم تکامل بعدی این قابلیت برای اپل، توسعه‌ی دوربینی با سنسورهایی باشد که امکان تشخیص چهره در زمان واقعی برای خلق تجربیات واقعیت افزوده، نظیر فیلترهای سلفی اپلیکیشن اسنپ‌چت، داشته باشند.

iPhone 8 Facial Recognition

بدنه‌ی فلزی ضد زنگ؟

برطبق گزارش وب‌سایت دیجی‌تایمز، اپل در حال استفاده‌ی مجدد از بدنه‌ی فلزی ضد زنگ و دو قاب شیشه‌ای برای جلو و پشت آیفون‌های نسل بعدی است. علاوه بر این، اپل در حال به‌ کار بردن فرآیند تولید جدیدی برای حاشیه‌ی فلزی و بدنه است که باعث کاهش زمان و هزینه‌ی تولید می‌شود. برطبق گزارش‌ها، این فرآیند جدید چکش‌کاری بین ۳۰ تا ۵۰ درصد ارزان‌تر از فرآیند ماشینی یک‌ تکه است. قاب فلزی ضد زنگ توسط شرکت‌های فاکس‌کان و جبیل ساخته می‌شود. این شرکت‌ها در گذشته، وظیفه‌ی تأمین‌ همین بخش را برای آیفون ۴ برعهده داشتند.

احتمال آن چقدر است؟ این شایعه، گزارش قبلی مبنی بر بازگشت آیفون شیشه‌ای را تقویت می‌کند. علاوه بر آن، ما بر این باور هستیم که اپل در پی عرضه‌ی مدل‌های مختلفی از آیفون ۸ با قیمت‌های گوناگون و استفاده از مواد مختلف در ساخت آن‌ها است. انتظار استفاده‌ی مدل پیشرفته‌ی آیفون ۸ از بدنه‌ی فلزی برای نگه داشتن پنل‌های جلویی و پشتی شیشه‌ای کنار یکدیگر و استفاده‌ی نسخه‌ ارزان‌تر از آلومینیوم منطقی به‌ نظر می‌رسد. این همان الگویی است که اپل در رابطه با اپل واچ استفاده کرد.

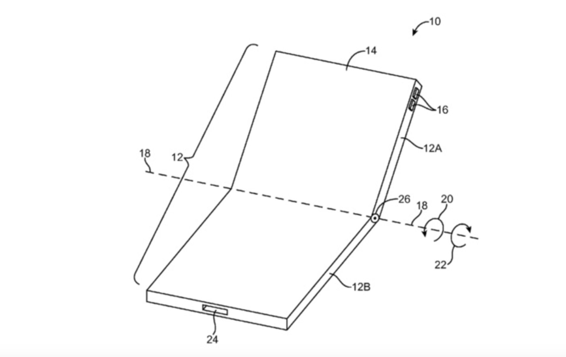
طراحی تاشو همچون کتاب؟

شایعه: احتمالا امکان خم کردن آیفون بعدی، همچون خم کردن یک کتاب برای بستن، فراهم  خواهد بود. اپل اخیرا پتنتی از طراحی یک آیفون با ظاهر کتاب ثبت کرده که مجهز به نمایشگر اولد است و امکان خم کردن آن از وسط وجود دارد.

احتمال آن چقدر است؟ چون اپل چنین پتنتی ثبت کرده، لزوما به این معنی نیست که به یک محصول واقعی تبدیل خواهد شد. علاوه بر این، اپل در حال حاضر در تأمین نمایشگر اولد با مشکل مواجه شده است؛ در نتیجه به احتمال زیاد، زمان یا منابع کافی برای تولید یک نمایشگر تاشو و قابل خم شدن برای آیفون ۸ وجود ندارد.

iPhone 8 Patent

سه مدل جدید؟

شایعه: بر اساس گزارشی از تحلیلگران KGI، اپل در سال جاری سه مدل مختلف از آیفون ۸ عرضه خواهد کرد. یک مدل مجهز به نمایشگر اولد با ابعاد ۵.۵ اینچ و دوربین دوگانه خواهد بود. مدل دوم، از یک نمایشگر ال‌سی‌دی با ابعاد ۵.۵ اینچ و دوربین دوگانه بهره‌مند خواهد بود و مدل سوم نیز از نمایشگر ال‌سی‌دی با ابعاد ۴.۷ اینچ و یک سیستم دوربین تک لنزی، درست مشابه آیفون ۷ استفاده خواهد کرد.

احتمال آن چقدر است؟ موسسه‌ی KGI در مورد پیش‌بینی اخبار مربوط به سخت‌افزار آیفون‌ها منبع معتبری محسوب می‌شود و مدتی پیش این منبع خبری ادعا کرد که اپل در سال ۲۰۱۷، به استفاده از نمایشگرهای اولد رو خواهد آورد. اپل در حال حاضر از نمایشگرهای اولد در اپل واچ و تاچ بار مک‌بوک‌ پرو استفاده می‌کند؛ بنابراین استفاده از این نمایشگرها در آیفون‌های بعدی یک قدم منطقی به‌حساب می‌آید. پیش از این، بلومبرگ گزارش داده بود که اپل برای تأمین نمایشگرهای اولد، در حال صحبت و مذاکره با کمپانی شارپ است.

اولد مزیت‌های بسیاری نسبت به ال‌سی‌دی دارد. علاوه بر زمان پاسخ‌دهی بیشتر، اولد به اپل امکان می‌دهد آیفونی تقریبا بدون حاشیه و به‌همراه یک نمایشگر خمیده یا قابل خم شدن بسازد. این مسئله طراحی آیفون‌ها را منحصربه‌فرد خواهد کرد و بنا بر شایعات جدیدتر، منجر به تبدیل آن‌ها به محصولاتی انقلابی خواهد شد.

بازگشت بدنه‌ی تمام شیشه‌ای؟

شایعه: احتمال دارد اپل همانند آیفون‌های ۴ و ۴ اس، مجددا در قسمت جلو و پشت آیفون ۸ از شیشه استفاده کند. اما آیفون‌های ۸ و ۸ پلاس قطعا از آن مدل‌های ۳.۵ اینچی بزرگ‌تر خواهند بود. مینگ‌چی‌ کو، کسی که همیشه در تأمین اخبار و شایعات مربوط به اپل نفر اول بوده، پیش‌بینی کرده است که اپل مدل‌های ارزان قیمت‌تر را با بدنه‌ی آلومینیومی و نسخه‌های گران‌تر را با بدنه‌ی فلزی عرضه خواهد کرد. استفاده از شیشه، ظاهری صیقلی و براق (نظیر آیفون ۷ با رنگ سیاه براق) به آیفون‌های جدید می‌بخشد. این مسئله باعث مقاومت بیشتر بدنه‌ی گوشی در مقابل خط و خش، نسبت به آلومینیوم می‌شود.

احتمال آن چقدر است؟ بسیار بالا است. این خبر از قول منبع بسیار معتبری نقل شده است. احتمال دارد اپل تصمیمات آتی خود را در مورد طراحی آیفون‌ها، بر پایه‌ی طراحی آیفون ۷ با رنگ سیاه براق که فروش آن از ماه دسامبر شروع شده است، شکل دهد. بر اساس گزارش KGI، بین ۳۰ تا ۳۵ درصد پیش‌فروش آیفون‌ها در سطح جهان، مربوط به مدل سیاه براق بوده است؛ رقمی که در کشور چین بالاتر و بین ۴۰ تا ۵۰ درصد بود.

iPhone 8 Concept

و در نهایت؛ یک نمایشگر اولد؟

شایعه: اپل تاکنون روال استفاده از نمایشگر ال‌سی‌دی را حفظ کرده است. با وجود استفاده از آن، نمایشگر ال‌سی‌دی آیفون ۷ به‌ خوبی نمایشگر اولد دیگر رقبا ظاهر شده است. اما بنا به گزارش‌ها، اپل در حال مذاکره با کمپانی شارپ برای تأمین نمایشگر اولد برای آیفون‌های نسل جدید است. بر اساس گزارش بلومبرگ، اپل قصد دارد نمایشگر‌های اولد مورد نیاز خود را از منابع مختلفی تهیه کند. شارپ در حال انجام یک سرمایه‌گذاری ۵۶۶ میلیونی در کارخانه‌های ساخت اولد است تا روند تولید این نمایشگرها را تسریع کند.

احتمال آن چقدر است؟ آینده متعلق به اولد است؛ زیرا این فناوری انعطاف بیشتری نسبت به ال‌سی‌دی دارد و به اپل امکان می‌دهد تا آیفون را با حاشیه‌ی بسیار نازکی تولید کند و دکمه‌ی ‌هوم را نیز داخل خود نمایشگر تعبیه کند. علاوه بر این، نمایشگرهای اولد مزیت‌ها و کاربردهای دیگری نیز دارند که بدون شک اپل در حال بررسی و آزمایش تمام آن‌ها برای ساخت یک آیفون بدون رقیب است.

پرونده شایعات آیفون نسل بعدی به همین‌جا ختم نمی‌شود. هرچه به تاریخ عرضه‌ی آیفون ۸ نزدیک‌تر شویم، شایعات بیشتری از این گوشی منحصربه‌فرد منتشر خواهد شد. در نتیجه به‌جز موارد معرفی‌شده در این مقاله، قطعا باید منتظر اخبار غیر رسمی دیگری نیز باشیم. لطفا نظرات خود را با ما درمیان بگذارید.

تبلیغات
تبلیغات

نظرات