پنل میکرو LED؛ راهکار جدید مایکروسافت برای کاربردیترکردن هولولنز
شاید بتوان یکی از جاهطلبانهترین پروژههای مایکروسافت را هدست واقعیت افزوده هولولنز نامید؛ بااینحال، مشکلات فراوانی بر سر راه پروژه هولولنز وجود دارد تا هدست واقعیت مجازی مایکروسافت به محصولی تجاری برای استفادهی عموم کاربران تبدیل شود.
با اینکه هولولنز ۲ درمقایسهبا مدل پیشین پیشرفتهای بیشماری، ازجمله استفاده از لیزر بهجای پروژکتور برای نمایش اطلاعات به خود دیده است، همچنان هدست واقعیت افزوده مایکروسافت تا رسیدن به مرحلهای ایدئال فاصله داشت. اخیرا رسانه mspoweruser گزارشی منتشر کرده که اطلاعات جالبی از پتنت جدید مایکروسافت دراختیارمان قرار میدهد.
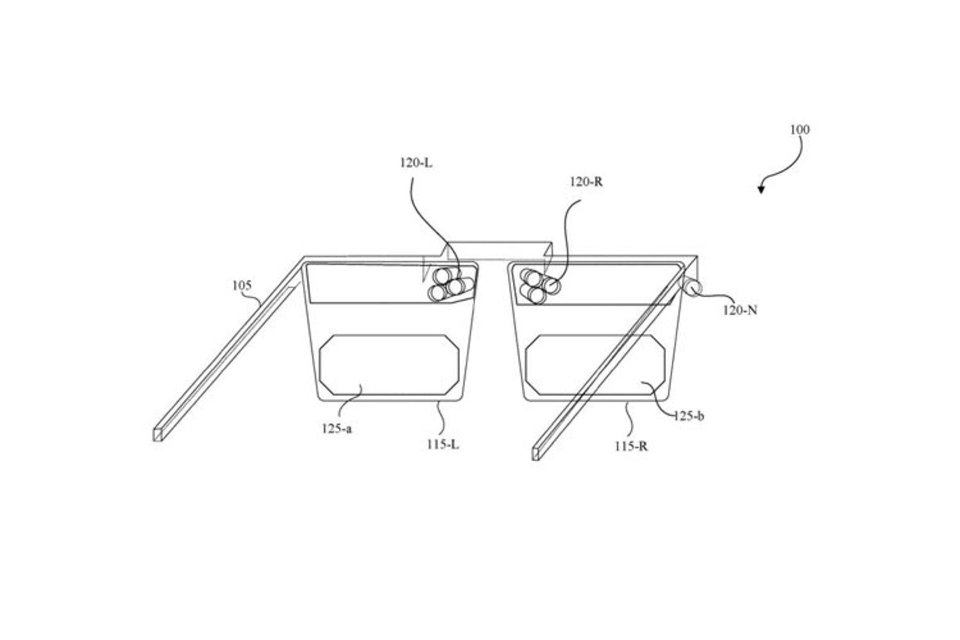
در پتنت جدید مایکروسافت، بهنوعی از هولولنز اشاره میشود که درواقع از پنل microLED برای نمایش اطلاعات استفاده میکند. هدف مایکروسافت از استفاده از پنل microLED کاهش ابعاد هدست بدون افت کیفیت تجربهی کاربری یا محتوای در حال نمایش است و بهنظر میرسد توانسته تا حدودی از پس مشکلات موجود بر سر راه خود برآید.
microLED از دستاوردهای جدید حوزهی فناوری محسوب میشود که عملکردی بسیار مشابه پنلهای OLED دارد. در چنین پنلی، هر پیکسل میکرو LED میتواند نور و رنگ را بدون نیاز به تابش نور پسزمینه ایجاد کند. تفاوت اصلی چراغهای LED کوچک در پنل microLED با پنل OLED ارائهی روشنایی بهمراتب بهتر درکنار نمایش رنگهای تیره واقعیتر است.
همانطورکه توضیح داده شد، پنل microLED برای ارائهی تصاویر به تابش نور پسزمینه نیاز ندارند و درواقع، ضخامت کمتری از پنلهای موجود در بازار دارد. در روشی که مایکروسافت ارائه داده است، هولولنز جدید از سه پروژکتور استفاده میکند که تصاویری از نوع مونوکروم را بسازند. این سه پروژکتور در سطح یکسانی از موجبَر (Waveguide) تابیده میشوند و هولولنز نیز آنها را ترکیب میکند و محتوای مدنظر را به کاربر نمایش میدهد.
استفاده از چنین روشی باعث میشود هدست واقعیت افزوده هولولنز برای نمایش محتوا به قطعات کمتری نیاز داشته باشد و درنتیجه از ابعاد آن کاسته شود. حتی انتظار میرود استفاده از پنلهای microLED در هولولنز نسل بعدی به ارائهی محصولی ارزانتر نیز کمک کنند؛ زیرا یکی از مشکلات هولولنز قیمت گرانش بود؛ ازاینرو، مایکروسافت مجبور شد هدست واقعیت افزودهی خود را مناسب کسبوکارها طراحی و عرضه کند.