پتنت اپل برای هدست‌ واقعیت افزوده؛ استفاده از لنز مایع برای جلوگیری از خستگی چشم

چهارشنبه 12 آذر 1399 - 15:30
مطالعه 3 دقیقه
هدست واقعیت افزوده یا مجازی اپل ممکن است بتواند لنزهای خود را به‌طور خودکار تنظیم کند و شکل آن‌ها را تغییر دهد تا کاربر محتوای واقعیت افزوده یا مجازی را بهتر ببیند و در محیط این هدست غوطه‌ور شود.
تبلیغات

مدت‌ها است گفته می‌شود اپل در حال کار روی نوعی هدست قابل نصب روی سر مبتنی بر تکنولوژی VR یا AR است و گزارش‌های مختلف و پرونده‌های ثبت اختراع متعدد این موضوع را اثبات می‌کنند و نشان می‌دهند اپل برای عرضه‌ی این نوع از محصولات بسیار مصمم است. بر اساس اختراعی جدید، هدست واقعیت افزوده و مجازی اپل ممکن است بتواند لنزهای خود را به‌طور خودکار تنظیم کند و شکل آن‌ها را تغییر دهد تا کاربر محتوای واقعیت افزوده یا مجازی را بهتر ببیند و در محیط این هدست‌ غوطه‌ور شود.

همان‌طور که از اسم این نوع هدست‌ معلوم است، هدف اصلی آن ارائه‌ی محتوای مجازی برای کاربر در دنیای واقعی است. با توجه‌ به این امر، شرکت‌ها معمولا از نمایشگرهای بسیار نزدیک به چشم استفاده می‌کنند که باعث می‌شود بینایی کاربر دچار مشکل شود و استفاده‌ی طولانی از هدست‌ کار دشواری باشد. تولیدکنندگان هدست VR از لنز اپتیکال بین چشم و صفحه‌نمایش استفاده می‌کنند و فاصله کانونی درک‌شده را برای کاربر تنظیم و نگاه کردن به آن را راحت‌تر می‌کند.

سیستم‌های مدرن شامل مکانیزم‌هایی مانند تغییر فاصله لنزها برای مطابقت با فاصله مردمک چشم کاربر یا فاصله لنزها از چشم هستند که نحوه‌ی تنظیم عملکرد لنزها را برای کاربر ایجاد می‌کند؛ اما در برخی شرایط ممکن است نیاز به تغییر لنزهای خاصی باشد، مثلاً اگر کاربر از عینک استفاده می‌کند، باید برای استفاده از هدست آن‌ را جدا کند. تغییرات مربوط به فاصله، مشکلات نسبتا پیش‌پاافتاده‌ای هستند؛ اما تغییر لنزها ممکن است دشوار و نشدنی به ‌نظر برسد. این سیستم می‌تواند شامل تغییراتی در لنزها برای کاربرانی باشد که از نظر بینایی با یکدیگر متفاوت هستند.

پتنت جدید اپل مرتبط با لنزهای مایع عینک واقعیت افزوده

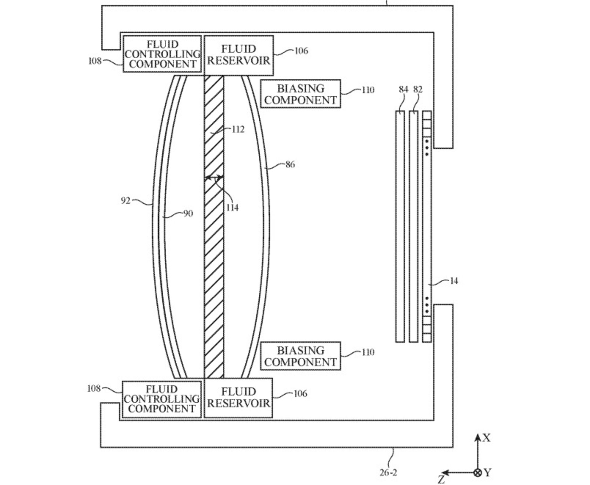
در اختراع «دستگاه الکترونیکی با لنز قابل تنظیم» اپل مجموعه سیستم و فناوری‌هایی پیشنهاد می‌کند که می‌توان با استفاده از یک سیستم لنز تکی، مشکل انتخاب لنز و جابه‌جایی آن‌ها را کاهش داد. اپل در این سیستم از مایعات و فشار برای تنظیم سریع‌تر لنزهای قابل انعطاف استفاده می‌کند. آنچه اپل پیشنهاد می‌کند، مجموعه‌ای از اجزای لنز در اطراف محفظه‌ی مایع مرکزی است که می‌تواند توسط پمپ و مخزن متصل به باد تخلیه شود. در این سیستم، هل دادن مایعات به داخل محفظه باعث افزایش حجم آن می‌شود و لنزهای متصل‌شده را بیرون می‌راند یا آن‌ها را منعطف می‌کند و در نهایت، خواص نوری آن‌ها را تغییر می‌دهد. بنابراین محتوای نهایی که کاربر می‌بیند، بسیار بهبودیافته‌تر از لنزهای اپتیکال کنونی خواهد بود.

عینک واقعیت مجازی

اپل پیشنهاد می‌کند هدست‌ واقعیت افزوده یا مجازی بسته به نوع آرایش لنزها و عناصر مختلف می‌تواند از یک لنز کاتادیوپتریک تشکیل شود که ضخامت آن به قسمت پر از مایع بستگی دارد. برای بهبود عملکرد این سیستم، می‌توان از مخزن‌های مایع متعددی استفاده کرد که دارای پروفیل‌هایی با سختی متفاوت هستند. پروفیل اجازه می‌دهد انواع مختلف لنز با شکل دادن به قسمت‌های مایع ایجاد شود، نه استفاده از آن به‌عنوان پرکننده برای لنزهای ضخیم‌تر. پروفیل‌های سخت را می‌توان به‌سادگی با داشتن غشای ضخیم‌تر برای مقاطع استفاده کرد. کوپرتینویی‌ها پیشنهاد می‌کنند لنزهای انعطاف‌پذیر با داشتن چندین محرک از جمله محرک‌های پیزوالکتریک یا محرک‌های سیم‌پیچ در ضلع‌ها، می‌توانند تنظیمات بیشتری برای شکل لنزها ایجاد کنند. با استفاده از محرک‌های یادشده می‌توان ضلع‌های عنصر انعطاف‌پذیر را خم یا فشرده کرد و باعث تغییر بیشتر اپتیک شد. اپل این اختراع را در تاریخ ۲۳ جولای ۲۰۱۹ (یکم مرداد ۱۳۹۸) به ثبت رسانده است.

اپل به‌صورت هفتگی اختراعات بی‌شماری ثبت می‌کند. ثبت اختراع نشان‌دهنده‌ی موضوعات مورد علاقه تحقیق و توسعه شرکت‌ها است؛ اما تضمین‌کننده‌ی ارائه آن در محصول یا خدمات نیست.

نظرات