مایکروسافت شاید گوشی تاشدنی با نمایشگر منعطف و لولای ۳۶۰ درجه تولید کند؛ پتنت جدید ردموندی‌ها

چهارشنبه 11 مهر 1403 - 19:14
مطالعه 3 دقیقه
پتنت مایکروسافت برای تولید گوشی تاشدنی با نمایشگر منعطف ۳۶۰ درجه
پتنت جدیدی که مایکروسافت منتشر کرده است، از طراحی گوشی تاشدنی خبر می‌دهد که در آن شاهد نمایشگر منعطف با قابلیت تاشدن به‌صورت ۳۶۰ درجه هستیم.
تبلیغات

مایکروسافت پتنتی را برای دستگاهی شبیه به گوشی تاشدنی با قابلیت چرخش ۳۶۰ درجه ثبت کرده است. این پتنت در ابتدا در سال ۲۰۲۱ ثبت شده بود و اخیراً اداره‌ی ثبت اختراعات و علائم تجاری ایالات متحده (USPTO) آن را منتشر کرده و در آن ایده‌های مایکروسافت درباره‌ی چگونگی ظاهر این دستگاه تشریح شده است.

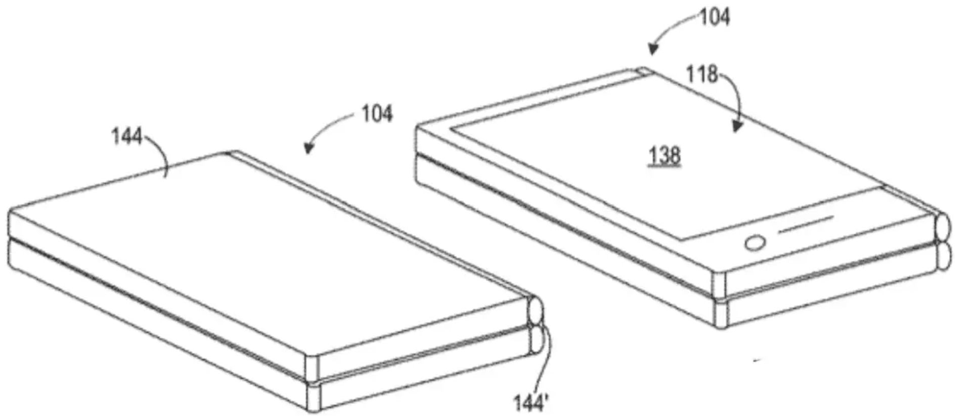
در پتنت منتشر‌شده‌ی مایکروسافت دستگاهی را توصیف می‌کند که می‌تواند به‌صورت ۳۶۰ درجه تا شود و شکل تبلت و لپ‌تاپ یا دستگاه دیگری را به خود بگیرد. گجت جدید مایکروسافت کاور پشتی و لایه‌ی شیشه‌ای و لایه‌ی ساطع‌کننده‌ی نور در بین آن‌ها است. این دستگاه‌ شکاف‌های خاصی در هر دو لایه‌ی شیشه‌ی کاور و صفحه‌ی پشتی دارد تا به آن‌ کمک کنند به‌راحتی خم شوند.

پتنت مایکروسافت برای تولید گوشی تاشدنی با نمایشگر منعطف ۳۶۰ درجه
Microsoft

شرکت ردموند روشی را برای تاکردن دستگاه در جهات مختلف توسعه داده است که به طرف‌های چپ و راست شیشه کاور اجازه می‌دهد تا به‌سمت یکدیگر یا دور از هم بچرخند. مایکروسافت می‌گوید که این دستگاه‌ها از لیزر و حکاکی مرطوب برای ایجاد قسمت‌های تا‌شدنی استفاده می‌کنند تا دستگاه بتواند بدون مشکل بچرخد و در‌عین‌حال ساختار ماژول نمایشگر لمسی را حفظ کند.

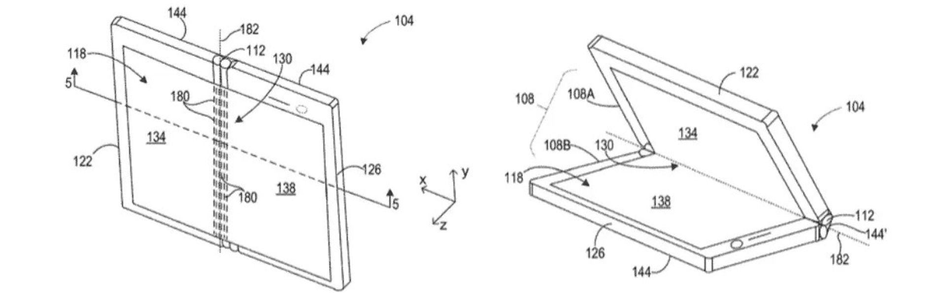
در تصویر زیر، نحوه‌ی عملکرد دستگاه هنگام تا‌شدن در ۰، ۱۸۰، ۳۰۰ و ۳۶۰ درجه نشان داده شده است:

پتنت مایکروسافت برای تولید گوشی تاشدنی با نمایشگر منعطف ۳۶۰ درجه
Microsoft

پتنت ثبت‌شده اولین ورود مایکروسافت با ایده‌ی دستگاه تاشدنی نیست؛ زیرا پیش‌تر شاهد ظهور و سقوط دستگاه‌های Surface Duo بوده‌ایم که در اولین نسل در سال ۲۰۲۰ با قیمت ۱,۳۹۹ دلار عرضه شدند. Surface Duo 2 نیز در سال ۲۰۲۱ عرضه شد و دو سال بعد مایکروسافت عرضه‌ی آن را متوقف کرد.

مایکروسافت قصد داشت Surface Duo 3 را نیز عرضه کند که ظاهراً از تصمیم خود منصرف شد؛ اما جزئیات جالبی در پتنت‌ آن وجود دارد. این دستگاه با اسم رمز Neon به صفحه‌نمایش تاشو، صفحه‌نمایش کاور خارجی، لوازم جانبی با اتصالات مغناطیسی، لولای ۱۸۰ درجه و دوربین سه‌گانه مجهز بود. بااین‌حال، در پتنتی که اخیراً منتشر شده، شاهد طراحی کاملاً متفاوتی هستیم.

پتنت مایکروسافت برای تولید گوشی تاشدنی با نمایشگر منعطف ۳۶۰ درجه
Microsoft

ظاهراً برای باردیگر شاهد داغ‌شدن بازار گوشی‌های تاشدنی هستیم. هواوی میت XT گوشی هوشمندی با دو لولا (۳ بخش تاشدنی) است که با ۳ میلیون پیش‌سفارش همراه شد. اپل هنوز وارد این بازار نشده و اکثر گوشی‌های این رده، تنها می‌توانند به داخل تا شوند و مکانیسم تا‌شدن ۳۶۰ درجه می‌تواند بسیار جذاب باشد.

هنوز مشخص نیست که پتنت جدید مایکروسافت تلاشی برای ساخت نسخه‌ای جذاب از سری Surface Duo است یا کاملاً‌ با دستگاهی جدید روبه‌رو هستیم.

نظرات