شیائومی به فکر احیای دوربین بالاجهنده در گوشی‌های هوشمند است

سه‌شنبه 1 آذر 1401 - 22:00
مطالعه 2 دقیقه
پتنت جدید شیائومی نشان می‌دهد این شرکت به فکر احیای دوربین بالاجهنده (پاپ‌آپ) در گوشی‌های هوشمند است. ظاهراً سیستم جدید شیائومی مکانیزم متفاوتی دارد.
تبلیغات

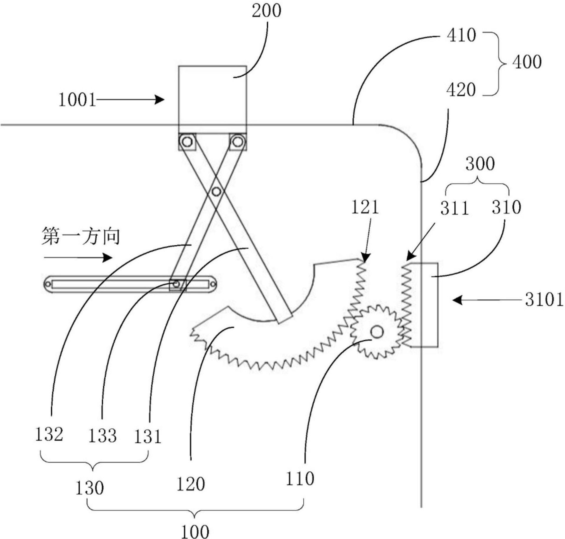
به‌نوشته‌ی گیزموچاینا، شیائومی پتنت جدیدی با محوریت دوربین بالاجهنده (پاپ‌آپ) در گوشی‌های هوشمند ثبت کرده است. مفهوم دوربین بالاجهنده در موبایل‌های امروزی به‌طورکامل به دست فراموشی سپرده شده؛ اما پتنتی که شیائومی ثبت کرده است، مکانیزم متفاوتی دارد و تا حدی جلب توجه می‌کند. شیائومی بدون ارائه‌ی توضیحاتی شفاف ادعا کرده است که این مکانیزم بدون صدمه‌زدن به صفحه‌نمایش دستگاه از آن استفاده می‌کند.

پتنت جدید شیائومی را یکی از زیرمجموعه‌های این شرکت ثبت و مجوزهای رسمی را از اداره‌ی مالکیت معنوی چین دریافت کرده است. شیائومی در توضیحات پتنت، آن را «مکانیزم متحرک برای دوربین گوشی‌های هوشمند» معرفی کرده و گفته است که مکانیزم حرکتی از بخش ورودی برق و صفحه‌ی ارتباطیِ میانی و بخش خروجی برق تشکیل شده است. بقیه‌ی توضیحات پتنت غالباً جملات نامفهوم و فنی است.

پتنت جدید دوربین بالاجهنده پاپ آپ شیائومی

به‌نظر می‌رسد شیائومی قصد دارد داخل دستگاه از سیستمی مکانیکی برای حرکت‌دادن دوربین استفاده کند. گفته می‌شود گنجاندن این سیستم در گوشی، هزینه‌ی زیادی به شرکت چینی تحمیل نمی‌کند. به‌علاوه، استفاده از این سیستم باعث نمی‌شود که ضخامت دستگاه افزایش پیدا کند.

در سال‌های گذشته، دوربین بالاجهنده در دستگاه‌های زیادی آزموده شد؛ اما درنهایت از آن استقبال نشد و شرکت‌های تولیدکننده‌ی گوشی روی آن خط قرمز کشیدند. گوشی‌سازان در تلاش‌اند با انتقال دوربین سلفی به زیر نمایشگر، بدون نیاز به استفاده از سیستم بالاجهنده دستگاهی تمام‌صفحه بسازند. فراموش نکنید که اکثر پتنت‌ها هرگز به محصولی واقعی تبدیل نمی‌شوند؛ بنابراین، تا زمانی که شیائومی چیزی اعلام نکند، همه‌چیز در حد شایعه باقی می‌ماند.

دیدگاه شما کاربران زومیت درباره‌ی اقدام شیائومی برای احیای مکانیزم بالاجهنده چیست؟

تبلیغات
داغ‌ترین مطالب روز
تبلیغات

نظرات