هواوی پتنتی با موضوع گوشی هوشمند منعطف با طراحی پیچیده‌ ثبت کرده است

دوشنبه 26 آبان 1399 - 12:30
مطالعه 3 دقیقه
هواوی پتنتی با موضوع گوشی هوشمند تاشو صدفی ثبت کرده است که طراحی پیچیده‌ای در بخش لولا دارد.
تبلیغات

تولیدکنندگان گوشی هوشمند همیشه سعی در بهتر کردن دستگاه‌های خود دارند. مدتی پیش ترند جدیدی برای ساخت تلفن‌ همراه ایجاد شد که بر اساس آن، دستگاه‌هایی با نمایشگر منعطف تولید شدند. در این میان سامسونگ و هواوی اولین تولیدکنندگان گوشی‌ هوشمند منعطف بودند. هواوی توانست دستگاهی تولید کند که توانایی رقابت با گوشی هوشمند سامسونگ داشت و به همین دلیل، رقابت این دو شرکت از همیشه بیشتر شدت گرفت. به‌تازگی این غول سازنده تلفن همراه چینی بار دیگر خبرساز شده است.

درحالی‌که هواوی هنوز در بازار گوشی‌ هوشمند با مشکلات بزرگی روبه‌رو است، همچنان طراحی محصولات جدید را در برنامه‌ی خود دارد. اخیرا خبری منتشر شده است که از ثبت پنت یک دستگاه تاشوی صدفی (Clamshell) خبر می‌دهد.

ترند جدید دنیای فناوری، گوشی‌های هوشمند تاشوی صدفی هستند؛ به همین دلیل هواوی تصمیم گرفته است که نسخه‌ی اختصاصی خود را در این فرمت طراحی و شاید روزی تولید کند.

گوشی هوشمند هواوی

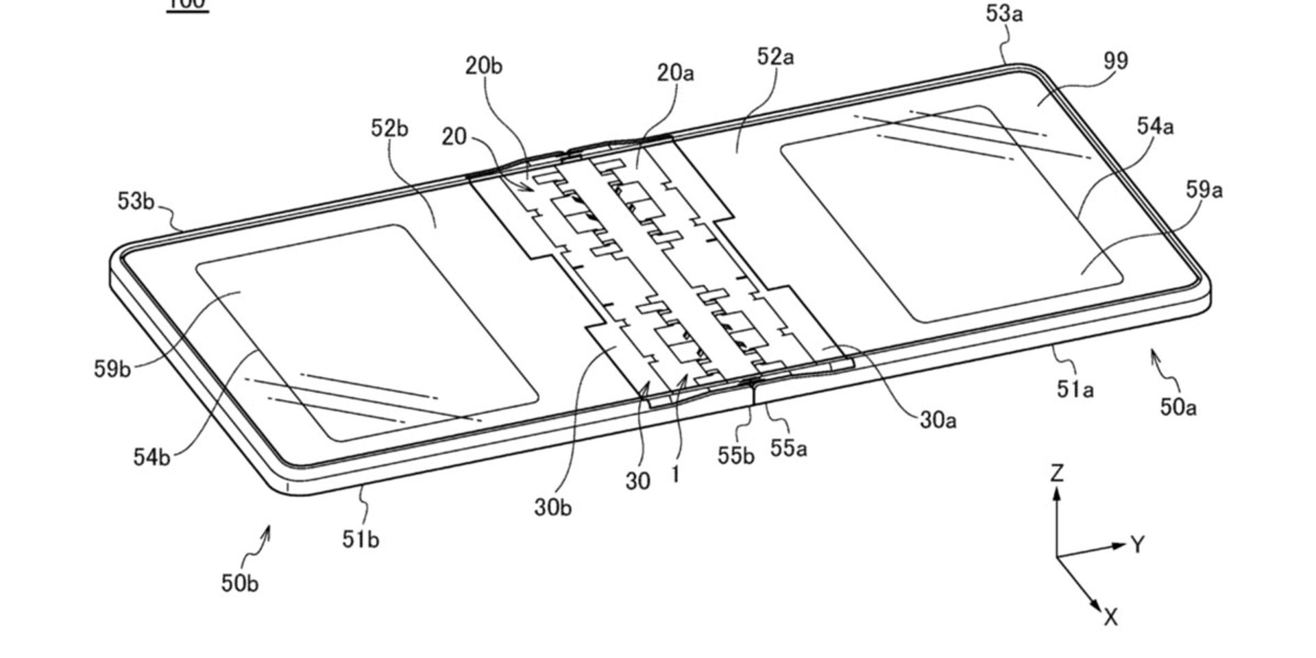
پتنتی که شانزدهم آوریل ۲۰۱۹ ثبت شده است، تلفن هوشمند لولاداری را نشان می‌دهد که یادآور Samsung Galaxy Z Flip است. در توضیحات این پتنت درباره‌ی شیوه‌ی طراحی خلاقانه و پیچیده‌ی لولاهای این دستگاه نوشته شده است. بر اساس اطلاعات منتشرشده، اخبار این پتنت ابتدا در رسانه خبری WindowsUnited منتشر شده و سپس Incopat گزارشی درباره‌ی آن منتشر کرده است.

از مشکلاتی که بسیاری از دستگاه‌های تاشو حال حاضر دارند می‌توان به چین‌خوردگی نمایشگر اشاره کرد که باعث می‌شود کار کردن با آن‌ها لذت کافی را به کاربر منتقل نکند. به همین دلیل هواوی در طراحی خود با استفاده از یک سیستم پیچیده‌ی لولا، کاری کرده است که این چین‌خوردگی از بین رود. درواقع با طراحی خاص ماژولار این پتنت، دستگاه تولیدشده هیچ‌گاه در حالت بسته بودن به‌طور کامل تا نخواهد شد و به همین دلیل در نمایشگر آن چین‌خوردگی نمی‌بینیم. در ادامه می‌توانید پتنت هواوی را مشاهده کنید:

پتنت گوشی هوشمند تاشوی هواوی

می‌توان گفت طراحی مذکور شباهت بسیاری به گوشی‌های هوشمند موتورولا Razr و نسخه‌ی 5G آن دارد. البته این پتنت در سال ۲۰۱۹ و پیش از انتشار بعضی از گوشی‌های هوشمند تاشو طراحی شده است؛ درنتیجه می‌توان گفت از خلاقیت بالایی برخوردار است.

درواقع علم پشت شیوه‌ی طراحی لولا تمایز اصلی شرکت‌های مختلف سازنده تلفن‌ منعطف است. هیچ‌وقت نمی‌توان از تولید دستگاهی که دقیقا شبیه به پتنت ثبت‌شده است اطمینان داشت؛ اما به ‌نظر می‌رسد این شرکت در آینده‌ای نه‌چندان دور گوشی هوشمند تاشوی صدفی تولید خواهد کرد که نمایشگر آن چروکیده نمی‌شود.

شرکت‌های سازنده‌ی تلفن همراه همیشه در حال بهبود دستگاه‌های خود هستند و این مسئله هیچ وقت به پایان نمی‌رسد؛ به همین دلیل انتظار می‌رود تولیدکنندگان دیگر نیز به‌زودی از این سیستم برای ساخت خط تولید جدیدی برای دستگاه‌های منعطف خود استفاده کنند.

نظر شما کاربران زومیت درباره‌ی پتنت گوشی تاشوی صدفی هواوی چیست؟ آیا حاضر هستید گوشی هوشمندی با این طراحی خریداری کنید؟

نظرات