پتنت جدید مایکروسافت، انتقال گرمای سرفیس بوک را متحول می‌کند

یک‌شنبه 20 بهمن 1398 - 19:29
مطالعه 2 دقیقه
مایکروسافت پتنت جدیدی متمرکز بر طراحی بخش‌های انتقال گرما ثبت کرد که ظاهرا در نسل بعدی سرفیس بوک استفاده خواهد شد.
تبلیغات

مایکروسافت احتمالا در نسل بعدی سرفیس بوک، فناوری‌ها و قابلیت‌های جدید و حرفه‌ای زیادی را اضافه خواهد کرد. سرفیس بوک ۳ که از مدت‌ها پیش مورد انتظارترین محصول طرفداران مایکروسافت بوده است، ظاهرا با طراحی جدیدی در سیستم مدیریت گرما عرضه خواهد شد؛ سیستمی که دمای لپ‌تاپ مایکروسافت را در شرایط پردازشی متعدد و متنوع، در بازه‌ی مناسب نگه می‌دارد.

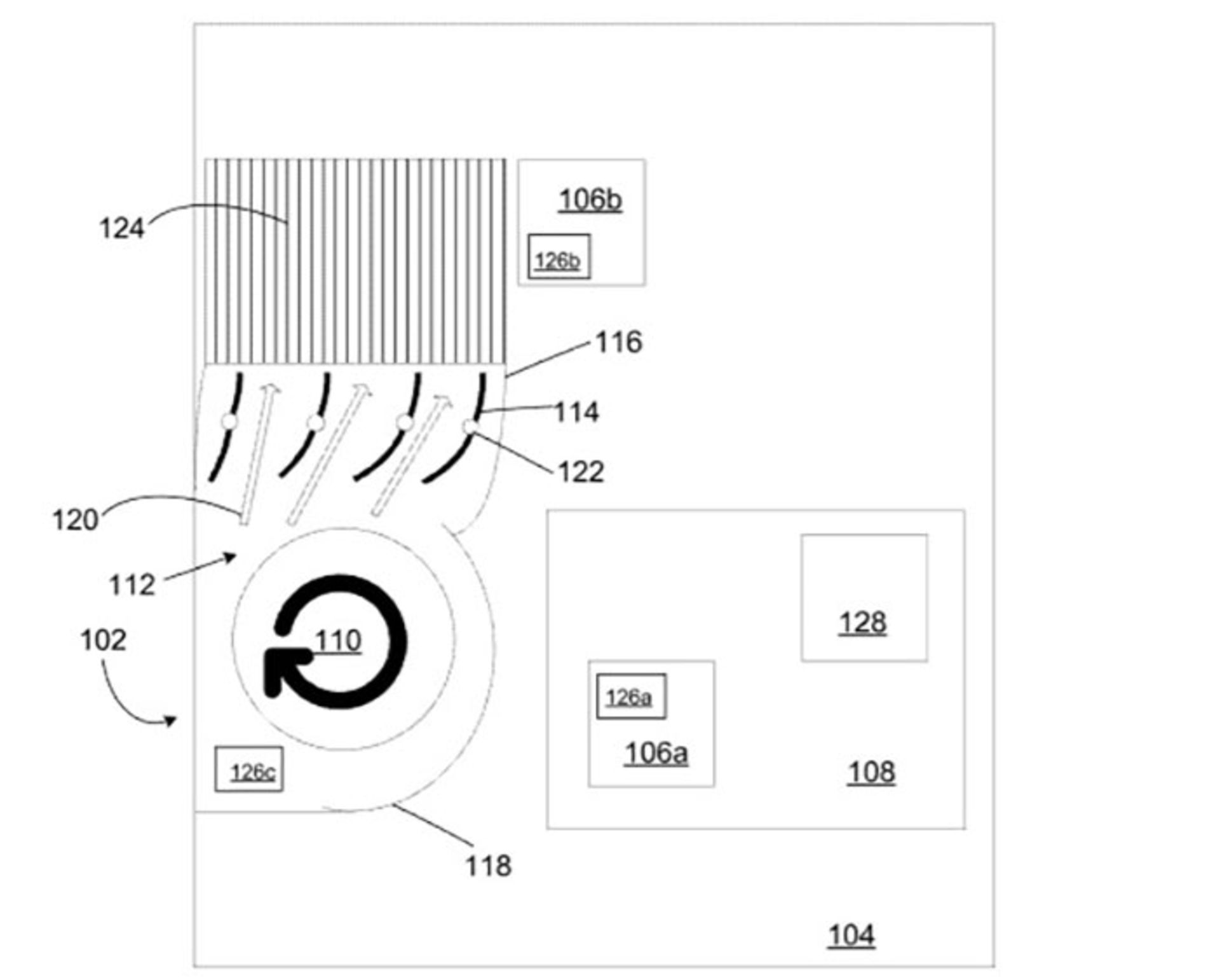
اطلاعات پتنت جدید مایکروسافت نشان می‌دهد که ردموندی‌ها در لپ‌تاپ سرفیس بوک ۳ از سیستم‌‌های هدایت هوای انطباقی استفاده خواهند کرد. اطلاعات توضیحی پتنت می‌گویند که محصول نهایی، جزو خانواده‌ی سرفیس خواهد بود، اما فناوری اصلی را می‌توان در انواع دیگر دستگاه مانند کنسول‌های بازی نیز به‌کار برد. مایکروسافت در اسناد پتنت ادعا می‌کند که سیستم هدایت هوای گرم، مدیریت گرما را به‌صورت بهینه‌تری انجام می‌دهد و امواج مکانیکی حاصل از گردش فن را نیز در انواع سرعت‌ها به حداقل می‌رساند.

پتنت سیستم هدایت گرما مایکروسافت

در بخشی از سند پتنت مایکروسافت، به تأثیر سیستم خنک‌کننده‌ی جدید بر طول عمر دستگاه اشاره می‌شود. ردموندی‌ها ادعا می‌کنند که مدیریت بهینه‌ی گرما، کارایی بهتر و عمر بیشتری را برای دستگاه اصلی به‌همراه دارد. سیستم جدید شامل یک فن می‌شود که هوا را به‌سمت خروجی اختصاصی هدایت می‌کند. یک سیستم هدایت هوا به‌صورت موازی با خروجی فن طراحی شده است که انتقال گرما به خارج از بدنه را برعهده دارد. یکی از بخش‌های سیستم هدایت، به‌صورت متحرک و هم‌زمان با افزایش و کاهش سرعت فن عمل می‌کند تا هدایت گرمایی در همه‌ی مواقع با بازدهی بالا انجام شود.

عملکرد سیستم هدایت هوای انطباقی، احتمالا با تکیه بر دمایی تنظیم می‌شود که حسگرهای دمایی در سیستم تشخیص می‌دهند. باتوجه به داده‌های دریافت شده، سرعت فن تنظیم شده و همچنین بخش متحرک هدایت هوا نیز برای عملکرد بهینه، تغییر زاویه می‌دهد. مایکروسافت سیستم جدید را به‌صورت اختصاصی برای لپ‌تاپ‌ها و دستگاه‌های هیبریدی دو در یک طراحی کرده است و در بخش‌های متعدد پتنت، کارایی و بازدهی بیشتری را برای آن ادعا می‌کند.

نظرات