پتنت جدید اپل؛ چشم‌انداز گسترده اکوسیستم شارژ بی‌سیم

چهارشنبه 17 دی 1399 - 10:00
مطالعه 4 دقیقه
اپل در حال تحقیق در مورد ادغام سیم‌پیچ‌های متعدد شارژ القایی در مک‌بوک و آیپد است تا از آن‌ها برای شارژر بی‌سیم دستگاه‌های دیگر استفاده کند.
تبلیغات

اپل مدت‌ها است به‌ سمت دستگاه‌های کاملا بی‌سیم حرکت می‌کند و شاید دلیلی بر این ادعا، مگ‌سیف باشد. غول دنیای فناوری در زمان معرفی خانواده‌ی آیفون‌ ۱۲ از شارژر مگ‌سیف (MagSafe) رونمایی کرد که با استفاده از آهن‌رباهای استفاده‌شده در پشت آیفون‌های جدید، به‌صورت بی‌سیم به گوشی متصل می‌شود و آن ‌را شارژ می‌کند. از همان زمان، شایعه‌ی حذف کامل درگاه لایتنینگ و جایگزین شدن آن با مگ‌سیف بیش از هر زمان دیگری داغ کرده است. MacRumors به نقل از اپل پتنتلی گزارشی تدوین کرده است که نشان می‌دهد نقشه‌ی راه اپل برای روی آوردن به شارژ القایی، بسیار گسترده خواهد بود و ظاهرا اپل برای استفاده از این فناوری بسیار مصمم است.

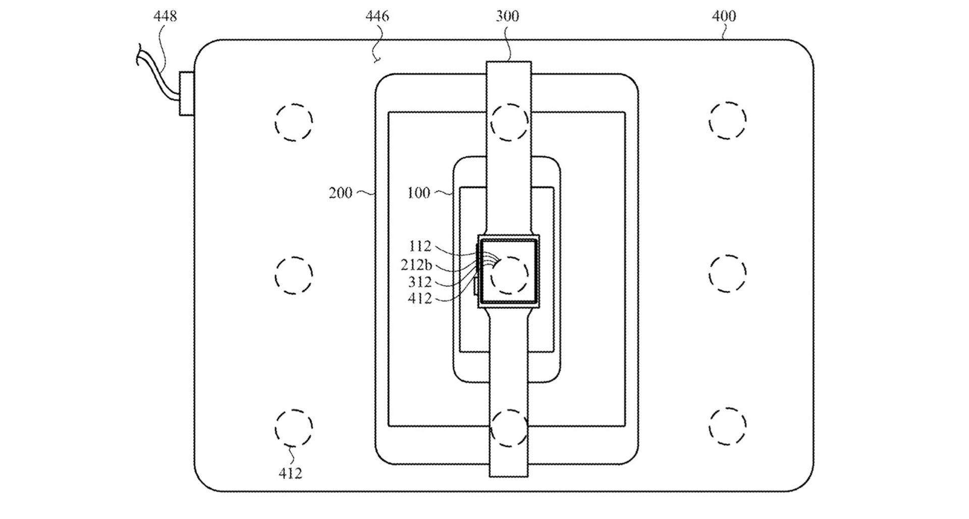
اختراع ثبت‌شده اپل در اداره‌ی ثبت اختراعات و علائم تجاری ایالات متحده با عنوان «شارژ القایی بین دستگاه‌های الکترونیکی»، به تفصیل مکانیزم و روش‌هایی می‌پردازد که با استفاده از آن می‌توان چندین محصول را به‌صورت بی‌سیم و با استفاده از دستگاه مجاور شارژ کرد. به عبارتی، اختراع یادشده نشان می‌دهد چگونه دستگاه‌هایی از جمله اپل واچ، آیفون، آیپد و مک‌بوک می‌توانند با تعامل با یکدیگر از اکوسیستمی واحد برای شارژ بی‌سیم بهره‌مند شوند. با استناد به تصاویر پتنت، جدیدترین اختراع اپل برای تسهیل فرایند سیستم تعداد زیادی جایگذاری مختلف سیم‌پیچ برای مجموعه‌ای از دستگاه‌های قابل حمل ارائه می‌دهد.

اپل انواع مختلف پیاده‌سازی‌ برای انتقال بی‌سیم شارژ از دستگاهی به دستگاه دیگر در نظر گرفته است. به‌عنوان مثال، دَرِ مک‌بوک می‌تواند شامل مجموعه‌ای از سیم‌پیچ‌های القایی روبه‌بالا باشد که به دستگاه‌ها اجازه می‌دهد با قرار گرفتن در بالای آن شارژ شوند. کویل‌ها همچنین می‌توانند روی تکیه‌گاه‌های کف و نمایشگر مک‌بوک قرار بگیرند. نکته‌ی اساسی این است که سیستم شارژ بی‌سیم دوطرفه خواهد بود و دستگاه‌ها قادر به دریافت و انتقال نیرو از طریق سیم‌پیچ القایی هستند و به کاربران امکان می‌دهد تصمیم بگیرند که کدام دستگاه را شارژ کنند. همچنین ممکن است نرم‌افزار با تشخص درصد شارژ، به‌طور خودکار شارژ شدن دستگاه‌ها را اولویت‌بندی کند.

به نظر می‌رسد استراتژی پیشنهادی اپل شامل کویل‌های شارژ القایی با موقعیت دقیق در هر دستگاه قابل حمل اپل باشد. به‌عنوان مثال، اپل در اختراع مذکور توضیح می‌دهد چگونه می‌توان سیم‌پیچ‌ها را در امتداد جلو و عقب آیپد قرار داد و این امکان را برای آیپد فراهم می‌کند که هنگام انتقال شارژ، خود را از طریق دستگاه دیگری که به کویل‌های جانبی مجهز شده است شارژ کند. به زبان ساده‌تر آیپد به‌صورت بی‌سیم و هم‌زمان می‌تواند هم شارژ شود و هم دستگاهی را شارژ کند. سیستم پیشنهادی با وجود تعداد زیادی ترکیب و جایگذاری دستگاه، بسیار قابل انعطاف است.

پتنت اپل مرتبط با شارژ القایی مک و آیپد

اپل ادعا می‌کند که مجموعه‌ای از دستگاه‌ها می‌توانند با هم از یک منبع تغذیه شارژ شوند. در یکی از تصاویر، فرایند شارژ شدن اپل واچ از آیفون، ‌آیفون از آیپد، آیپد از مک‌بوک و در نهایت، مک‌بوک از کابل برق به تصویر کشیده شده است. در متن همراه تصویر آمده است که برای شارژ یک یا چند گروه از دستگاه‌هایی که شامل سیم‌پیچ القایی ارتباطی الکتریکی هستند، ممکن است فقط به یک سیم برق نیاز باشد.

اپل همچنین مجموعه‌ای از ادغام‌های نرم‌افزاری برای سیستم شارژ بی‌سیم دستگاه به دستگاه در نظر گرفته است. وقتی دستگاه کوچک‌تری مانند اپل واچ روی نمایشگر دستگاه بزرگ‌تری مثل ‌آیپد قرار می‌گیرد، نمایشگر ‌آیپد می‌تواند شرایط تراز بودن و درصد شارژ آن را نشان دهد. یکپارچه‌سازی نرم‌افزاری مبتکرانه دیگری پیشنهاد می‌کند که در هنگام شارژ آیفون، اگر روی نمایشگر آیپد مانعی ایجاد شود، رابط کاربری آیپد می‌تواند فقط برای نمایش محتوا در قسمت بدون مانع از صفحه تنظیم شود.

پتنت اپل مرتبط با شارژ القایی آیپد

در مستندات اختراع یادشده بارها به سیستمی متشکل از آهن‌رُبا اشاره شده است که کاملا مشابه سیستم مگ‌سیف به نظر می‌رسد و می‌توان از آن برای تراز کردن دستگاه‌ها با یکدیگر در هنگام شارژ استفاده کرد. اپل در این باره می‌گوید:

در برخی از تجسم‌ها، دستگاه الکترونیکی شامل یک آهنربای تراز خواهند بود که در مجاورت سیم‌پیچ القایی قرار گرفته است. آهنربای تراز ممکن است برای کمک به موقعیت دستگاه خارجی نسبت به دستگاه الکترونیکی پیکربندی شده باشد.

اختراع مورد بحث به این نکته اشاره دارد که سیستم تراز مغناطیسی می‌تواند در هر یک از دستگاه‌های قابل حمل استفاده شود تا تجربه شارژ بی‌سیم بهتر ارائه دهد. مطمئنا منطقی است که غول دنیای فناوری، ‌مگ‌سیف یا سیستم مشابه آن را به دستگاه‌های بیشتری برای پشتیبانی از اکوسیستم شارژ بی‌سیم خود گسترش دهید. در حال حاضر شارژ القایی با استفاده از مگ‌سیف فقط به خانواده‌ی آیفون ۱۲ محدود می‌شود؛ اما اگر اپل فناوری پیشنهادی را یکپارچه کند، یک اکوسیستم شارژ بی‌سیم در تمام دستگاه‌های قابل حمل خود ایجاد خواهد کرد. سیستم شارژ القایی از دستگاهی به دستگاه دیگر عملی به نظر می‌رسد و به اپل کمک می‌کند طیف وسیعی از روش‌های شارژ برای محصولاتش ایجاد کند؛ اما مشخص نیست چگونه اپل می‌تواند مشکلات حرارتی یا سایر محدودیت‌های اجتناب‌ناپذیری را برطرف سازد.

ورود شارژ مگ‌سیف به خانواد‌ه‌ی آیفون ۱۲ نشانگر علاقه اپل به راه‌ حل‌ شارژ بی‌سیم است و عمق تحقیقات این شرکت نشان می‌دهد که چقدر دقیق چنین سیستم‌هایی مورد بررسی قرار گرفته است. اما ثبت اختراع نشان‌دهنده‌ی موضوعات دلخواه واحد تحقیق‌ و ‌توسعه شرکت‌ها است و تضمین‌کننده‌ی ارائه‌ی آن در محصول یا خدمات آینده به‌حساب نمی‌آید.

دیدگاه شما کاربران زومیت درباره‌ی اختراع جدید اپل و تسهیل فرایند شارژ بی‌سیم چیست؟

نظرات