نسل بعدی کامپیوترهای مک ممکن است به صفحه‌کلید تطبیقی مجهز شوند

چهارشنبه 10 دی 1399 - 21:30
مطالعه 3 دقیقه
اپل در حال تحقیق روی صفحه‌کلیدی است که در بطن آن‌ها، نمایشگرهایی برای تغییر پویای محتوا تعبیه شده است.
تبلیغات

به‌گزارش وب‌سایت MacRumors و با استناد به پتنت بایگانی‌شده در Patently Apple، به‌نظر می‌رسد غول دنیای فناوری در حال تولید نسل بعدی صفحه‌کلید کامپیوترهای مک باشد. کوپرتینویی‌ها تقریبا از سال ۲۰۱۶ و ادغام نمایشگر تطبیقی تاچ بار (Touch Bar) با صفحه‌کلید مک‌ها، تغییر خاص دیگری در این بخش اعمال نکرده‌اند. در واقع، آخرین تغییر جزئی به حذف مکانیزم پروانه‌ای و استفاده از مکانیزم قدیمی موسوم به «قیچی» در صفحه‌کلید مک‌بوک پرو ۱۶ و بعد از آن مربوط می‌شود. ناگفته نماند صفحه‌کلیدهای مستقل مجیک کیبورد (Magic keyboard) نیز مدتی است که به‌روز نشده‌اند و به‌نظر می‌رسد زمان مناسبی برای توسعه‌ی نسل جدید آن‌ها باشد.

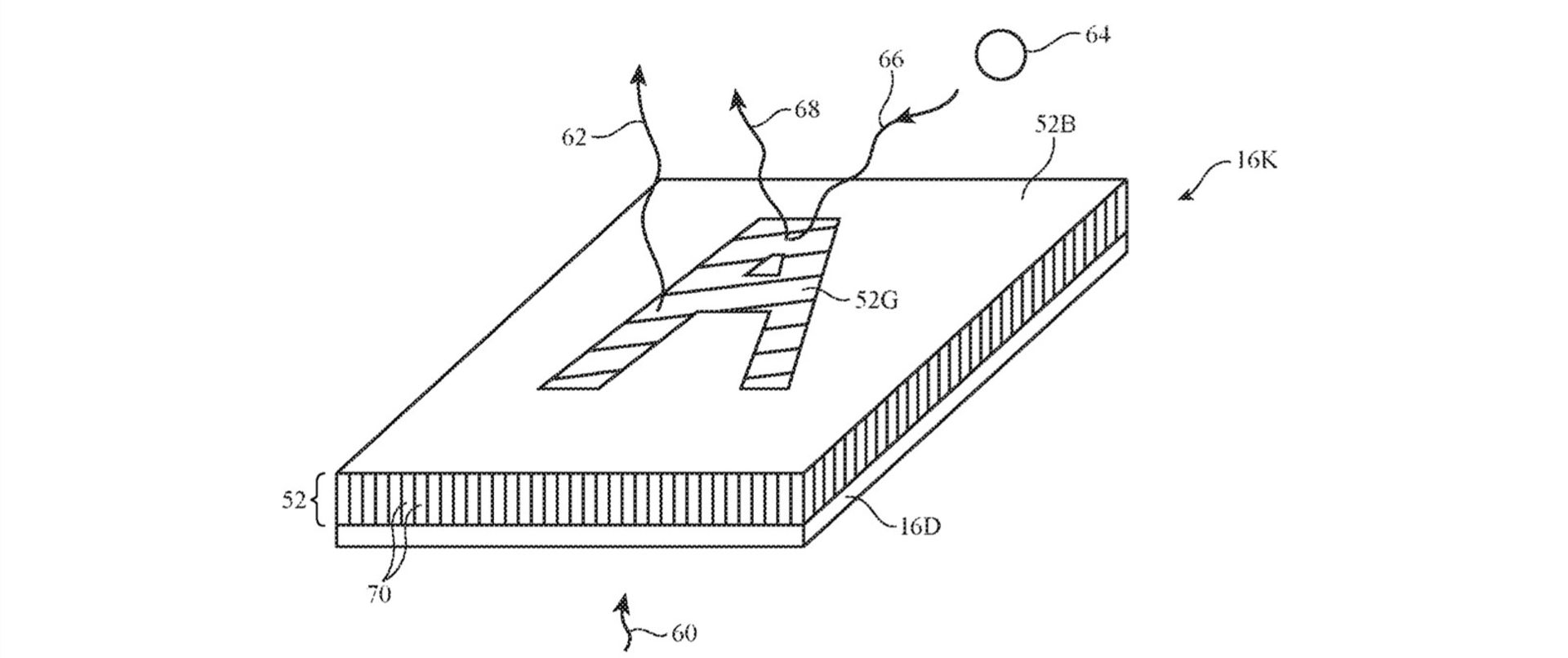
اختراع اپل در اداره‌ی ثبت اختراعات و علائم تجاری ایالات متحده با عنوان «دستگاه‌های الکترونیکی مجهز به کلیدهایی با فیبرهای منسجم» سیستم و مکانیزمی را شرح می‌دهد که باعث می‌شود صفحه‌کلید کامپیوترهای مک به‌صورت تطبیقی محتوای خود را تغییر دهند و این امکان را فراهم می‌کند که کاربر بتواند آن‌ها را بیشتر شخصی‌سازی کند.

پتنت اپل مرتبط صفحه‌کلید تطبیقی مک

اپل در مستندات اختراع یادشده توضیح می‌دهد چگونه هر کلید نصب‌شده روی صفحه‌کلید می‌تواند نمایشگری کوچک را در بطن خود جای دهد که ازطریق بسته‌ی فیبر منسجم به مدارهای کنترل صفحه‌کلید متصل می‌شود. اپل پیشنهاد می‌کند هر کلید می‌تواند از صفحه‌ی فیبر نوری با سطوح متضاد اول و دوم تشکیل شود.

در جدیدترین اختراع کوپرتینویی‌ها آمده است که هر کلید برای نمایش محتوای تطبیقی به نمایشگری کوچک نیاز دارد که با هر آرایه‌ی پیکسلی سازگار با آن کار می‌کند؛ اما در‌حقیقت، اصلی‌ترین فناوری استفاده‌شده در آن‌ها نمایشگرهای OLED خواهد بود. هر کلید ممکن است از موادی مانند شیشه، سرامیک، فلز و پلیمر یا حتی مواد بلوری مانند یاقوت کبود ساخته شود.

پتنت اپل مرتبط صفحه‌کلید تطبیقی مک

سیستم مذکور به کاربران امکان می‌دهد برچسب‌های اطلاعاتی روی هر کلید را درصورت لزوم تغییر و شخصی‌سازی کنند. برای مثال، می‌توان صفحه‌کلیدها را برای زبان‌های مختلف تغییر داد و موقتا صفحه‌کلیدی استاندارد را به صفحه‌کلیدی مخصوص گیمینگ تبدیل کرد که در آن، کلیدهای مربوط به عملکردهای خاص درون بازی شخصی‌سازی شده‌اند. درنهایت، هر کلید را می‌توان باتوجه‌به سطح فشار واردشده به آن پیکربندی کرد.

در فرایند پیشنهادی اپل، هر کلید می‌تواند بازخورد بصری را برای نشان‌دادن وضعیت فعلی هر کلید ارائه دهد که با حروف بزرگ‌و‌کوچک یا قابلیتی فعال هنگام بازی کامپیوتری مطابقت دارد. تصاویر موجود در پتنت نشان می‌دهد صفحه‌کلید تطبیقی​​ می‌تواند در محفظه‌ی لپ‌تاپ و صفحه‌کلید جداگانه برای کامپیوترهای رومیزی، مانند آی‌مک و مک پرو تعبیه شود. از قرار معلوم سیستم یادشده با کلیدهای گنبدی یا مکانیزم قیچی صفحه‌کلیدهای فیزیکی تداخلی نخواهد داشت.

برخلاف سایر اختراعات اپل، ازجمله صفحه‌کلیدهای شیشه‌ای ثابت یا صفحه‌های حساس به لمس، غول فناوری کوپرتینو صریحا پیشنهاد می‌کند از این سیستم می‌توان برای استفاده در کلید‌های متحرک بهره گرفت؛ بنابراین، اپل می‌تواند از‌نظر تئوری طراحی مجیک کیبورد خود را حفظ کند.

اپل هر هفته اختراعات بی‌شماری ثبت می‌کند. درواقع، ثبت اختراع نشان‌دهنده‌ی موضوعات دلخواه واحد تحقیق‌و‌توسعه شرکت‌ها محسوب می‌شود؛ درحالی‌که تضمین‌کننده‌ی ارائه‌ی آن در محصول یا خدمات آینده به‌حساب نمی‌آید؛ اما باتوجه‌به اینکه اپل با استفاده از تاچ بار در مک‌بوک پرو علاقه‌ی خود را به نمایشگرهای تطبیقی نشان داده است، به‌نظر می‌رسد در آینده‌ای نزدیک از فناوری مشابهی در صفحه‌کلید کامپیوترهای مک استفاده کند.

نظرات