پتنت کانن از احتمال ساخت سنسور Dual Pixel BSI خبر می‌دهد

سه‌شنبه 18 آذر 1399 - 14:20
مطالعه 4 دقیقه
پتنت جدید کانن به‌صورت غیر مستقیم نشان می‌دهد این شرکت موفق ‌به ساخت حسگر Dual Pixel BSI شده است؛ دستاوردی که اهمیت فراوانی برای کانن دارد.
تبلیغات

کانن به‌تازگی پتنت جدیدی با محوریت طراحی حسگرهای تصویر ثبت کرده است که شباهت زیادی به نحوه‌ی طراحی حسگرهای BSIا(Backside Illumination به ‌معنی روشنایی از پشت) ساخت سونی دارد. در پتنت جدید کانن شاهد ترکیب فناوری BSI با فناوری دوال پیکسل (Dual Pixel) هستیم؛ موضوعی که در نهایت ممکن است به جهشی روبه‌جلو در تصویربرداری شبانه، گستره‌ی داینامیکی و سرعت خواندن منتهی شود.

طراحی حسگر جدید کانن در پتنت جدیدی که این شرکت به‌صورت رسمی ثبت کرده است، به‌تصویر کشیده شده. در این پتنت به‌طور واضح اشاره نمی‌شود که با حسگر BSI طرف هستیم؛ بااین‌حال وقتی حسگر کانن را با حسگرهای BSI مقایسه می‌کنیم، شباهت‌ها بسیار چشم‌گیر هستند و نمی‌توان آن‌ها را نادیده گرفت. 

در طراحی زیر که متعلق ‌به سونی است، می‌توانید ساختار حسگر BSI را مشاهده کنید:

طرح سنسور BSI سونی

این تصویر متعلق‌به حسگرهای BSI سونی است

سونی در سال ۲۰۰۸ موفق شد این نوع از حسگرهای سیماس (CMOS) را توسعه دهد. گزارش‌هایی تأییدنشده می‌گویند کانن از ژانویه‌ی ۲۰۱۹ (دی و بهمن ۱۳۹۷)  تلاش‌هایی برای طراحی حسگری مشابه‌ حسگرهای BSI سونی انجام داده است. در آن زمان صرفا به احتمال ساخت حسگر Dual Pixel BSI اشاره شد؛ اما هرگز شاهد به ‌تصویر کشیده ‌شدن طراحی این حسگر در پتنتی مجزا نبودیم. پتنت جدید نشان می‌دهد قصد کانن برای ساخت حسگر Dual Pixel BSI جدی‌تر از آن است که فکر می‌کردیم.

در حالت عادی لنزها با فرمولی شبیه به نحوه‌ی کارکرد چشم انسان ساخته می‌شوند؛ بدین صورت که لنز در جلوی سیم‌کشی‌ها قرار می‌گیرد و در بخش پشتی شاهد فتودیتکتور (Photodetector) هستیم. حسگر BSI از همین المان‌ها استفاده می‌کند اما نحوه‌ی چینش‌ آن‌ها را تغییر می‌دهد؛ بدین صورت که فتودیود (Photodiode) در مقابل سیم‌کشی‌ها جای می‌گیرد.

حسگرهای BSI نور بیشتری جذب می‌کنند و سرعت خواندن را افزایش می‌دهند

با روش عادی که اصطلاحا «روشنایی از جلو» نامیده می‌شود، المان‌ها و سیم‌کشی بخشی از نور را منعکس می‌کنند و همین موضوع باعث کاهش سیگنالی می‌شود که امکان ثبت کردنش وجود دارد. حسگرهای BSI با تضعیف ضریب یکنواختیِ پاسخ‌دهی بر این مشکل غلبه می‌کنند؛ اما هم‌زمان عملکردشان در محیط‌ کم‌نور بهبود می‌یابد.

حسگرهای BSI طی چند وقت اخیر به محصولاتی مناسب برای بهبود تصویربرداری در محیط‌ کم‌نور تبدیل شده‌اند و گستره‌ی دانامیکی را نیز بهبود می‌بخشند. این نوع  حسگر مزیت دیگری هم دارد و آن، تقویت سرعت خواندن است.

دوربین Sony a9 می‌تواند در حالت تمام‌الکترونیک و به ‌شکلی کم‌صدا و بدون مواجهه با خاموشی، در هر ثانیه تعداد بسیار زیادی فریم ثبت کند. کارشناسان می‌گویند یکی از دلایل اصلی که باعث می‌شود دوربین مورد بحث چنین توانایی مفیدی داشته باشد، حضور حسگر BSI-CMOS در آن است. در نظر داشته باشید که سونی فناوری‌هایی اختصاصی و ویژه دارد که می‌توانند با سرعت دو برابر رقبا اطلاعات را از حسگر استخراج کنند؛ اما هرگز نمی‌توان از مزایایی که BSI در چنین شرایطی ارائه می‌دهد چشم‌پوشی کرد.

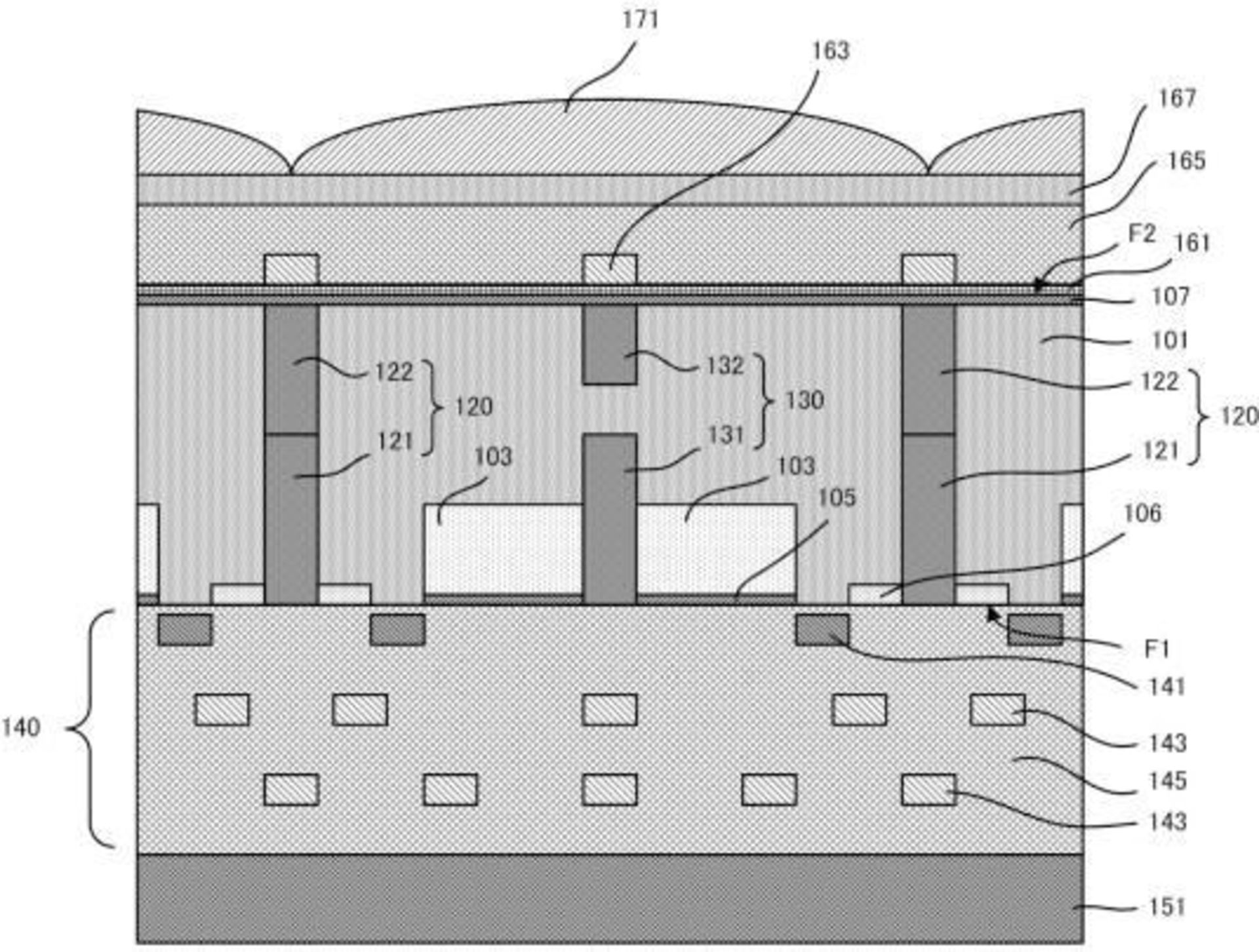
پتنت سنسور BSI کانن

با نگاهی نزدیک‌تر به پتنت کانن متوجه می‌شویم ساختارِ به ‌تصویر کشیده‌شده  به طرح کلی حسگرهای BSI شباهت بسیار دارد. در بخشی از پتنت می‌خوانیم: «با توجه به اختراعی که طرحش را می‌بینید، این دستگاه تصویربرداری حالت جامد (SSI) مجهز به ساختاری سودمند برای ثبت تصویر است؛ ساختاری که مطابق روشی سودمند ساخته شده .»

توضیحاتی که همراه‌ پتنت‌ها منتشر می‌شوند، همیشه شفافیت خیلی زیادی ندارند و ممکن است خواننده را گمراه کنند. کانن اساسا در تلاش است بگوید روش ساخت حسگر جدیدش نه‌تنها ساده‌تر از روش‌های دیگر است بلکه باعث می‌شود تک‌تک پیکسل‌های حسگر بتوانند نور بیشتری جذب کنند. طرح کلی پتنت به ‌گونه‌ای است که ما را یاد ساختار حسگرهای BSI می‌اندازد. 

کانن یکی از شرکت‌های انگشت‌شماری است که از فناوری حسگرهای سونی در دوربین‌های خود استفاده نمی‌کند و دقیقا به ‌همین دلیل است که تاکنون شاهد تولید دوربین BSI با برند کانن نبوده‌ایم. حتی بدون حسگر BSI، کانن موفق شده است در دوربین‌هایی نظیر R5 و R6 به ‌شکلی محسوس عملکرد در محیط‌ه کم‌نور را بهبود بدهد و گستره‌ی داینامیکی بهتری فراهم کند. کانن با ساخت حسگر جدید قطعا خواهد توانست به‌ شکل جدی سراغ رقابت با حسگرهای BSI سونی برود.

نظرات