دوربین بدون آینه‌ی نیکون پایه‌ی لنز سری Z-mount خواهد داشت

یک‌شنبه 24 دی 1396 - 00:00
مطالعه 1 دقیقه
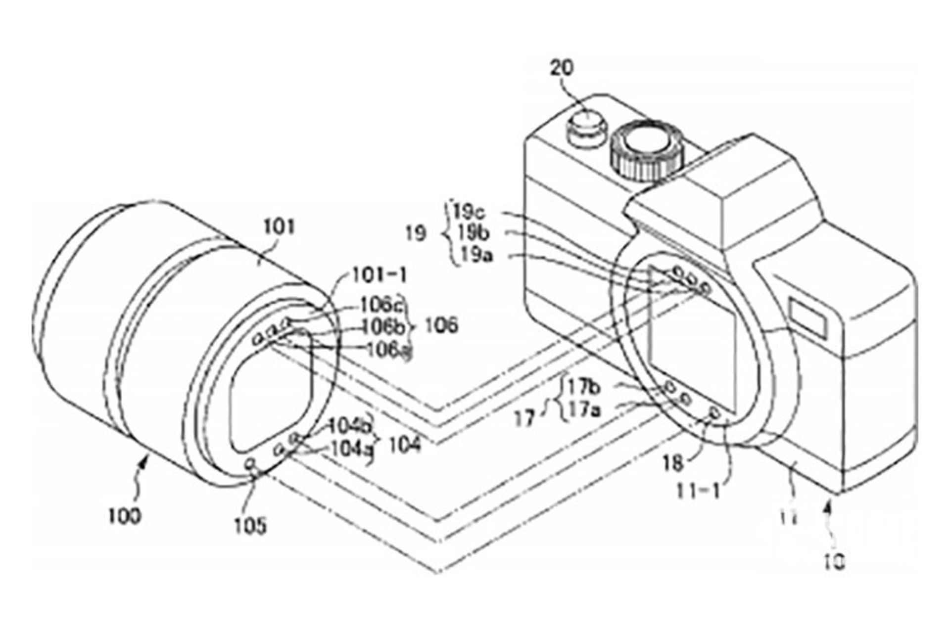
شایعات حاکی از آن هستند که دوربین بدون آینه‌ی نیکون دارای پایه‌ی لنز سری Z-mount با فاصله‌ی ۱۶ میلی‌متری پایه‌ی لنز دوربین تا سنسور خواهد بود.
تبلیغات

تعداد طرفداران دوربین‌ بدون آینه روز‌به‌روز افزایش می‌یابد و شرکت‌های سازنده دوربین به دلیل افزایش تقاضا در بازار دوربین‌ بدون آینه، سعی دارند تمرکز خود را بیشتر روی این دوربین‌ها معطوف کنند. نیکون که تاکنون بیشتر تمرکزش روی بازار دوربین‌های DSLR بود، ای‌نطور که به گوش می‌رسد قصد دارد در سال ۲۰۱۸، دوربین بدون آینه‌ جدیدی معرفی کند.

شایعاتی که در نمایشگاه CES به گوش رسید، بیانگر این هستند که دوربین بدون آینه‌ی نیکون دارای پایه‌ی لنز سری جدید Z-mount با مشخصات زیر خواهد بود.

  • طراحی‌شده برای دوربین‌های فول‌فریم بدون‌آینه
  • قطر دهانه: ۴۹ میلی‌متر
  • فاصله‌ی پایه‌ی لنز دوربین تا سنسور (Flange Focal Distance):ا۱۶ میلی‌متر

به خاطر داشته باشید که نام تجاری نهایی این پایه‌ی لنز ممکن است Z-mount نباشد؛ ولی اطلاعات مربوط به ابعاد آن به احتمال زیاد درست است.

برای مقایسه، نگاهی به ابعاد پایه‌ی لنز F-mount ‌نیکون و E-mount سونی می‌اندازیم:

پایه‌ی لنز F-mount نیکون

  • قطر دهانه: ۴۴ میلی‌متر
  • فاصله‌ی پایه‌ی لنز دوربین تا سنسور: ۴۶.۵ میلی‌متر

پایه‌ی لنز E-mount سونی

  • قطر دهانه: ۴۶.۱ میلی‌متر
  • فاصله‌ی پایه‌ی لنز دوربین تا سنسور: ۱۸ میلی‌متر

نظرات