پتنت سامسونگ، تصویر شماتیکی از گوشی تاشدنی سه‌تکه کره‌ای‌ها را نشان می‌دهد

چهارشنبه 23 آبان 1403 - 20:19
مطالعه 3 دقیقه
گوشی تاشدنی با دو لولا
سامسونگ درخواستی برای پتنت مرتبط با گوشی هوشمند تاشدنی سه‌تکه‌ی خود ثبت کرد.
تبلیغات

اداره‌ی ثبت اختراع و علائم تجاری ایالات متحده (USPTO) اخیراً سند فنی ۲۵ صفحه‌ای درباره مدلی از گوشی سامسونگ منتشر کرده است. این سند که در جولای ۲۰۲۱ (تیر و مرداد ۱۴۰۰) ثبت و در نوامبر ۲۰۲۴ (آبان و آذر ۱۴۰۳) منتشر شد، طراحی سامسونگ برای نمایشگر منعطف و تاشدنی با دوام را در حالت‌های تا و بازشده شرح می‌دهد.

سند ثبت اختراع سامسونگ به گوشی هوشمند تاشدنی سه‌تکه‌ای اشاره می‌کند که می‌توانید برخی از طرح‌های مفهومی آن را در زیر مشاهده کنید.

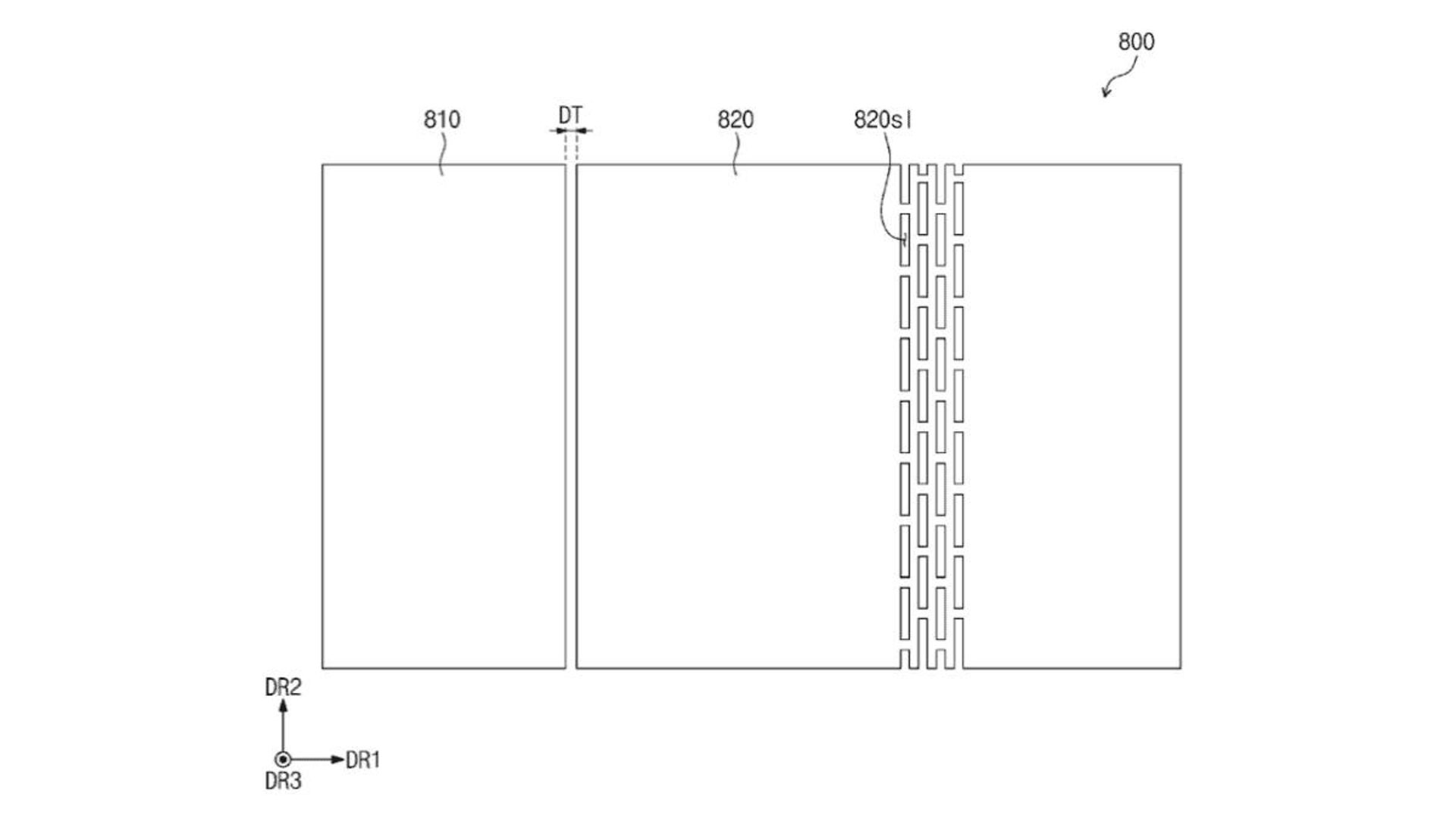
همان‌طورکه مشاهده می‌کنید، پتنت سامسونگ از لایه‌ی محافظ اختصاصی بهره می‌برد که منافذ آن باعث سهولت تاشدن و کاهش فشار روی صفحه‌نمایش می‌شود. صفحات نگه‌دارنده و لایه‌های چسب از مواد بادوام مانند فولاد ضدزنگ یا شیشه ساخته شده‌اند تا به استحکام و ماندگاری نمایشگر در حالت تاشده یا باز کمک کنند.

پتنت سامسونگ برای گوشی هوشمند تاشدنی سه تکه
پتنت سامسونگ برای گوشی هوشمند تاشدنی سه تکه

طبق گفته‌ی سامسونگ، پنل نمایشگر گوشی تاشدنی سه‌تکه‌ی این شرکت برای کاهش انعکاس از لایه‌ی ضدبازتاب از جنس رزین مصنوعی یا سایر مواد ساخته شده است که لایه‌ای شفاف نیز روی آن قرار دارد. این دستگاه لایه‌هایی زیر صفحه‌نمایش نیز دارد که ازجمله می‌توان به لایه‌ی محافظ برای جلوگیری از آسیب‌دیدن مواد خارجی به نمایشگر و لایه‌ی بالشتک برای محافظت اشاره کرد.

پتنت سامسونگ برای گوشی هوشمند تاشدنی سه تکه
پتنت سامسونگ برای گوشی هوشمند تاشدنی سه تکه
پتنت سامسونگ برای گوشی هوشمند تاشدنی سه تکه

شاید هواوی با حدود ۳ میلیون پیش‌سفارش برای میت XT آلتیمیت، امید سامسونگ برای تبدیل‌شدن به پیشرو و آغازگر گوشی‌های هوشمند تاشدنی سه‌تکه را بر باد داده باشد؛ اما به‌نظر می‌رسد به ورود غول فناوری کره‌جنوبی به بازار مذکور نزدیک‌تریم.

پیش‌از این، برخی گزارش‌ها حاکی از آن بود که سامسونگ روی گوشی هوشمند تاشدنی سه‌تکه‌ی جدید کار می‌کند که ظاهراً در سال ۲۰۲۵ عرضه شود. این گوشی از صفحه‌نمایشی بهره خواهد بود که مثل گوشی هواوی دو بار تا می‌شود؛ اما در سرتاسر جهان عرضه خواهد شد و اگر این اتفاق بیفتد، گوشی مذکور می‌تواند یکی از دلایل سامسونگ برای افزایش محموله‌های پنل OLED در سال آینده باشد.

تبلیغات
داغ‌ترین مطالب روز
تبلیغات

نظرات

پتنت سامسونگ، تصویر شماتیکی از گوشی تاشدنی سه‌تکه کره‌ای‌ها را نشان می‌دهد - زومیت