پتنت جدید اپل به استفاده از دوربین پریسکوپی در آیفون اشاره می‌کند

یک‌شنبه 12 بهمن 1399 - 20:00
مطالعه 3 دقیقه
جدیدترین پرونده‌ی ثبت اختراع اپل نشان می‌دهد که این شرکت در حال توسعه‌ی مکانیزمی برای استفاده از دوربین‌های پریسکوپی در گوشی‌های آیفون است.
تبلیغات

اگر اخبار فناوری را دنبال کرده باشید، احتمالا می‌دانید اپل قصد دارد گوشی ‌های محبوب آیفون را در آینده‌ای نزدیک به دوربین پریسکوپی مجهز کند و به‌لطف این دوربین‌ها، بزرگ‌نمایی اپتیکال ۱۰ برابری ارائه دهد. گفته می‌شود اپل ممکن است از اجزا و قطعات ساخت سامسونگ برای ارائه‌ی لنزهای «تله‌فوتو تاشو» در برخی از مدل‌های آیفون ۲۰۲۲ استفاده کند و بزرگ‌نمایی اپتیکال را بدون کاهش کیفیت تصاویر به‌میزان چشمگیری افزایش دهد. بنابر گزارش اپل‌اینسایدر، پتنت جدید کوپرتینویی‌ها باردیگر مُهر تأییدی بر این ماجرا می‌زند و به‌تفصیل تفکر موجود در استفاده از این تکنولوژی را شرح می‌دهد.

پیش‌ازاین، گزارش شده بود که استفاده از سیستم لنزهای تاشو (پریسکوپی) می‌تواند از برجستگی دوربین پشتی گوشی ‌های آیفون بکاهد؛ زیرا دوربین‌های پریسکوپی با خم‌کردن نور این امکان را فراهم می‌کنند که گوشی بزرگ‌نمایی اپتیکال بیشتری ارائه دهد.

درعین‌حال، طراحی این نوع لنزها به‌گونه‌ای است که باعث افزایش ضخامت ماژول دوربین نخواهند شد؛ اما با توجه به ابعاد بزرگ آن، باید فضای کافی برای لنز فیزیکی دوربین ایجاد شود. اعتقاد بر این است که اهالی کوپرتینو مدت زیادی را صرف تحقیق‌وتوسعه‌ی استفاده از این فناوری کرده‌اند و برای اثبات آن، می‌توان انبوهی از پتنت‌ها را در نظر گرفت.

پتنت اپل مرتبط با دوربین پریسکوپی

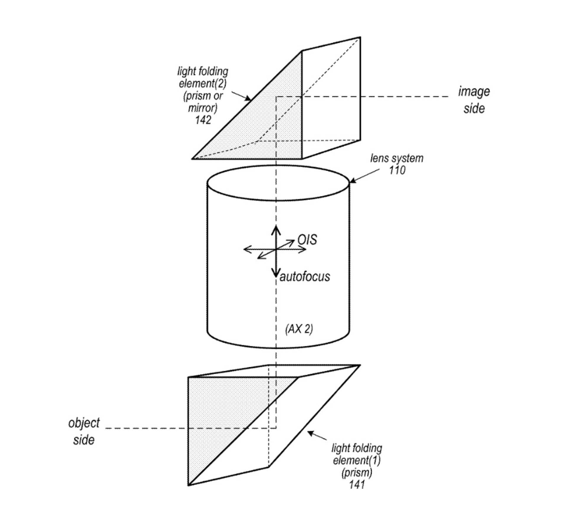
اختراع ثبت‌شده اپل در اداره‌ی ثبت اختراعات و علائم تجاری ایالات متحده با عنوان «دوربین مهجز به دو عنصر خم‌کننده‌ی مسیر نور» به فناوری و مکانیزمی اشاره می‌کند که با استفاده از آن می‌توان تعادل بین داشتن دوربین بهبودیافته را در دستگاهی با ابعاد کوچک مانند آیفون و آیپد حفظ کرد.

اپل در مستندات اختراع مذکور می‌گوید:

ظهور دستگاه‌های چندمنظوره‌ی کوچک و قابل‌حمل مانند گوشی‌های هوشمند و تبلت‌ها به نیاز به دوربین‌هایی کوچک، سبک، جمع‌وجور و قادر به ضبط تصاویر در وضوح چشمگیر منجر شده است و برای دستیابی به این مهم، باید از ضریب F (گشودگی دیافراگم) کمتری بهره گرفت. بااین‌حال، به‌دلیل محدودیت‌های فناوری، دوربین‌های کوچک کنونی که در چنین محصولاتی استفاده می‌شوند، به تصویربرداری با وضوح اندک تمایل دارند. به‌عبارت‌دیگر، درمقایسه‌با دوربین‌های بزرگ‌تر و باکیفیت‌تر، تصاویر را با رزولوشن کمتری ثبت می‌کنند.

اپل می‌گوید برای توسعه‌ی دوربین باید از حسگری با اندازه‌ی پیکسل کوچک و سیستم لنزهای تصویربرداری جمع‌وجور بهره گرفت؛ اما با توسعه‌ی این‌ها، تقاضا برای دوربین‌های بهتر نیز افزایش خواهد یافت و از قرار معلوم، انتظارات فزاینده‌ای برای دوربین‌های کوچک مجهز به تعداد پیکسل بیشتر و حسگرهای تصویربرداری بزرگ‌تر ایجاد می‌شود. با توجه به آنچه گفته شد، شرکت‌ها باید ارتفاع ماژول را حفظ کنند و آن را به‌گونه‌ای طراحی کنند که در دستگاه‌های الکترونیکی قابل‌حمل جای گیرد.

اپل پیشنهاد می‌کند سیستم لنز ممکن است در دوربین به‌گونه‌ای پیکربندی شود که به‌طورمستقل با استفاده از منشور یا آینه در بدنه‌ی آیفون روی یک یا چند محور حرکت کند. بااین‌حال، به‌طورکلی این پیشنهاد از ایده‌ای اصلی پیروی می‌کند. این دوربین می‌تواند شامل قسمتی محرک برای پیکربندی سیستم لنز به‌همراه دو عنصر خم‌کننده‌ی نور مانند یک یا دو منشور و یک آینه باشد. همچنین، عملکرد بزرگ‌نمایی لنز پریسکوپ این پیکربندی خاص می‌تواند عملکرد تثبیت‌کننده اپتیکال تصویر (OIS) را برای دوربین فراهم کند.

درخواست ثبت اختراع به یوهونگ یائو اعتبار داده شده است که کارهای قبلی وی شامل چندین اختراع در موضوعات مرتبط است. گفتنی است که مینگ‌چی کو، تحلیلگر نام‌آشنای محصلات اپل، اولین‌بار پیش‌بینی کرد که این فناوری در آیفون‌های ۲۰۲۲ استفاده خواهد شد. او معتقد است که شرکت Semco و Sunny Optical به‌ترتیب به‌عنوان بهترین تأمین‌کننده‌ی لنز کره‌ای و چینی به زنجیره‌ی تأمین آیفون اضافه شده‌اند و اولین آیفون‌های مجهز به دوربین پریسکوپی Semco در سال ۲۰۲۲ از راه خواهند رسید.

درواقع، عملکرد دوربین‌های پریسکوبی مانند سیستم دیدبانی زیردریایی‌ها است. در این نوع سیستم دیدبانی، در ابتدا و انتهای لوله دو لنز ۴۵ درجه‌ای نصب می‌شود و این امکان را فراهم می‌کند که با نگاه به یک طرف لوله، خروجی تصویر انتهای دیگر را مشاهد کنید. در گوشی‌های هوشمند، لنز پریسکوپی از همان اصل بهره می‌برد؛ اما فقط با یک لنز ۹۰ درجه‌ای نور را خم می‌کند و به حسگر می‌رساند.

نظرات