موتورولا گوشی هوشمندی با قابلیت خود ترمیمی حرارتی می‌سازد

چهارشنبه 25 مرداد 1396 - 15:00
مطالعه 3 دقیقه
موتورولا قصد دارد یک گوشی خودترمیم عرضه کند که روکشی از جنس پلیمر حافظه‌دار دارد و می‌تواند از طریق اعمال حرارت، خودش را ترمیم کند.
تبلیغات

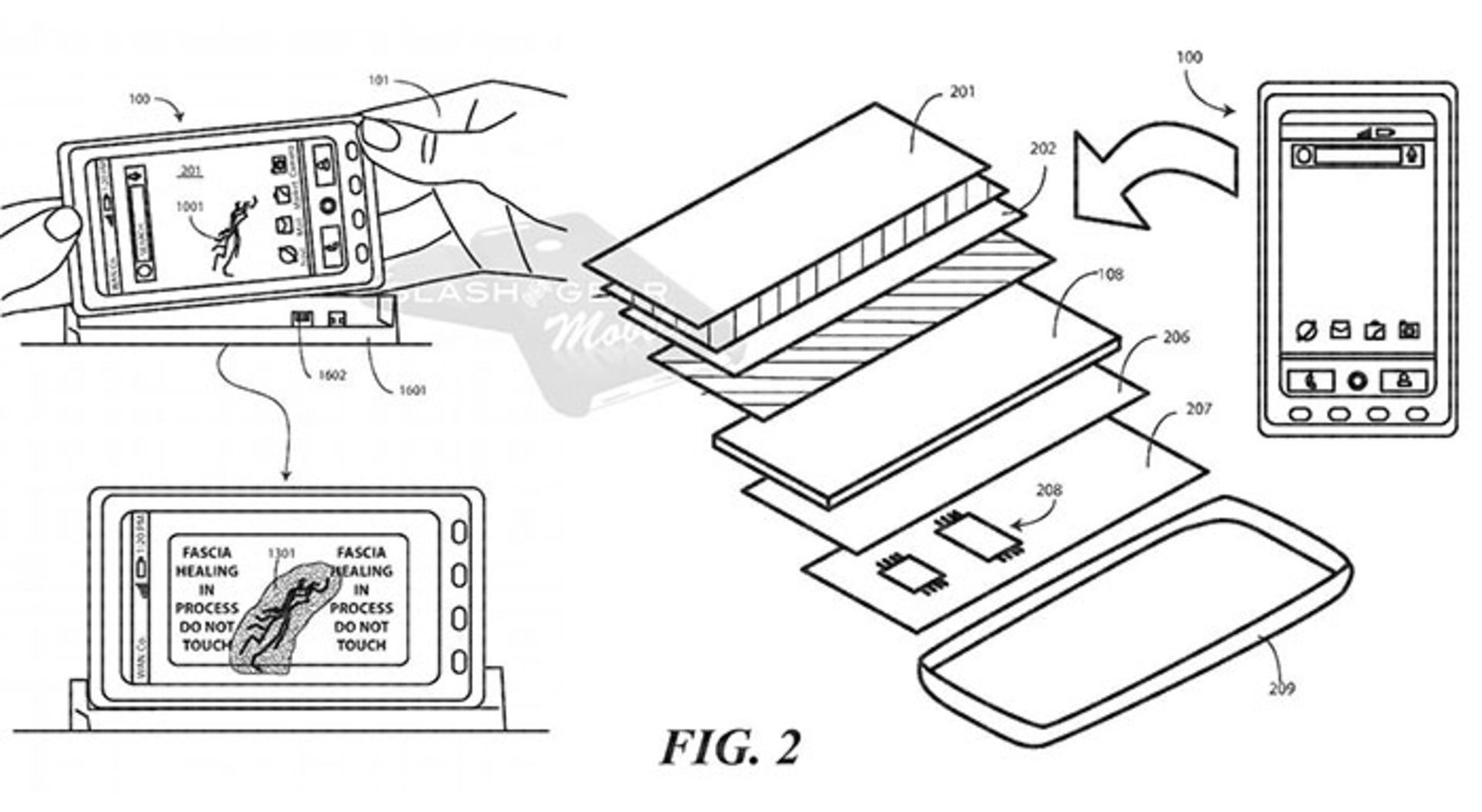
موتورولا پتنت جدیدی ثبت کرده است که به یک «شیشه‌ی هوشمند» در گوشی‌های آینده‌اش اشاره دارد. این شیشه‌ی هوشمند از جنس پلیمر حافظه‌دار ساخته می‌شود. در این پتنت، جزئیات کامل در مورد نوع عملکرد این شیشه‌ی هوشمند و نحوه‌ی خودترمیمی آن توسط اعمال حرارت، نشان داده شده است.

موتورولا

به‌طور خلاصه گوشی‌هایی که با این فناوری ساخته شوند، می‌توانند انواع تغییر شکل مثل خط و خش یا خمیدگی سطحی را در شیشه‌ی هوشمندشان شناسایی کنند؛ سپس این موضوع به‌صورت یک پیغام به کار اطلاع داده می‌شود تا تصمیمات لازم گرفته شود. موتورولا می‌گوید روند خود ترمیمی گوشی توسط حرارت انجام می‌شود. حرارت از داخل گوشی به قسمت‌های آسیب‌دیده اعمال می‌شود و حافظه‌ی شیشه‌ی هوشمند را فعال می‌کند تا به حالت اولیه‌ی خود برگردد.

موتورولا

همان‌طور که در تصویر بالا می‌بینید، راه حل دیگر این است که کاربر نقاط آسیب‌دیده را مشخص کند. بدین صورت، گوشی تنها به قسمت‌های لازم حرارت اعمال می‌کند و حافظه‌ی شیشه را فعال می‌کند.

موتورولا

موتورولا در توصیف نوع عملکرد این سیستم، سعی کرده است احتیاط کامل را رعایت کند. این‌طور که به نظر می‌رسد، این فناوری هر نوع ترک یا شکستگی را برطرف نمی‌کند. موتورولا در توضیح این پتنت‌ تنها از اصطلاحاتی مثل «برخی از خرابی‌ها» استفاده کرده است؛ بنابراین اگر تکه‌ای از شیشه‌ی گوشی جدا شود یا ترک بزرگی بردارد، ترمیم نخواهد شد.

موتورولا

نکته‌ی جالبی که در مورد این پتنت‌ به چشم می‌خورد این است که گوشی نشان داده‌شده در این تصاویر، شباهت زیادی به مدل اِیتریکس دارد که ۶ سال پیش معرفی شد؛ بنابراین به نظر می‌رسد که موتورولا زمان زیادی برای توسعه‌ی این فناوری صرف کرده است.

در نظر داشته باشید که این فناوری تنها روی کاغذ وجود دارد و به‌احتمال زیاد، در یکی دو سال آینده خبری از آن در گوشی‌های موتورولا نخواهد بود. شاید هم این فناوری مثل بسیاری از نمونه‌های دیگر، در حد یک پتنت بماند و هیچ‌گاه به مرحله‌ی پیاده‌سازی نرسد. نظر شما چیست؟

تبلیغات
داغ‌ترین مطالب روز
تبلیغات

نظرات