سرفیس پرو 7 به درگاه USB C و تایپ کاور جدید مجهز خواهد بود

شنبه 4 خرداد 1398 - 09:50
مطالعه 3 دقیقه
باتوجه‌به پتنت جدید منتشرشده‌ی سرفیس پرو ۷ مایکروسافت، احتمالا این محصول به درگاه یواس‌بی نوع سی و تایپ‌کاور جدید مجهز خواهد برد.
تبلیغات

مایکروسافت مشغول کار روی طراحی جدید سرفیس پرو است و انتظار می‌رود مدل جدید این محصول را تا اواخر سال جاری میلادی معرفی کند. طراحی سرفیس پرو از زمان معرفی نسل چهارم این محصول تاکنون تغییر زیادی نکرده است. انتظار می‌رود مایکروسافت در مدل بعدی دستگاه مذکور، حاشیه‌های نمایشگر را باریک‌تر و درگاه یواس‌بی نوع سی به آن اضافه کند. همچنین، احتمالا مایکروسافت در طراحی کلی سرفیس پرو ۷ همانند سرفیس‌گو، از انحنای بیشتری استفاده خواهد کرد. پیش‌ازاین، پتنتی از مدل جدید صفحه‌کلید سرفیس فاش‌شده که نشان می‌دهد این صفحه‌کلید باریک‌تر از نسل فعلی آن است. حال پتنت جدید منتشر‌شده‌ی سرفیس‌ پرو ۷ نشان می‌دهد این محصول به درگاه یواس‌بی سی و تایپ‌کاور جدید مجهز خواهد بود.

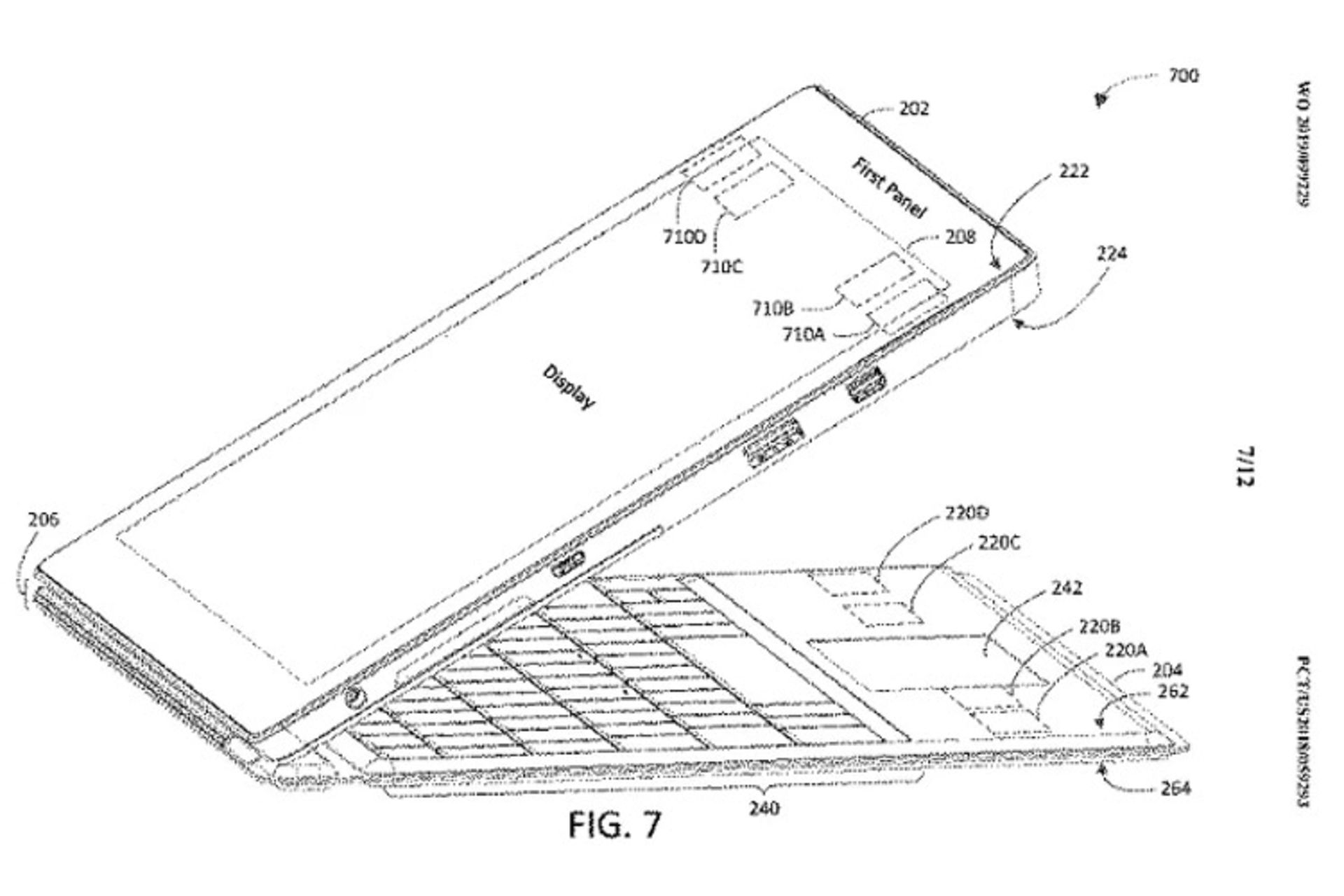
در پتنت جدیدی که ویندوزیونایتد منتشر کرده، چگونگی استفاده از آهن‌ربا به‌منظور جلوگیری از تکان‌خوردن تایپ‌کاور در حالتی نشان داده شده که کاربر از آن استفاده نمی‌کند. در مدل‌های کنونی برای استفاده از دستگاه به‌صورت تبلت، باید صفحه‌کلید را زیر لپ‌تاپ تا کرد و باتوجه‌به حالتی که سرفیس پرو را در دست گرفته‌‌اید، این کاور در زیر دستگاه جای می‌گیرد. حال به‌نظر می‌رسد مایکروسافت تصمیم گرفته تایپ‌کاور را با استفاده از آهن‌ربا در زیر دستگاه قرار دهد؛ درست همانند روش نگه‌داشتن صفحه‌کلید روی صفحه‌نمایش سرفیس پرو که با استفاده از آهن‌ربا انجام می‌شود. همچنین، این روش برای مواقعی کاربرد دارد که سرفیس‌ پرو بسته شده باشد؛ زیرا کاور یادشده در این شرایط به‌آسانی باز نخواهد شد.

پتنت جدید سرفیس پرو ۷ بیشتر به روش استفاده از آهن‌ربا در این محصول اشاره می‌کند. البته، با دقت در تصویر پتنت می‌توان جزئیات جالب دیگری را هم درباره‌ی مدل بعدی سرفیس پرو مشاهده کرد. ظاهرا مایکروسافت در انتخاب درگاه‌های این دستگاه تغییراتی اعمال خواهد کرد. باتوجه‌به تصویر پتنت، مشاهده می‌کنید یک درگاه یواس‌بی سی در لبه‌ی کناری سرفیس پرو ۷ اضافه شده که درکنار آن، درگاه معمولی یو‌اس‌بی نوع A و درگاه مینی‌دیسپلی را شاهد هستیم. اگر با دقت بیشتری به تصویر پتنت نگاه کنیم، متوجه می‌شویم مایکروسافت جایگاه جَک ۳.۵ میلی‌متری هدفون و محلی را که برای دسترسی به پایه‌ی استند سرفیس پرو از آن استفاده می‌کنید، تغییر داده است.

سرفیس پرو 7

یکی از نکات بسیار جالب این پتنت جدید، نبود درگاه سرفیس کانکت در سرفیس پرو جدید است. بدین‌ترتیب، می‌توان گفت مایکروسافت احتمالا در مدل بعدی سرفیس پرو از شارژر مغناطیسی استفاده نخواهد کرد و درعوض، از درگاه یواس‌بی سی برای شارژ دستگاه بهره خواهد برد.

اگر مایکروسافت از درگاه سرفیس کانکت استفاده نکند، به‌احتمال فراوان این شرکت از درگاه یواس‌بی سی و تاندربولت ۳ در مدل بعدی سرفیس پرو استفاده خواهد کرد. در ساخت سرفیس کانکت اختصاصی مایکروسافت، به‌هیچ‌وجه به استفاده از تاندربولت ۳ توجه نشده است. بد نیست اشاره کنیم که ولتاژ سرفیس کانکت روی حداکثر ۱۲۰ وات محدود شده که همین امر مشکلاتی در سرفیس بوک ۲ ایجاد کرد. البته، این احتمال هم وجود دارد که مایکروسافت ایده‌ی استفاده‌نکردن از شارژرهای مغناطیسی را عملی نکند. اپل نیز از مدتی قبل در تولید لپ‌تاپ‌های خود، درگاه یو‌اس‌بی نوع سی را جایگزین درگاه شارژ مفناطیسی کرده است. در یکی دیگر از پتنت‌هایی که قبلا از سرفیس پرو ۷ فاش شده، به این نکته اشاره شده بود که این محصول ازطریق درگاه یو‌اس‌بی سی مغناطیسی شارژ خواهد شد.

دیدگاه شما درباره‌ی سرفیس پرو ۷ مایکروسافت چیست؟

نظرات