پتنت جدید سونی سیستم خنک کننده منحصربه‌فرد PS5 را نشان می‌دهد

شنبه 6 اردیبهشت 1399 - 22:20
مطالعه 4 دقیقه
پتنت جدیدی که اخیرا در فضای وب منتشر شده است، سیستم خنک‌کننده‌ی ویژه و کارآمد کنسول بازی پلی‌استیشن ۵ سونی را نشان می‌دهد؛ سیستمی که ظاهرا قیمت گرانی هم دارد.
تبلیغات

ظاهرا سونی از مدت‌ها پیش قصد داشته ظاهر و اطلاعات نهایی پلی‌ استیشن 5 را ماه ژوئن رونمایی کند؛ دقیقا همان ماه سال که چند سال قبل در آن رونمایی اطلاعات نهایی و ظاهر کنسول بازی پلی‌ استیشن 4 را شاهد بودیم. بااین‌حال، اکنون ممکن است برنامه‌ها تغییر کرده باشند و شرکت ژاپنی مه سال جاری میلادی این اطلاعات را بیان و بازی‌های PS5 را رونمایی کند. درهرصورت، حقیقت مهم این است که زمان چندانی تا معرفی کنسول نسل‌نهمی سونی باقی نمانده است.

مدتی پیش، شایعه‌ای در اینترنت مطرح شد که از مشکل PS5 برای خنک‌کنندگی فضای داخلی خود خبر می‌داد. این شایعه را ابتدا خبرگزاری ویندوزسنترال منتشر کرد و می‌گفت توان سخت‌افزاری چشمگیر کنسول بازی سونی باعث می‌شود با طرح تولیدی آن نتوان به میزان لازم دستگاه را خنک کرد؛ به‌همین‌دلیل، برند پلی‌استیشن به‌شدت در خطر قرار گفته است. جیسون شرایر، روزنامه‌نگار معروف دنیای بازی‌های ویدئویی، این شایعه‌ها را‌ به‌سرعت رد کرد و پس از مدتی، مارک سرنی، معمار ارشد پلی‌استیشن 4 و پلی‌استیشن 5 نیز آن‌ها را بی‌اساس دانست و از این گفت که سیستم خنک‌کننده‌ی PS5 طرفداران را بسیار راضی می‌کند.

ساعاتی قبل سندی متعلق به دفتر رسمی ثبت اختراعات به دست عموم رسید و نشان داد احتمالا سونی برای پلی‌استیشن 5 از چه سیستم خنک‌کننده‌ای بهره می‌برد. این سند شامل تصویری برای شرح قابلیت‌های سیستم مذکور بود که نه‌تنها متخصصان سخت‌افزار با دیدنش کارآمدی آن را تأیید می‌کنند؛ بلکه با توصیف‌های افراد شناخته‌شده و خود سونی از آن هم جور درمی‌آیند. این سیستم را گروهی به رهبری مارک سرنی طراحی کرده‌ است که نه‌تنها به‌شکل خلاقانه‌ای از گرم‌شدن دستگاه جلوگیری می‌کند؛ بلکه طبق ادعای افشاگران، جدید و ویژه به‌نظر می‌رسد. 

پلی استیشن 5
مقاله‌های مرتبط:

    ماجرا از جایی جالب‌تر می‌شود که بدانید این سند رسمی را در ۶ ‌ماهه‌ی آغازین سال ۲۰۱۸ (تقریبا دو سال قبل) سونی و برند پلی‌استیشن ثبت کرده است. این موضوع نشان می‌دهد احتمالا برخی شایعه‌ها درباره‌ی مشکلات پیش‌آمده بر سر راه سونی به‌منظور طراحی سیستم خنک‌کننده‌ی پلی‌استیشن ۵ واقعیت نداشته‌اند؛ زیرا ژاپنی‌ها از مدت‌ها قبل برای اجرای چنین سیستمی برنامه‌ریزی داشته‌اند.

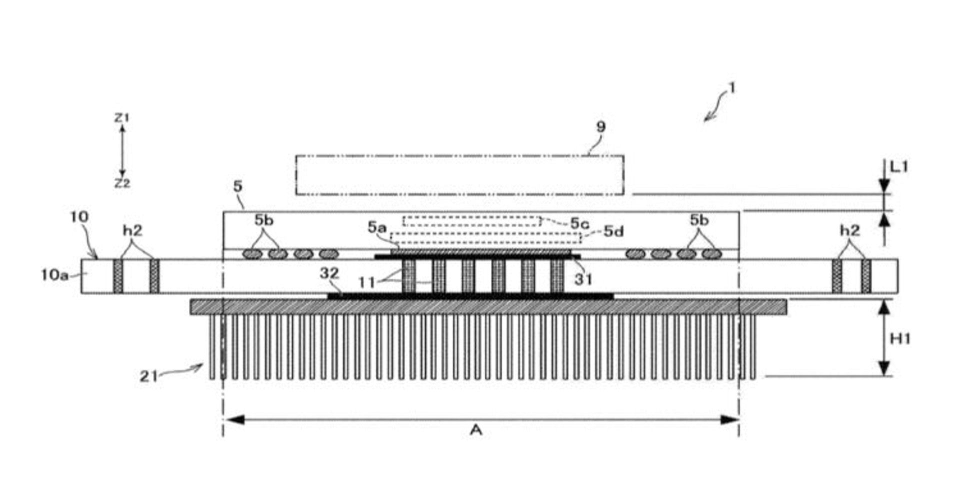
    سند ثبت‌شده می‌گوید سیستم خنک‌کننده‌ی PS5 در سطوح پایینی بورد دستگاه نصب می‌شود که ازقضا دقیقا سوراخ‌هایی مخصوص هدایت درست جریان گرما دارد. پیکربندیِ توصیف‌شده آزادی‌عمل بیشتری به مهندسان برای چینش جزء‌به‌ جزء سخت‌افزارهای قرارگرفته درون PS5 داده است.

    خنک‌کننده به این شکل کار می‌کند که در آن سینک حرارتی (به عدد 21 در طرح رسم‌شده نگاه کنید) زیر بورد دوارِ (10) دارای چند سوراخ (h1) سوار می‌شود. بورد درون محلی (A) قرار می‌گیرد که در آن دستگاه یکپارچه‌ی دوار (5) نصب شده است. مسیرهای هدایت گرما (11) با سوراخ‌ها (h1) ایجاد می‌شوند. این مسیرها (11) دستگاه یکپارچه‌ی دوار (5) را به سینک حرارتی (21) وصل می‌کنند.
    سونی
    مقاله‌های مرتبط:

      این سیستم ویژه و احتمالا پرخرج نه‌تنها دستگاه را همیشه خنک نگه می‌دارد و از هر دو طرف به اندازه‌گیری و کاهش دمای آن می‌پردازد؛ بلکه سبب می‌شود سازندگانِ بخش‌های دیگر کنسول هم آن‌چنان نگران تناسب زاویه‌ی قرارگیری و مدل نصب سخت‌افزارهای گوناگون آن باتوجه‌به سیستم خنک‌کننده نباشند.

      افزون‌بر آنچه گفته شد، گزارش جدید می‌گوید پی‌اس‌فایو با مدیریت دقیق‌تر برق دریافتی درمقایسه‌با کنسول‌های نسل قبل، تاحدممکن از ایجاد گرمای اضافه پیش‌گیری می‌کند. طبق اخبار رسمی سونی، همچنان می‌خواهد کنسول PS5 را در تعطیلات سال ۲۰۲۰ به بازار بفرستد و براساس اخبار غیررسمی، سونی در هفته‌های آتی ظاهر، تمام جزئیات باقی‌مانده‌ی سخت‌افزار، چند بازی غیرانحصاری و چند بازی انحصاری آن را نیز رونمایی خواهد کرد.

      شما کاربران زومیت چه دیدگاهی درباره‌ی پتنت منتسب ‌به سیستم خنک‌کننده‌ی پلی‌استیشن ۵ دارید؟

      جدیدترین مقالات و برنامه‌های ویدئویی حوزه‌ی سرگرمی را در وب‌سایت زومجی دنبال کنید.

      تبلیغات
      داغ‌ترین مطالب روز
      تبلیغات

      نظرات