اپل برای حذف موتور هپتیک در اپل واچ باتری را به لرزه درخواهد آورد

یک‌شنبه 1 خرداد 1401 - 19:25
مطالعه 3 دقیقه
اپل به‌دنبال راهی است تا حرکت‌دادن باتری سبب ایجاد ویبره در اپل واچ شود؛ بنابراین، دیگر به موتور هپتیک اختصاصی نیازی نخواهد بود.
تبلیغات

باریک‌ترکردن اپل واچ را می‌توان یکی از اهداف مهم کوپرتینویی‌ها دانست و به‌دنبال تحقق این هدف، آنان از هیچ تلاشی دریغ نخواهند کرد. حال به‌نظر می‌رسد اولین قطعه‌ای که قرار است برای باریک‌تر‌شدن اپل واچ فدا شود، Haptic Engine باشد! به‌باور اپل، با تکان‌دادن باتری دیگر به قطعه‌ای اختصاصی برای ایجاد بازخورد لامسه‌ای یا هپتیکی نیازی نخواهد بود و به‌دنبال آن، فضای بیشتری نیز برای میزبانی دیگر قطعات دردسترس قرار خواهد گرفت. با این کار، وظیفه‌ی ایجاد ویبره نیز به دیگر وظایف باتری اضافه خواهد شد.

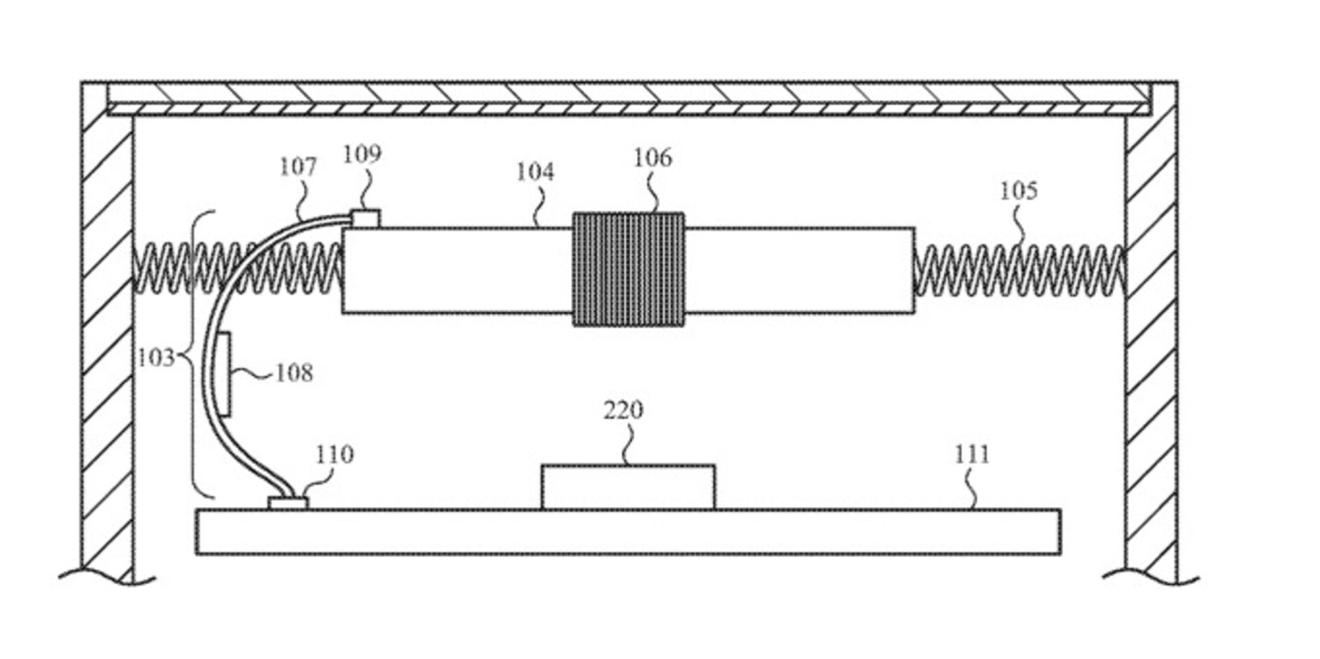
اخیراً وب‌سایت Appleinsider پتنتی تازه‌ثبت‌شده از اپل را منتشر کرده که در آن، به امکان تکان‌دادن باتری به‌منظور ایجاد ویبره و بازخورد لامسه‌ای اشاره شده است. این پتنت که با عنوان «دستگاه الکترونیکی قابل‌حمل به‌همراه دستگاهی حاوی قطعات قابل‌حرکت به‌منظور ایجاد بازخورد لامسه‌ای» منتشر شده است، یکی دیگر از تلاش‌های اپل برای جا‌به‌جایی Haptic Engine به‌شمار می‌رود. پیش‌از‌این، کوپرتینویی‌ها انتقال موتور هپتیک به بند اپل واچ و ایجاد تغییرات در سیم‌پیچ شارژر (Charging Coil) برای انجام کاری مشابه را امتحان و پتنت آن‌ها را ثبت کرده بودند.

همان‌طورکه مشخص است، در تمامی سناریوها، کوپرتینویی‌ها در تلاش‌اند تا با حذف قطعه‌ای که اپل واچ بدون آن نمی‌تواند کار کند و سپردن وظیفه‌ی آن به قطعه‌ای دیگر، قطر بدنه را کاهش دهند. در این توضیحات پتنت آمده است:

دستگاه‌های الکترونیکی سنتی از چند دکمه و قطعات مکانیکی برای ورود اطلاعات استفاده می‌کردند که هریک بازخورد خاص خود را داشتند؛ اما دستگاه‌های امروزی تنها از صفحه‌نمایش برای ورود اطلاعات استفاده می‌کنند که سبب می‌شود کاربر در زمان لمس صفحه، بازخوردی به‌منظور انجام آن کار دریافت نکند.این پتنت به تغییراتی اشاره می‌کند که به‌واسطه‌ی آن با ایجاد حرکت در اجزای باتری، می‌توان ضربان‌های تشخیص‌دادنی همچون ویبره را ایجاد کرد. ضربان‌های تولید‌شده می‌توانند به سطح خروجی منتقل شوند و عملکردی مشابه Taptic Engine داشته باشند.

تمامی آنچه گفته شد، بدین‌معنی است که باتری به‌صورت الکتریکی به نمایشگر متصل خواهد بود و باتری با حرکت‌های نوسانی موازی با صفحه‌نمایش، بازخورد لامسه‌ای ایجاد می‌کند. در‌این‌بین، مجموعه سیم‌پیچی نیز برای انتقال ضربان‌های تولید‌شده به صفحه‌نمایش قرار خواهد داشت.

پتنت باتری حاوی موتور هپتیک در اپل واچ

با اینکه با حذف موتور هپتیک اپل واچ فضای استفاده‌شده در بدنه کاهش داده می‌شود، این کاهش لزوماً به‌معنی کاهش ضخامت نیست و ممکن است اپل از فضای ایجاد‌شده برای مقاصد دیگری استفاده کند؛ خصوصاً با در‌نظر‌گرفتن اینکه در پتنت یادشده، کوپرتینویی‌ها درباره‌ی کوچک‌تر‌شدن باتری درصورت حذف موتور هپتیک، صحبت کرده‌اند.

در پتنت جدید اپل، عمدتاً درباره‌ی نگرانی‌های فیزیکی موجود درباره‌ی تغییرات ظاهری باتری و بازه‌ی حرکتی مؤثر آن صحبت شده است:

با کوچک‌تر‌شدن جرم دستگاه هپتیک، برای ایجاد خروجی مشابه موتور هپتیک، دامنه‌ی نوسانی باید افزایش یابد. برای مثال، با نصف‌شدن جرم دستگاه، باید دامنه‌ی نوسانی دو برابر افزایش یابد تا بتوان عملکردی مشابه را تجربه کرد.بدین‌ترتیب، حتی وقتی قصد داریم با کوچک‌کردن جرم حجم باتری را افزایش دهیم، فضای بیشتری برای حرکت نوسانی جرم نیاز خواهیم داشت. از‌این‌رو، بزرگ‌تر‌شدن باتری نیز با محدودیت‌هایی مواجه خواهد شد.

به‌گفته‌ی اپل، به‌دنبال استفاده از باتری بزرگ‌تر، جرم دستگاه هپتیک و نیز حرکت جرم به‌منظور تولید بازخورد لامسه‌ای مطلوب کاهش پیدا خواهد کرد. پتنت اپل در تلاش است تا راهکارهای جدیدی برای ایجاد توازن میان اندازه‌ی اجزا ارائه دهد تا هم‌زمان کارایی آن‌ها نیز حفظ شود. در بین مخترعان این پتنت، نام اریک جی. دی‌یانگ (Erik G. de Jong) نیز به‌چشم می‌خورد که پیش‌از‌این راهکارهایی درزمینه‌ی قراردادن باتری‌های مخفی در بند اپل واچ ارائه کرده بود.

تبلیغات
تبلیغات

نظرات