مهندسی بی نهایت: پل دره‌گذر میلو ؛ مرتفع‌ترین پل جهان

جمعه 27 خرداد 1401 - 23:15
مطالعه 13 دقیقه
پلی در فرانسه که از فراز دره‌ای عظیم می‌گذرد و دو فلات را به یکدیگر پیوند می‌دهد. میلو را به‌عنوان مرتفع‌ترین پل کابلی جهان می‌شناسند. مرتفع‌ترین پل جهان را چگونه ساخته‌اند؟
تبلیغات

پل میلو پلی کابلی در فرانسه ساخته‌شده روی دره‌ای از رودخانه تارن در نزدیکی شهر میلو است. شهر میلو در محل تلاقی دو رود به‌نام‌های تارن و دوربی واقع شده است. این دو رود باعث به‌وجود آمدن دو دره‌ی بسیار عمیق در فلات قدیمی ماسیف سنترال در جنوب فرانسه شده‌اند. میلو را به‌عنوان مرتفع‌ترین پل جهان می‌شناسند. یکی از دکل‌های پل میلو ۳۴۳ متر ارتفاع دارد. طراحان آن مهندس سازه فرانسوی میشل ویرلوژو و معمار بریتانیایی نورمن فاستر بوده‌اند.

داستان ساخت پل و درواقع احساس نیازهای اولیه برای ایجاد چنین سازه‌ی پرخرج و منحصربه‌فردی بر بستری از خاک‌ها و سنگ‌های مختلف که در بخش‌های بعدی مقاله از پیچیدگی‌هایشان بیشتر خواهیم گفت از آنجایی شروع شد که هر سال در محور تردد پاریس به اسپانیا که از نزدیکی شهر میلو می‌گذرد، در روزهای تعطیل و شلوغ‌تر سال، حجم عظیمی از انسداد و کندی‌های ترافیکی رخ می‌داد. مسئولان امر در آن سال‌ها در پی یک راه پایدار حساب‌شده برای حل این مشکل برآمدند.

مقاله‌ی مرتبط:

اولین ایده برای حل مسئله‌ی فوق در سال ۱۹۸۷ میلادی مطرح شد و در سال ۱۹۹۱ میلادی تصمیم بر این شد که پلی روی دره‌ی رودخانه تارن ساخته شود. دولت فرانسه از سال ۱۹۹۳ تا ۲۰۰۱، با معماران و مهندسان پرشماری رایزنی کرد، مطالعات تشریحی مختلفی از سوی دولت انجام گرفت و آن‌ها یک رقابت مهندسی به‌منظور یافتن بهترین طرح برای چنین پلی را تدارک دیدند. همان‌طورکه اشاره کردیم، مسئولان فرانسوی قصد داشتند تا ازطریق یک بزرگراه معلق، فلات شمالی با ارتفاع ۶۰۰ متر را به فلات جنوبی لارزاک با ارتفاع ۷۲۰ متر متصل کنند. از این‌رو انتخاب مسیر دقیق این بزرگراه راحتی نبود، به‌خصوص که بخش‌های پایینی تپه‌های منطقه بیشتر از خاک رس ناپایدار تشکیل شده بودند. مسیرهای مختلفی برای عبور دادن پل مورد بررسی قرار گرفت.

چهار مسیر اصلی پیشنهاد شد و در نهایت یکی از آن‌ها (مسیر قرمز در تصویر زیر) را به‌عنوان مسیر مناسب برای اجرای پروژه انتخاب کردند. پس از کنار گذاشتن گزینه‌های غیرعملی دیگر، درنهایت تصمیم بر این شده بود که پل میلو دو فلات واقع در دو سوی دره را به‌طور مستقیم و در ارتفاع ۲۷۵ متری بر فراز رود تارن به‌ یکدیگر متصل کند.

مسیر نقشه پل میلو

در سال ۱۹۹۶ کنسرسیوم سوگلرگ، پل کابلی طراحی‌شده توسط میشل ویرلوژ و نورمن فاستر را پیشنهاد کرد. طرح آن‌ها در نهایت مورد پذیرش قرار گرفته و تصویب شد. فرایند ساخت‌و‌ساز به‌طور رسمی در روز ۱۶ اکتبر ۲۰۰۱ میلادی آغاز شد و در نوامبر ۲۰۰۳ فاز اول ساخت که شامل نصب نخستین ستون‌های اساسی پل بودند به پایان رسید. بخش راه‌های ماشین‌روی یا همان بخش جاده‌ای پل در ماه می سال ۲۰۰۴، دکل‌ها یا برج‌ها و مهارهای آن هم در نیمه‌ی دوم سال ۲۰۰۴ ساخته شدند و در نهایت این گذرگاه شگفت‌انگیز بر فراز دره‌ی میلو در تاریخ ۱۶ دسامبر ۲۰۰۴ میلادی و ۲۵ روز زودتر از موعد برنامه‌ریزی‌شده، توسط رئیس جمهور وقت فرانسه، ژاک شیراک افتتاح شد.

ساخت این پل در آن سال‌ها چندین رکورد را شکست. همان‌طورکه پیش‌تر هم گفتیم پل میلو دارای مرتفع‌ترین دکل یا ستون‌های جهان در دو سو (۲۴۵ متر و ۲۲۱ متر) و همچنین دارنده‌ی مرتفع‌ترین برج پل جهان (۳۴۳ متر) و مرتفع‌ترین عرشه‌ در میان پل‌های جاده‌ای ساخته‌شده در اروپا با ارتفاع ۲۷۰ متر است.

دولت فرانسه پس از طی مراحل طراحی پل، اجرای آن را در قالب یک مناقصه به پیمانکاران واگذار کرد

ایده‌ی اصلی طراحان ساخت یک پل باریک اما شگفت‌انگیز بود، به‌ همین دلیل طراحی یک پل کابلی با عرشه‌های یکسان در دستور کار قرار گرفت. پل میلو چنان مرتفع است که به‌راحتی از شهر میلو نیز دیده می‌شود.

بعد از تصمیم وزارت فواید عامه فرانسه تصمیم به پیشنهاد ساخت و بهره‌برداری از چنین پلی، آن‌ها در پی سپردن آن در قالب یک قرارداد به یک پیمانکار برآمدند. از همین روی فراخوانی بین‌المللی برای مناقصه در سال ۱۹۹۹ منتشر شد و پنج کنسرسیوم در مناقصه شرکت کردند. در نهایت گروه Compagnie Eiffage du Viaduc de Millau با همکاری معمار نورمن فاستر، در مناقصه و رقابت بر سر گرفتن پروژه‌ی پل موفق شدند. ازآنجاکه دولت فرانسه پیش از این کار طراحی را به مراحل خوبی رسانده بود، عدم اطمینان فنی به میزان قابل توجهی برای پیمانکار اجراکننده‌ی طرح کاهش یافت. مزیت دیگر این فرایند تسهیل مذاکره برای قرارداد، کاهش هزینه‌های عمومی و تسریع ساخت‌وساز و در عین حال به حداقل رساندن کارهای طراحی باقی‌مانده برای پیمانکار بود.

پل میو نورمن فاستر

پل میلو کجاست

پل میلو بین دو فلات از جنس سنگ آهک ساخته شده است. پایه‌های این پل در درون یک دره‌ی عمیق قرار گرفته، دره‌ای که به‌علت فرسایش ناشی از جریان رود تارن به‌وجود آمده است. فلات‌های آهکی نوعی از بسترهای رسوبی هستند که در دوران میانه‌زیستی (مزوزوئیک) تشکیل یافته‌اند. این فلات حتی بعد از ساخت پل میلو بدون تغییر باقی مانده و تاکنون به‌خوبی از آن محافظت شده است. در ادامه به نکاتی برای توصیف جغرافیای پل میلو اشاره می‌کنیم:

همان‌طورکه پیش‌تر گفته شد محل ساخت پل میلو از سنگ‌های رسوبی تشکیل شده است. این سنگ‌های رسوبی بیشتر از نوع سنگ آهک دولومیتی و خارک مارن (مخلوطی از رس، شن و آهک) با چسبندگی کم است.

مطالعه‌ی صفحه‌شناسی محل نشان می‌دهد که گسل‌های قدیمی منطقه روی سنگلایه‌های قدیمی تأثیر گذاشته‌اند. این گسل‌های قدیمی در بخش شمالی پل واقع شده و بر سنگ‌لایه‌های جدیدتر در محل ساخت پل در قسمت مرتفع فلات جنوبی هیچ تأثیری نگذاشته‌اند. همچنین در محل ساخت پل، گسل‌های غیرفعال جدیدتری وجود دارد که باعث تغییر چینش لایه‌های سنگی شده است. این گسل‌ها از پایه‌ P4 و سپس از ناحیه‌ای بین پایه‌‌ی P7 و دیواره‌ی جناحی جناحی C8 عبور می‌کند (تصویر زیر).

ژئولوژی پل میلو

لغزش‌های امتدادی ناشی از گسل‌ها در نزدیکی ساخت پایه‌ی P4 باعث بروز مشکلاتی در ساخت آن شد که نیازمند تغییر طراحی فونداسیون بود.‌ از سویی رتبه‌بندی توده‌ی سنگ (RMR) بین ۰ تا ۱۵۰ متغیر بود، به این معنی که مقادیر ثبت‌شده در محل ساخت پل میلو برای سنگ آهک ۶۵ و برای خاک مارل ۵۳ بوده است.

در بستر ساخت پل میلو سه نوع سنگ فونداسیون متفاوت وجود دارد. یکی از این سنگ‌ها از نوع سنگ آهک دولومیتی باژوسین در دیوار تکیه‌گاه شمالی است که سنگی سخت با مقاومت فشاری نامحدود ۱۱۰ مگاپاسکال به‌شمار می‌رود؛ اما در آن کارست‌های رسی نیز وجود دارد. در بالاترین قسمت پلتفرم و جایی که رافت پل قرار دارد میزان RMR بین ۷۰ تا ۸۰ تشخیص داده شد.

سنگ نوع دوم از نوع مارل‌های فشرده است که بین پایه‌های P7 و P6 قرار دارد. به‌دلیل وجود لایه‌ی سنگ‌ریزه بین خاک رس نرم و مارل‌ها لغزش‌های امتدادی در این ناحیه قابل رؤیت است. رقم میانگین مقاومت برشی برای لایه‌ی ۱۵ متری مارل برابر است با:

  • RMR=45
  • C = 0.1MPa
  • φ = 300

سنگ آهک هتانژین در دو سمت رود تارن بین پایه‌ی P4 تا دیوار تکیه‌گاه سنگ نوع سوم را تشکیل می‌دهد. لایه‌بندی این سنگ در قسمت جنوبی به‌صورت زیر افقی و در قسمت شمالی با زاویه‌ی ۱۵۰ درجه است. مقادیر مقاومت برشی برای این نوع سنگ بستری عبارت‌اند از:

  • RMR = 65 to 70
  • C = 2.5 MPa
  • φ = 370

شاید اعداد و ارقام اشاره‌شده در اینجا برای برخی خوانندگان بیش از حد سردرگم‌کننده باشد. اما چکیده‌ی مقایسه‌ی سه بستر اشاره‌شده برای پل این است که سنگ آهک نسبت به خاک مارل دارای مقاومت بیشتری دارد و از این‌رو سازندگان در بسترهای حاوی مارل، شمع‌های عمیق‌تری نسبت به بستر سنگ آهکی ساخته شدند.

نقشه پل میلو فرانسه

مقطع عرضی پل میلو

پل میلو ۲۴۶۰ متر طول دارد و از ۸ عرشه ساخته شده است. هر کدام از دو عرشه‌ی کناری ۲۰۴ متر طول و شش عرشه‌ی میانی ۳۴۲ متر طول دارند. به‌علت ملاحظات طراحی و شیوه‌ی ساخت، مقطع اصلی پل از تیرجعبه‌های ارتوتروپیک بهینه‌سازی‌شده با دو شبکه‌ی عمودی ساخته شده است.

تیرهای عرضی مثلثی شکل با فواصل طولی ۴۱۷ متر به استفاده از دیافراگم‌های کامل ترجیح داده شده است. تیرجعبه‌ها از دو لاین آمدوشد پشتیبانی می‌کنند. عرض شانه در دو طرف پل ۳ متر است تا فاصله‌ی لاین آمدوشد از لبه‌ی پل به‌منظور کاهش اثر سرگیجه‌ای افزایش پیدا کند.

تیرجعبه‌های پل علاوه بر حصارهای کناری متداول به شیشه‌های بادگیر برای محدود کردن سرعت باد مجهز هستند، به‌نحوی که سرعت باد روی پل با سطح زمین برابری می‌کند. این کار از وارد شدن شوک بادی به وسایل نقلیه هنگام ورود به پل جلوگیری کرده و باعث بهبود جریان آیرودینامیک و افزایش زیبایی پل می‌شود.

جزییاتی پیرامون فونداسیون پل میلو فرانسه

پل میلو توسط میشل ویرلوگس طراحی شده است و مقامات مسئول، طراحی سیستم فونداسیون برای پایه‌ها و دیوار‌های جانبی پل (کول پل) را بر مبنای طراح‌های او انجام داده‌اند.

با اینکه طراحی سیستم فونداسیون کل پل براساس اصول یکسانی انجام گرفته، اما تکیه‌گاه‌های فونداسیون پل بسته به سنگ‌ آهک یا مارل بودن بستر متفاوت است. خاک مارل نه‌تنها مشخصات مکانیکی ضعیف‌تری نسبت به سنگ آهک دارد بلکه دارای لغزش سطحی بوده و امر روی لایه‌های بالایی آن تأثیر می‌گذارد.

برای ساخت دیواره‌های کناری C0 و C8 که روی بستر سنگ آهک قرار گرفته‌اند از پی گسترده استفاده شده است. سیستم فونداسیون هر یک از دیواره‌های جلویی از نوع رافت گسترده‌ به ضخامت یک متر است که به پاشنه‌های دو دیواره‌ی عقبی توسط پلتفرم‌های مختلف متصل می‌شود.

فونداسیون ستون پل میلو

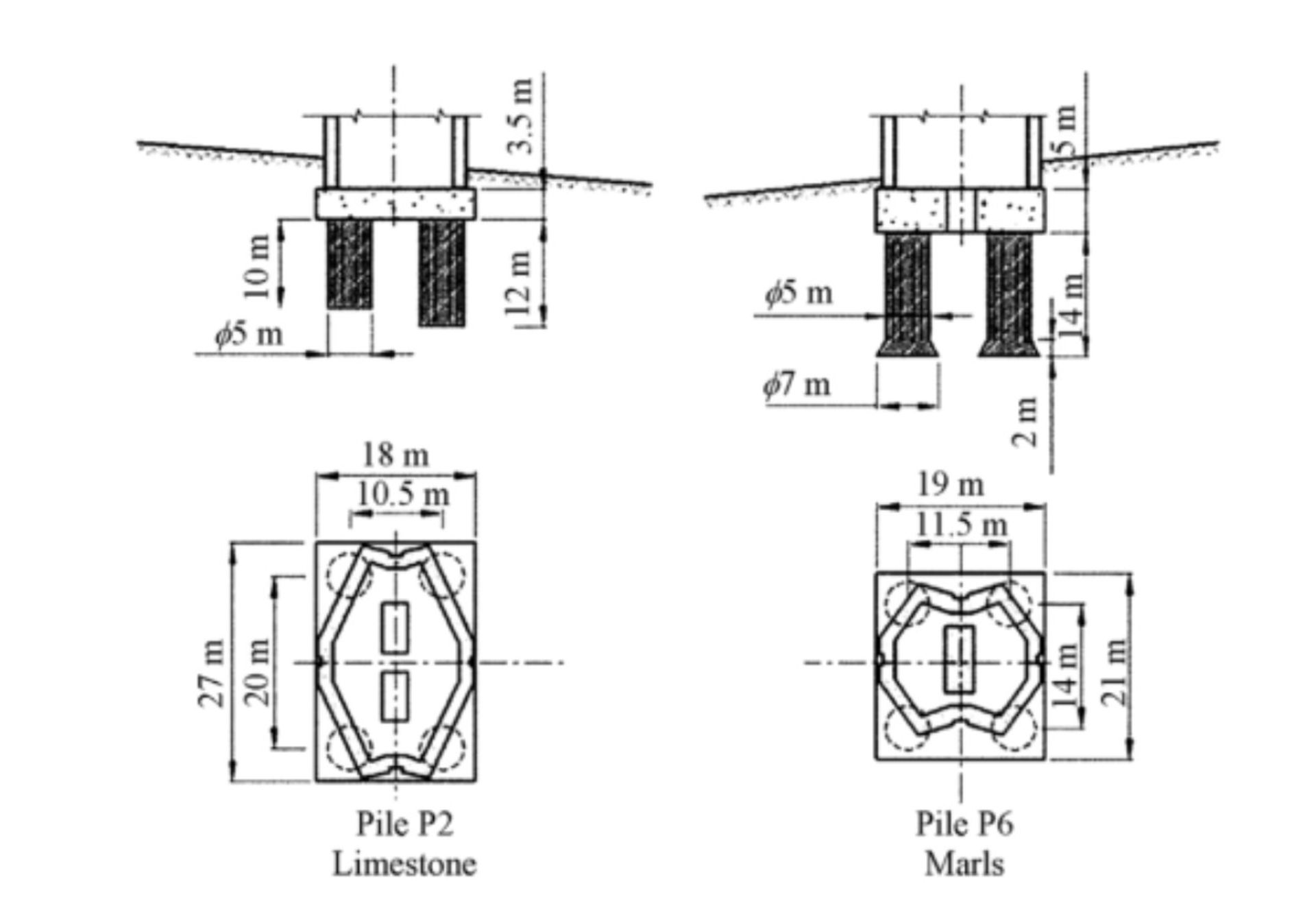
سیستم فونداسیون هر یک از هفت پایه‌ی پل از چهار شمع بتنی تقویت‌شده هر کدام به قطر پنج متر و عمق حفاری ۱۰ الی ۱۵ متر در داخل سنگ بستر تشکیل شده است. این شمع‌ها در بخش‌ بالایی توسط پاشنه‌ی بتنی تقویت‌شده با ضخامت ۳٫۵ متر به‌یکدیگر متصل شده‌اند که پاشنه‌ی بتنی هم در ادامه به پایه‌ی پل متصل شده است. در بستر خاک مارل ضخامت و عمق‌ها شمع‌ها بیشتر است و قطر قاعده‌ی آن‌ها به ۷ متر می‌رسد.

پایه‌ی شماره‌ی ۲ با ۲۴۵ متر ارتفاع بلندترین پایه‌ی پل محسوب می‌شود که روی بستر سنگ آهک ساخته شده است. این در حالی‌ است که پایه‌ی شماره‌ی ۶ روی بستر مارل ساخته شده و ارتفاع متوسطی دارد.

رفتار این نوع سیستم فونداسیون پیچیده است. فونداسیون از نوع رافت شمعی است که بخش از بار پل به پاشنه‌ها منتقل می‌شود. ساده‌سازی رفتار فونداسیون محدودیت‌هایی به‌همراه دارد. فرض اول این است که پاشنه‌ی پل مابین پایه‌ها هیچ باری تحمل نمی‌کند و دوم این‌که هیچ اصطکاک سحطی در طول شفت به‌جز تنش طولی وجود ندارد.

طراحی فونداسیون و شمع‌ها با وجود برخی چالش‌ها کاملاً قابل اعتماد درآمده است

ساده‌سازی رفتار فونداسیون منجر به این فرض می‌شود که ظرفیت نشیمنگاه پل تنها به فشار نهایی سنگ بستر زیر شفت‌ها بستگی دارد؛ بنابراین فرونشست نهایی پل ناشی از تغییر شکل سنگ در زیر شفت است و همین امر باعث می‌شود فونداسیون پل بیش از میزان واقعی انعطاف‌پذیر باشد.

برای ارزیابی اصطکاک‌های سطحی در طول شفت چندین آزمایش بارگذاری شمع در خاک‌های مارل صورت گرفته است. یکی از آزمایش‌های انجام‌شده روی یک شمع درجا با قطر ۰٫۸ متر نشان داد که بار بحرانی شمع ۵۲۰۰ کیلونیوتن و میزان فرونشست برابر ۵٫۶ میلی‌متر است.

با وجود تردید‌های موجود درمورد تخمین ویژگی‌های مکانیکی سنگ بستر و روش‌های محاسباتی استفاده‌شده، به‌نظر می‌رسد طراحی فونداسیون و شمع‌ها کاملاً قابل‌اعتماد است.

ساخت ستون های پل میلو فرانسه

پایه های پل میلو

در طراحی پل ملاحظات کلان سازه‌ای پیش‌بینی شده است. برای متعادل‌سازی بارهای نامتقارن وارده و همچنین در نظر گرفتن اثرات دمایی روی تیرجعبه‌ی پل از چند دهانه‌ی کابلی مختلف استفاده شده است. به منظور افزایش مقامت پایه‌ها دربرابر ممان‌های خمشی وارده بر آن‌ها به دلیل ارتفاع زیاد از طراحی مقطع جعبه‌ای استفاده شده است، همچنین بخش بالایی پایه‌ها (۹۰ متر انتهایی) به دو شفت انعطاف‌پذیر تقسیم شده است.

اتصال عرشه‌ی تیرجعبه‌ای پل به پایه‌ها توسط کابل‌های پیش‌تنیده‌ به‌همراه دو نشیمنگاه ثابت در هر شفت صورت گرفته است. همچنین برج‌های پل در بالای پایه‌ها به‌صورت V معکوس طراحی شده است. به دلیل تغییر بار زنده (بار ناشی از تردد وسایل نقلیه) و بار ناشی از بادهای شدید میزان بار عمودی هر یک نشیمنگاه‌ها ممکن است به ۱۰۰ مگانیوتن برسد.

برای کاهش اندازه‌ی نشیمن‌گاه از یاتاقان‌های کره‌ای با پوشش نوع جدیدی از مواد کامپوزیتی استفاده شده است که مقامت تنشی آن‌ها را تا ۱۸۰ مگاپاسکال تحت بارهای بحرانی افزایش می‌دهد.

سطح مقطع پایه‌های پل متغیر است، تغییر سطح مقطع پایه‌های به‌نوعی طراحی شده است که کار ساخت آن‌ها بیش از حد پیچیده نباشد. چهار پنل دارای ابعاد ثابت هستند اما اندازه و جهت‌گیری چهار پنل دیگر در هر بخش مقدار کمی تغییر می‌کند. برای ساخت پایه‌ها از فرم‌های خودبالارونده‌ی خارجی استفاده شد، همچنین جابه‌جایی شاترهای داخلی نیز توسط جرثقیل برجی صورت گرفت.

دو پایه‌ی مرتفع پل یعنی P2 و P3 به‌ترتیب ۲۴۵ و ۲۲۳ مترارتفاع دارند. بلندترین جرثقیل برجی استفاده‌شده برای ساخت پل مربوط به پایه‌ی P2 بود که در نهایت به ارتفاع ۲۷۵ متر رسید. بنابراین در هر مرحله از ساخت پایه‌ لازم بود جرثقیل برجی به آن متصل شود. هر یک از پایه‌های پل روی ۴ چاه با قطرهای ۴ الی ۵ متری و عمق ۹ الی ۱۶ متری ساخته شده‌اند.

پایه های پل میلو

برج های پل میلو

بعد از مسدودسازی بالادست رودخانه‌ی تارن در تاریخ ۱۸ مه ۲۰۰۴ برج‌های پل میلو که در کارخانه‌های مختلف ساخته‌ شده و در منطقه‌ی پشت دیوارهای جانبی پل سرهم بندی شده بودند به‌صورت جداگانه توسط دو کراولر به داخل عرشه‌ی پل کشیده شدند. در عملیات ساخت پل وزن هر یک از محموله‌ی برج‌ها به هشت مگانیوتن رسید که آزمایش دشواری برای مقاومت سازه‌ی پل محسوب می‌شد. سپس برج‌های پل که به‌صورت افقی به محل استقرار خود کشیده شده بودند توسط کابل‌های متصل به یک برج موقت پشتیبان برافراشته شدند. عملیات ساخت برج‌ها پس از نصب و پیش‌کشیدگی کابل‌ها نگهدارنده توسط سیستم فریسینت به‌پایان رسید.

سیستم لانچینگ استفاده‌شده در عملیات ساخت پل میلو

عرشه‌ی تیرجعبه‌ای پل میلو توسط دو سیستم لانچینگ (سیستم جابه‌جایی افقی دهانه‌ها) از دو طرف پل ساخته شده؛ به‌نحوی که اتصال نهایی دهانه‌ها در بالای رود تارن و بین پایه‌های P2 و P3 صورت گرفت. در هر یک از دهانه‌ها به‌جز دهانه‌ی پایانی از سازه‌های پشتیبان موقت به‌شکل خرپا استفاده شد. به‌منظور کاهش طول دهانه‌ی لانچینگ در دهانه‌های میانی این سازه‌های پشتیبان موقت هر کدام به ابعاد ۱۲ در ۱۲ متر درست در وسط دهانه و در کنار دو خط از تجهیزات لانچینگ قرار گرفته بودند. سازه‌های پشتیبان در دهانه‌های کناری ساده‌تر، کوچک‌تر و تنها دارای یک خط از تجهیزات لانچینگ بودند.

ساخت پل میلو فرانسه

برای کاهش ممان خمشی در هنگام عملیات لانچینگ، هر یک از دو سازه‌ی لانچینگ به برج‌های جلویی و توسط شش کابل نگهدارنده متصل می‌شدند. برای کاهش تأثیر باد بر عملیات لانچینگ دهانه‌ها، ارتفاع برج‌ها بدون اتصال قسمت انتهایی آن‌ها از ۸۷ متر به ۷۰ متر محدود شده بود.

هر عملیات لانچینگ شامل جابه‌جایی ۱۷۱ متری دهانه‌‌ها می‌شد. جابه‌جایی اولین قطعه که پیچیده‌ترین قسمت عملیات بود پنج روز طول کشید. این در حالی‌که برای قطعات دیگر این زمان به شرط شرایط آب‌ و هوایی مناسب به سه روز کاهش یافت. اگر ایستگاه‌های هواشناسی وزش باد با سرعت بیش از ۳۷ کیلومتر بر ساعت را پیش‌بینی می‌کردند، شروع عملیات لانچینگ به تعویق می‌افتاد.

سیستم لانچینگ پل میلو در نوع خود مبتکرانه بود. به دلیل ارتفاع بسیار زیاد پایه‌ها لازم بود از توازن نیروهای اصطکاک در هر یک از سازه‌های پشتیبان اطمینان حاصل شود. از این‌رو هر یک از سازه‌های پشتیبان با یک نشیمنگاه لانچینگ فعال مجهز شده بودند. جک‌های هیدرولیکی افقی که در نشیمنگاه‌ها قرار گرفته بودند با دستور یک رایانه‌ی مرکزی سازه‌ها را به‌سمت جلو به‌حرکت در می‌آوردند. همچنین از سنسورها برای پایش میزان جابه‌جایی سازه‌های موقت پشتیبان استفاده ‌می‌شد چراکه میزان جابه‌جایی سازه‌های پشتیبان در طول عملیات لانچینگ باید با یکدیگر برابر می‌بودند.

میلو یک مثال خوب از پروژه‌ای حساب‌شده با هدفی حساب‌شده بود. این پل علاوه بر کارکردهای تزانزیتی و گره‌هایی که در زمینه‌ی ترافیکی گشود، به یکی از جاذبه‌های گردشگری منطقه نیز تبدیل شد. شمار زیادی از گردشگران در مقاطع مختلف سال حین گذر از این پل، توقف کرده و زمانی را به تماشای منظره‌ی اطراف یا ثبت تصاویر می‌پردازند. توقف‌ها گردشگران روی پل درنهایت باعث شد تا سرعت مجاز تردد روی جاده‌ی پل از ۱۳۰ کیلومتردرساعت به ۱۱۰ کیلومتردرساعت کاهش یابد.

تبلیغات
در حال مطالعه لیست مطالعاتی هستی
0
1
2
3
4
5
6
7
8
9
10
11
12
13
14
15
16
17
18
19
تبلیغات

نظرات