سرفیس پن نسل جدید به پوشش پارچه‌ای مزین می‌شود؟

یک‌شنبه 16 شهریور 1399 - 10:00
مطالعه 2 دقیقه
پتنت جدید مایکروسافت که جزئیات آن اخیرا منتشر شده نشان می‌دهد طراحان این شرکت ایده‌ی اضافه کردن پوشش پارچه‌ای را به قلم لمسی سرفیس پن مطرح کرده‌اند.
تبلیغات

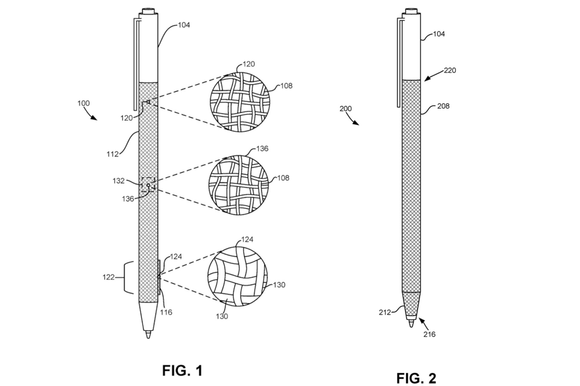
طراحان مایکروسافت همواره در تلاش هستند تا بتوانند راهکارهای جدیدی برای بهبود تجربه‌ی کاربری قلم لمسی سرفیس پن (Microsoft Surface Pen) ارائه دهند. جدیدترین ایده‌ی مطرح‌شده توسط مهندسان مایکروسافت، کمی عجیب و دور از انتظار به‌نظر می‌رسد. ظاهرا مایکروسافت در تاریخ ۱۰ فوریه‌ی ۲۰۲۰ (۲۱ بهمن ۱۳۹۹) پتنت جدیدی ثبت کرده که جزئیات آن به‌تازگی دردسترس رسانه‌ها قرار گرفته است. پتنت موردبحث راهکاری ساده برای «اضافه‌ کردن پوششی از جنس پارچه برای دستگاهی الکترونیکی» ارائه می‌دهد. این دستگاه الکترونیکی به‌طور مشخص به سرفیس پن اشاره می‌کند. 

مایکروسافت در بخش توضیحات پتنت می‌نویسد این پتنت به راهکارهایی برای اضافه کردن پوشش پارچه‌ای به دستگاه‌های الکترونیکی و روش ساخت این پارچه اشاره می‌کند. مایکروسافت مثال‌هایی نیز ارائه می‌دهد. در یک مثال به پوششی پارچه‌ای برای دستگاهی الکترونیکی اشاره می‌شود که شامل یک یا تعداد بیشتری الیاف ساختاری است که به‌منظور تولید پوشش لوله‌مانند یکپارچه، در هم بافته شده‌اند.

پتنت سرفیس پن / Surface Pen مایکروسافت با پوشش پارچه

مایکروسافت می‌نویسد:‌ «این لوله‌ی یکپارچه به‌گونه‌ای طراحی شده است که بتواند حداقل بخشی از دستگاه الکترونیکی مدنظر را بپوشاند. پوشش پارچه‌ای همچنین شامل یک یا تعداد بیشتری الیاف ویژه است که در اثر گرما منقبض می‌شوند. پوشش پارچه‌ای از یک یا چند الیاف چسبناک نیز بهره‌مند است که به درون لوله‌ی یکپارچه بافته شده‌اند. الیاف‌هایی منقبض‌شونده با گرما، در زمانی‌که لوله‌ی یکپارچه بیشتر از حد معمول گرم شود منقبض می‌شوند تا خود لوله‌ی یکپارچه در اطراف دستگاه الکترونیکی، منقبض شود». 

مایکروسافت سابقه‌ی استفاده از پوشش پارچه‌ای در محصولاتش دارد و پیش‌تر لپ‌تاپ‌هایی با پوششی از آلکانترا روانه‌ی بازار کرده است. مایکروسافت می‌گوید پوشاندن دستگاه‌های الکترونیکی با پارچه می‌تواند باعث جذاب شدن ظاهر آن‌ها شود. با همه‌ی این‌ها پوشش پارچه‌ای جرم نسبتا زیادی به‌خود جذب می‌کند. ثبت شدن یک ایده در قالب پتنت، لزوما به این معنی نیست که ایده‌ی موردبحث به‌مرحله‌ی عملیاتی می‌رسد. تاکنون بارها به پتنت‌هایی اشاره کرده‌ایم که هرگز به محصولی واقعی تبدیل نشدند. بنابراین ممکن است هیچ‌گاه شاهد تولید سرفیس پن با پوشش پارچه‌ای نباشیم. 

شما کاربران زومیت چه دیدگاهی در این زمینه دارید؟

تبلیغات
تبلیغات

نظرات