مایکروسافت برای افزایش دقت قلم سرفیس پتنت جدیدی ثبت کرد

شنبه 27 بهمن 1397 - 22:45
مطالعه 3 دقیقه
قلم سرفیس یکی از لوازم جانبی جذاب و پرکاربرد تبلت‌های مایکروسافت محسوب می‌شود. ردموندی‌ها پتنتی جدید برای افزایش دقت این قلم ثبت کردند.
تبلیغات

مایکروسافت طرحی جدید برای بهبود دقت قلم هوشمند خود دارد. قطعا کاربران قلم‌های هوشمند Surface Pen با شنیدن این خبر بیش‌ از همه خوشحال می‌شوند. پتنتی که اخیرا ردموندی‌ها ثبت کرده‌اند، به‌نام Active Stylus Motion Vector شناخته می‌شود که به‌احتمال زیاد، مرتبط‌با بهبود عملکرد قلم هوشمند سرفیس خواهد بود.

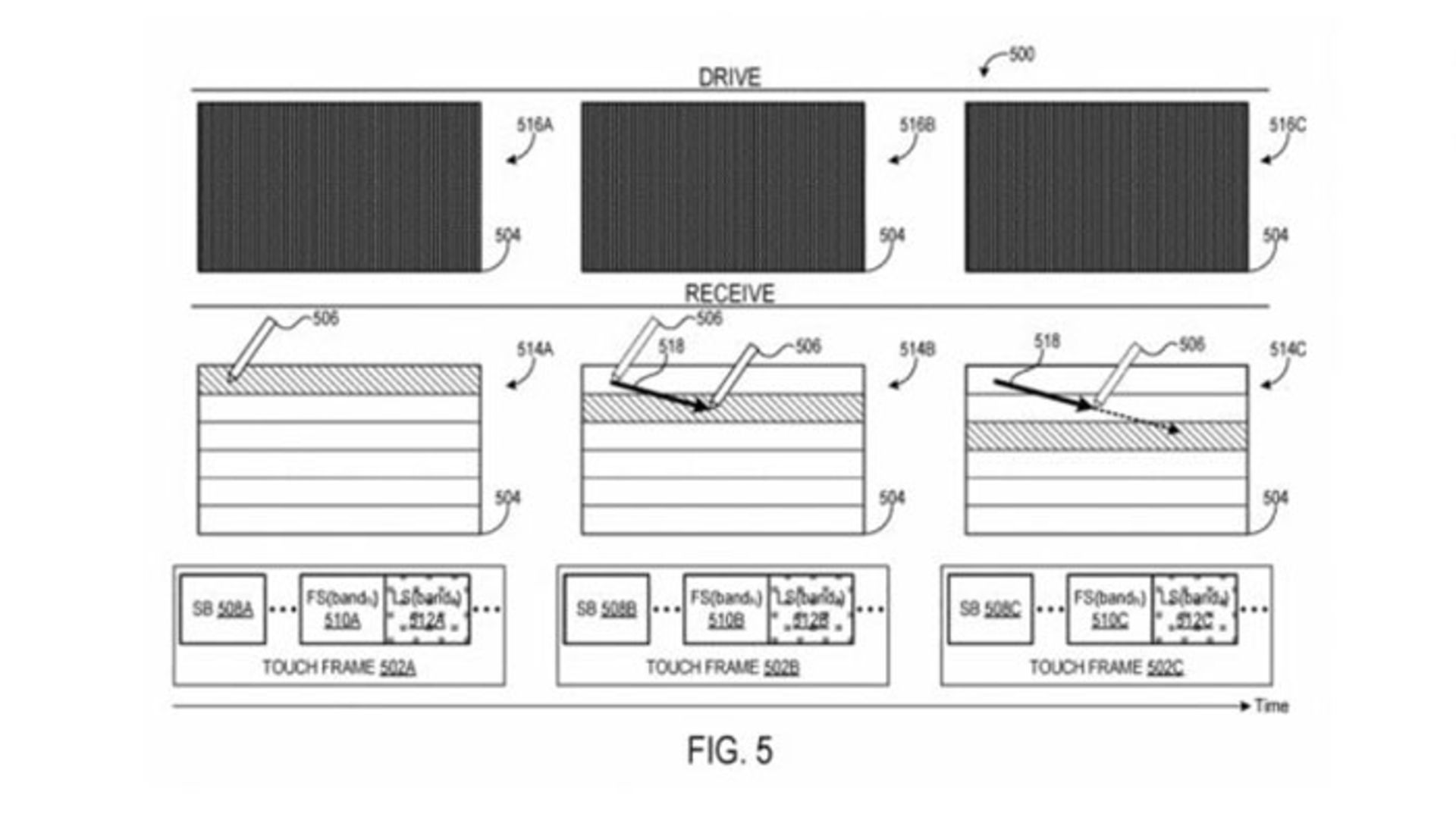
پتنت اخیر مایکروسافت به‌طور کلی به هماهنگی و اتصال قلم هوشمند با صفحه‌ی لمسی ارتباط دارد. در جزئیات پتنت، اشاره‌ای هم به عملکرد حسگر لمسی برای موقعیت‌دهی قلم شده است. موقعیت‌دهی با اسکن‌کردن مناطق مختلف و هدف کشف نزدیک‌شدن قلم هوشمند انجام می‌شود.

برای رسیدن به هدف اشاره شده، مهندسان باید تعادلی بین فرکانس اسکن صفحه‌ی لمسی و دقت موقعیت‌یابی قلم به‌دست بیاورند. در متن پتنت آمده است:

حسگر لمسی می‌تواند دقت مکان‌یابی قلم استایلوس را با صرف زمان بیشتر افزایش دهد. به‌هرحال، افزایش زمان اسکن نرخ به‌روزرسانی را کاهش خواهد داد و درنتیجه، به لمس‌های قلم دشوارتر و با تأخیر بیشتر پاسخ داده می‌شود.

به‌بیان ساده‌تر، افزایش دقت در مکان‌یابی قلم استایلوس امکان ایجاد لگ در نوشتن یا نقاشی‌کشیدن را افزایش می‌دهد. درمقابل، کاهش زمان اسکن برای نرم‌ترکردن فرایند لمس، دقت موقعیت‌یابی قلم را کاهش می‌دهد. راهکار مایکروسافت برای بهینه‌سازی تعادل در دقت مکان‌یابی قلم و قابلیت‌های لمسی ایجاد بردار حرکتی برای ارتباط قلم با صفحه‌ی لمسی است.

پتنت قلم سرفیس

با استفاده از روش جدید مایکروسافت، پس از درنظرگرفتن مسیر حرکت، صفحه‌ی لمسی می‌تواند مناطق اسکن‌شده‌ی خود را به بخش‌هایی محدود کند که حرکت بعدی قلم به‌سمت آن‌ها پیش‌بینی می‌شود. درنتیجه، فعالیت‌های اسکن در صغحه‌نمایش کاهش پیدا می‌کند و هم‌زمان دقت مکان‌یابی قلم نیز بیشتر می‌شود.

نوشتن بهتر با پیش‌بینی حرکت

کاربران به درک تمامی جزئیات پتنت جدید مایکروسافت نیازی ندارند. تنها باید بدانیم ردموندی‌ها درحال‌تلاش برای بهبود ارتباط بین صفحه‌ی لمسی و قلم استایلوس هستند. نتیجه‌ی احتمالی نهایی کارکرد بهتر قلم سرفیس خواهد بود. دلیل احتمالی‌بودن جمله‌ی قبل نیز آن بوده که در‌حال‌حاضر، طرح موجود فقط پتنت است و شاید مهندسان مایکروسافت هیچ‌گاه آن را در دنیای واقعی اجرا نکنند.

یکی از مهندسانی که در متن پتنت به‌عنوان همکار به آن اشاره شد، جاناتان وستوس، مدیر ارشد تحقیقات مایکروسافت است. او قبلا مدیریت تیم تحقیقات صفحه‌ی لمسی خازنی و کنترلر استایلوس را در پروژه‌ی Surface Hub برعهده داشت. جاناتان در صفحه‌ی اختصاصی‌اش در وب‌سایت مایکروسافت می‌گوید:

به رابط‌های کاربری مبتنی بر خازن‌ها علاقه‌مندم. به‌علاوه، به‌کارگیری مفاهیمی از پردازش سیگنال و ارتباط‌های دیجیتال برای بهبود کارایی سیستم‌های مذکور، زمینه‌ی فعالیت من است. پروژه‌ی کنونی من به رابط‌هایی تعلق دارد که فیزیک مشابهی دارند؛ اما فراتر از لمس یا قلم استایلوس تعریف می‌شوند.  

نظرات